БЛОК ЦИЛИНДРОВ ПРОВЕРКА
ПОРЯДОК ВЫПОЛНЕНИЯ
ПРОВЕРЬТЕ КОРОБЛЕНИЕ БЛОКА ЦИЛИНДРОВ
-
С помощью поверочной линейки и комплекта плоских щупов измерьте коробление поверхности, соприкасающейся с прокладкой головки блока цилиндров.
Максимально допустимая величина коробления
0,05 мм (0,00197 дюйма)
Если коробление превышает максимально допустимую величину, замените блок цилиндров в сборе.
-
ПРОВЕРЬТЕ ОТВЕРСТИЕ ПОД ЦИЛИНДР
-
*a
Направление тяги
*b
Осевое направление

Вперед
С помощью нутромера измерьте диаметр отверстия под цилиндр в точках А и В как в осевом, так и в радиальном направлении.
Диаметр для справки (новые детали)
80,500 - 80,513 мм (3,169 - 3,170 дюйма)
Максимальный диаметр
80,633 мм (3,175 дюйма)
Точка измерения
Точка измерения
Положение отверстия цилиндра
A
10 мм (0,394 дюйма) от верхнего края
B
50 мм (1,97 дюйма) от верхнего края
Если усредненный по 4 измерениям диаметр превышает максимальную величину, замените блок цилиндров.
-
ПРОВЕРЬТЕ ПОРШЕНЬ
Скребком для удаления остатков прокладок снимите нагар с верхней части поршня.
С помощью инструмента для очистки канавок или сломанного поршневого кольца очистите поршневые канавки.
Используя растворитель и щетку, тщательно очистите поршень.
Note:Не пользуйтесь проволочной щеткой.
-
*a
10 мм (0,394 дюйма)
С помощью микрометра измерьте диаметр поршня на расстоянии 10,0 мм (0,394 дюйма) от нижнего края поршня (см. рисунок).
Справочный диаметр поршня (новые детали)
80,471 - 80,491 мм (3,168 - 3,169 дюйма)
Если диаметр не соответствует требованиям, замените поршень и поршневой палец.
ПРОВЕРЬТЕ МАСЛЯНЫЙ ЗАЗОР ПОРШНЯ
Отнимите от измеренного диаметра цилиндра измеренный диаметр поршня.
Масляный зазор для справки (новые детали)
0,009 - 0,042 мм (0,000354 - 0,001654 дюйма)
Максимальный допустимый масляный зазор
0,08 мм (0,00315 дюйма)
Если масляный зазор превышает максимально допустимую величину, замените все поршни с поршневыми пальцами. При необходимости замените блок цилиндров в сборе.
ПРОВЕРЬТЕ ЗАЗОР КАНАВКИ КОЛЬЦА
Tip:
*a
Для типа X
*b
Для типа Y
Тип Х и тип Y различаются формой маслосъемного кольца.
С помощью комплекта плоских щупов измерьте зазор между новым поршневым кольцом и стенкой канавки кольца.
Номинальный зазор канавки под кольцо (для типа Х)
Параметр / Устройство
Номинальное сопротивление
Компрессионное кольцо № 1
0,02 - 0,07 мм (0,000787 - 0,00276 дюйма)
Компрессионное кольцо № 2
0,02 - 0,06 мм (0,000787 - 0,00236 дюйма)
Маслосъемное кольцо
0,02 - 0,065 мм (0,000787 - 0,00256 дюйма)
Номинальный зазор канавки под кольцо (для типа Y)
Параметр / Устройство
Номинальное сопротивление
Компрессионное кольцо № 1
0,02 - 0,07 мм (0,000787 - 0,00276 дюйма)
Компрессионное кольцо № 2
0,02 - 0,06 мм (0,000787 - 0,00236 дюйма)
Маслосъемное кольцо
0,07 - 0,12 мм (0,00276 - 0,00472 дюйма)
Если зазор канавки не соответствует требованиям, замените поршень и поршневой палец.
ПРОВЕРЬТЕ ЗАЗОР РАЗРЕЗА ПОРШНЕВОГО КОЛЬЦА
Tip:
*a
Для типа X
*b
Для типа Y
Тип Х и тип Y различаются формой маслосъемного кольца.
С помощью поршня протолкните поршневое кольцо так, чтобы оно слегка выступало за нижний предел хода кольца, на расстоянии 50 мм (1,97 дюйма) от верхней части блока цилиндров.
С помощью комплекта плоских щупов измерьте зазор разреза.
Номинальный зазор разреза (для типа X)
Параметр
Номинальное сопротивление
Компрессионное кольцо № 1
0,2-0,25 мм (0,00787-0,00984 дюйма)
Компрессионное кольцо № 2
0,3 - 0,5 мм (0,0118 - 0,0197 дюйма)
Маслосъемное кольцо
0,1 - 0,3 мм (0,00394 - 0,0118 дюйма)
Номинальный зазор разреза (для типа Y)
Параметр
Номинальное сопротивление
Компрессионное кольцо № 1
0,2-0,25 мм (0,00787-0,00984 дюйма)
Компрессионное кольцо № 2
0,3 - 0,5 мм (0,0118 - 0,0197 дюйма)
Маслосъемное кольцо
0,1 - 0,35 мм (0,00394 - 0,0138 дюйма)
Максимальный зазор разреза
Наименование
Номинальное сопротивление
Компрессионное кольцо № 1
0,5 мм (0,0197 дюйма)
Компрессионное кольцо № 2
0,7 мм (0,0276 дюйма)
Маслосъемное кольцо
0,7 мм (0,0276 дюйма)
Если величина зазора разреза превышает максимально допустимое значение, замените поршневое кольцо. Если величина зазора разреза превышает максимально допустимое значение даже после установки нового поршневого кольца, замените блок цилиндров в сборе.
ПРОВЕРЬТЕ МАСЛЯНЫЙ ЗАЗОР ПОРШНЕВОГО ПАЛЬЦА
Tip:Для поршня с пальцем существует только 1 тип поставляемой детали.
-
С помощью индикатора часового типа для отверстий измерьте диаметр отверстия под поршневой палец.
Номинальный диаметр отверстия под поршневой палец
Параметр / Устройство
Номинальное значение
Метка A
20,006 - 20,009 мм (0,78764 - 0,78775 дюйма)
Метка B
20,010 - 20,012 мм (0,78779 - 0,78787 дюйма)
Метка C
20,013 - 20,015 мм (0,78791 - 0,78799 дюйма)
Если диаметр не соответствует требованиям, замените поршень вместе с поршневым пальцем.
-
Микрометром измерьте диаметр поршневого пальца.
Номинальный диаметр поршневого пальца
Наименование
Номинальное значение
Метка A
20,004 - 20,007 мм (0,78756 - 0,78768 дюйма)
Метка B
20,008 - 20,010 мм (0,78771 - 0,78779 дюйма)
Метка C
20,011 - 20,013 мм (0,78783 - 0,78791 дюйма)
Точка измерения
Точка измерения
Положение поршневого пальца
a
25 мм (0,984 дюйма) от боковой кромки
b
5 мм (0,197 дюйма) от боковой кромки
Если диаметр не соответствует требованиям, замените поршень вместе с поршневым пальцем.
С помощью индикатора часового типа для отверстий измерьте диаметр отверстия малого конца шатуна.
Номинальный внутренний диаметр малого конца шатуна
Параметр
Номинальное значение
Метка A
20,012 - 20,015 мм (0,78787 - 0,78799 дюйма)
Метка B
20,016 - 20,018 мм (0,78803 - 0,78811 дюйма)
Метка C
20,019 - 20,021 мм (0,78815 - 0,78823 дюйма)
Если диаметр не соответствует заданному, замените втулку малого конца шатуна.
-
*a
Верхняя сторона
*b
Нижняя сторона
*c
Метка внешней стороны
*d
Метка диаметра отверстия поршневого пальца
*e
Метка диаметра отверстия малого конца шатуна
Вычтите измеренное значение диаметра поршневого пальца из измеренного значения диаметра отверстия под поршневой палец.
Номинальный масляный зазор
-0,001 - 0,005 мм (-0,0000394 - 0,000197 дюйма)
Максимальный допустимый масляный зазор
0,008 мм (0,000315 дюйма)
Если масляный зазор превышает максимально допустимый, замените втулку малого конца шатуна. При необходимости замените поршень в комплекте с поршневым пальцем.
Вычтите измеренное значение диаметра поршневого пальца из измеренного значения диаметра отверстия малого конца шатуна.
Номинальный масляный зазор
0,005 - 0,011 мм (0,000197 - 0,000433 дюйма)
Максимальный допустимый масляный зазор
0,014 мм (0,000551 дюйма)
Если масляный зазор превышает максимально допустимый, замените втулку малого конца шатуна. При необходимости замените поршень в комплекте с поршневым пальцем.
-
ПРОВЕРЬТЕ ШАТУН
-
С помощью устройства для проверки кривизны шатуна и комплекта плоских щупов проверьте кривизну шатун.
Проверьте наличие изгибов.
Максимально допустимый изгиб
0,05 мм (0,00197 дюйма) на 100 мм (3,94 дюйма)
Если изгиб превышает максимально допустимую величину, замените шатун.
-
Убедитесь в отсутствии скручивания.
Максимально допустимое скручивание
0,15 мм (0,00591 дюйма) на 100 мм (3,94 дюйма)
Если скручивание превышает максимально допустимую величину, замените шатун.
-
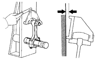
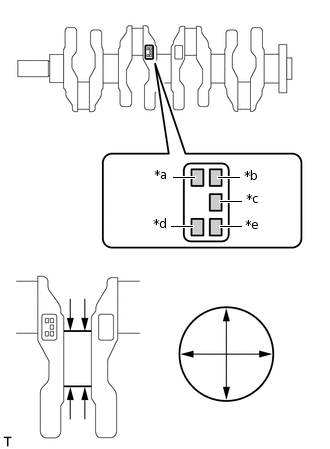
ПРОВЕРЬТЕ КОЛЕНЧАТЫЙ ВАЛ
Проверьте радиальное биение.
Используя V-образные призмы и индикатор часового типа, измерьте радиальное биение.
Максимальное радиальное биение
0,03 мм (0,00118 дюйма)
Если радиальное биение превышает максимально допустимую величину, замените коленчатый вал.
Проверьте коренные шейки.
-
*a
№ 1
*b
№ 2
*c
№ 3
*d
№ 4
*e
№ 5
Микрометром измерьте диаметр каждой коренной шейки.
Номинальный диаметр
47,988-48,000 мм (1,8893-1,8898 дюйма)
Если диаметр не соответствует требованиям, проверьте масляный зазор коленчатого вала.
Для каждой коренной шейки проверьте конусность и овальность, как показано на рисунке.
Максимально допустимая конусность и овальность
0,004 мм (0,000157 дюйма)
Если величины конусности и овальности превышают максимально допустимое значение, замените коленчатый вал.
Номинальный диаметр (для справки)
Параметр
Номинальное сопротивление
Метка 0
47,999 - 48,000 мм (1,88972 - 1,88976 дюйма)
Метка 1
47,997 - 47,998 мм (1,88964 - 1,88968 дюйма)
Метка 2
47,995 - 47,996 мм (1,88956 - 1,88960 дюйма)
Метка 3
47,993 - 47,994 мм (1,88948 - 1,88952 дюйма)
Метка 4
47,991 - 47,992 мм (1,88941 - 1,88945 дюйма)
Метка 5
47,988 - 47,990 мм (1,88929 - 1,88937 дюйма)
-
Проверьте штифты коленчатого вала.
-
Микрометром измерьте диаметр каждого штифта коленчатого вала.
Номинальный диаметр
46,992 - 47,000 мм (1,85008 - 1,85039 дюйма)
Если диаметр не соответствует требованиям, проверьте масляный зазор шатуна.
Проверьте конусность и овальность каждой шатунной шейки.
Максимально допустимая конусность и овальность
0,004 мм (0,000157 дюйма)
Если конусность и деформация превышают максимально допустимые величины, замените коленчатый вал.
-
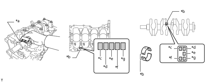
ПРОВЕРЬТЕ МАСЛЯНЫЙ ЗАЗОР КОЛЕНЧАТОГО ВАЛА
Убедитесь в отсутствии на подшипниках и шейках коленчатого вала следов точечной коррозии и царапин.
Установите подшипники коленчатого вала.
Нажмите здесьЩелкните по следующей ссылке
Установите верхние упорные шайбы коленчатого вала.
Нажмите здесьЩелкните по следующей ссылке
Очистите все коренные шейки и подшипники коленчатого вала.
Установите коленчатый вал в блок цилиндров.
-
*a
Сминаемый пластмассовый калибр Plastigage
На каждую шейку положите сминаемый пластичный калибр (Plastigage).
Проверьте метки и номера на внешней стороне, после чего установите крышки подшипников коленчатого вала на блок цилиндров.
Tip:На крышке каждого подшипника коленчатого вала промаркирован номер, указывающий установочную позицию.
Установите крышки подшипников коленчатого вала.
Нажмите здесьЩелкните по следующей ссылке
Note:Не поворачивайте коленчатый вал.
Снимите крышки подшипников коленчатого вала.
Нажмите здесьЩелкните по следующей ссылке
Измерьте ширину сминаемого пластичного калибра Plastigage в самой широкой точке.
*a
Сминаемый пластмассовый калибр Plastigage
*b
Метка с номером
*c
№ 1
*d
№ 2
*e
№ 3
*f
№ 4
*g
№ 5
-
-
Номинальный масляный зазор
0,016 - 0,039 мм (0,000630 - 0,00154 дюйма)
Максимальный допустимый масляный зазор
0,050 мм (0,00197 дюйма)
Если масляный зазор превышает максимально допустимую величину, замените подшипник коленчатого вала. При необходимости замените коленчатый вал.
Note:Полностью удалите сминаемый пластичный калибр после завершения измерений.
Tip:В случае замены подшипника коленчатого вала новый подшипник должен иметь такой же номер, что был у прежнего. Если номер подшипника коленчатого вала определить не удается, вычислите надлежащий номер, сложив номера, указанные на блоке цилиндров и коленчатом валу. Затем выберите новый подшипник коленчатого вала с номером, рассчитанным по приведенной ниже таблице. Существуют 4 стандартных типоразмера подшипников коленчатого вала, маркируемые "1", "2", "3" и "4", соответственно.
Пример:
"3" на блоке цилиндров + "5" на коленчатом валу = суммарный номер 8 (следует использовать подшипник коленчатого вала "3")
Table 1. Таблица подшипников Блок цилиндров + Коленчатый вал
Используемый подшипник
0 - 2
"1"
3 - 5
"2"
6 - 8
"3"
9 - 11
"4"
Номинальный диаметр отверстия шейки в блоке цилиндров
Параметр / Устройство
Номинальное сопротивление
Метка 0
52,000 - 52,002 мм (2,04724 - 2,04732 дюйма)
Метка 1
52,003 - 52,004 мм (2,04736 - 2,04740 дюйма)
Метка 2
52,005 - 52,006 мм (2,04744 - 2,04748 дюйма)
Метка 3
52,007 - 52,009 мм (2,04752 - 2,04759 дюйма)
Метка 4
52,010 - 52,011 мм (2,04763 - 2,04767 дюйма)
Метка 5
52,012 - 52,013 мм (2,04771 - 2,04775 дюйма)
Метка 6
52,014 - 52,016 мм (2,04779 - 2,04787 дюйма)
Номинальный диаметр шейки коленчатого вала
Позиция
Номинальное сопротивление
Метка 0
47,999 - 48,000 мм (1,88972 - 1,88976 дюйма)
Метка 1
47,997 - 47,998 мм (1,88964 - 1,88968 дюйма)
Метка 2
47,995 - 47,996 мм (1,88956 - 1,88960 дюйма)
Метка 3
47,993 - 47,994 мм (1,88948 - 1,88952 дюйма)
Метка 4
47,991 - 47,992 мм (1,88941 - 1,88945 дюйма)
Метка 5
47,988 - 47,990 мм (1,88929 - 1,88937 дюйма)
Номинальная толщина центральной стенки подшипника
Параметр / Устройство
Номинальное значение
Метка 1
1,994 - 1,997 мм (0,07850 - 0,07862 дюйма)
Метка 2
1,998 - 2,000 мм (0,07866 - 0,07874 дюйма)
Метка 3
2,001 - 2,003 мм (0,07878 - 0,07886 дюйма)
Метка 4
2,004 - 2,006 мм (0,07890 - 0,07898 дюйма)
ПРОВЕРЬТЕ БОЛТ КРЫШКИ ПОДШИПНИКА КОЛЕНЧАТОГО ВАЛА
-
*a
Измеренная длина
*b
Диапазон измерений
*c
Расстояние
С помощью штангенциркуля измерьте длину болта (от посадочной поверхности до головки) крышки подшипника коленчатого вала.
Номинальная длина
84,3 - 85,7 мм (3,32 - 3,37 дюйма)
Максимально допустимая длина
86,7 мм (3,41 дюйма)
Если длина превышает максимально допустимую величину, замените болт крышки подшипника коленчатого вала.
С помощью штангенциркуля измерьте диаметр удлиненного резьбового участка в зоне измерения.
Номинальный диаметр
9,77-9,96 мм (0,385-0,392 дюйма)
Минимально допустимый диаметр
9,1 мм (0,358 дюйма)
Расстояние
55,0 мм (2,17 дюйма)
Если диаметр меньше минимально допустимого, замените болт крышки подшипника коленчатого вала.
-
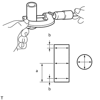
ПРОВЕРЬТЕ БОЛТ ШАТУНА
-
*a
Часть, испытывающая напряжение
С помощью штангенциркуля измерьте диаметр напряженной части болта шатуна.
Номинальный диаметр
6,6–6,7 мм (0,260–0,264 дюйма)
Минимально допустимый диаметр
6,4 мм (0,252 дюйма)
Если диаметр меньше минимально допустимого, замените болт шатуна.
-
ПРОВЕРЬТЕ МАСЛЯНУЮ ФОРСУНКУ № 1 В СБОРЕ
-
*a
Колпачок
Введите в обратный клапан штифт, чтобы проверить, не залип ли он.
Если обнаружено залипание, замените масляную форсунку № 1.
Нажмите на обратный клапан штифтом и убедитесь, что он перемещается плавно.
Если он перемещается не плавно, очистите или замените масляную форсунку № 1.
-
Подайте воздух в патрубок A. Убедитесь в отсутствии утечки воздуха через патрубок B.
Если происходит утечка воздуха, очистите или замените масляную форсунку № 1.
-
*a
Колпачок
Нажмите на обратный клапан со штифтом, одновременно подавая воздух в патрубок А. Убедитесь, что воздух проходит через патрубок В.
Если воздух не выходит через отверстие B, очистите или замените масляную форсунку № 1.
-