СИСТЕМА ПОДУШЕК БЕЗОПАСНОСТИ SRS, диагностические DTC: B1835, B1836, B1837 и B1838

Код DTC Наименование DTC
B1835 Короткое замыкание в цепи пиропатрона левой подушки безопасности занавесочного типа
B1836 Обрыв в цепи пиропатрона левой подушки безопасности занавесочного типа
B1837 Короткое замыкание (на массу) в цепи пиропатрона левой подушки безопасности занавесочного типа
B1838 Короткое замыкание в цепи пиропатрона левой подушки безопасности занавесочного типа (на +B)

ОПИСАНИЕ

Цепь пиропатрона левой подушки безопасности занавесочного типа включает блок управления системы SRS и левую подушку безопасности занавесочного типа в сборе.

Центральный блок управления системы SRS использует эту цепь для развертывания подушки безопасности, когда выполняются условия развертывания.

Данные коды DTC регистрируются при обнаружении неисправности в цепи пиропатрона левой подушки безопасности занавесочного типа.

№ DTC

Неисправность

Условие обнаружения DTC

Неисправный участок

Индикация предупреждения

Режим диагностики / режим проверки

B1835

Короткое замыкание в цепи пиропатрона левой подушки безопасности занавесочного типа

  • Блок управления системы SRS обнаруживает короткое замыкание в цепи пиропатрона левой подушки безопасности занавесочного типа в ходе выполнения первичной проверки.

  • Неисправность пиропатрона левой подушки безопасности занавесочного типа

  • Неисправность блока управления системы SRS

  • Напольный провод

  • Пиропатрон левой подушки безопасности занавесочного типа (левая подушка безопасности занавесочного типа в сборе)

  • Центральный блок управления системы SRS

Загорается

Относится к режиму проверки

B1836

Обрыв в цепи пиропатрона левой подушки безопасности занавесочного типа

  • Центральный блок управления системы SRS обнаруживает обрыв в цепи пиропатрона левой подушки безопасности занавесочного типа.

  • Неисправность пиропатрона левой подушки безопасности занавесочного типа

  • Неисправность блока управления системы SRS

  • Напольный провод

  • Пиропатрон левой подушки безопасности занавесочного типа (левая подушка безопасности занавесочного типа в сборе)

  • Центральный блок управления системы SRS

Загорается

Относится к режиму проверки

B1837

Короткое замыкание (на массу) в цепи пиропатрона левой подушки безопасности занавесочного типа

  • Блок управления системы SRS обнаруживает короткое замыкания на массу в цепи пиропатрона левой подушки безопасности занавесочного типа.

  • Неисправность пиропатрона левой подушки безопасности занавесочного типа

  • Неисправность блока управления системы SRS

  • Напольный провод

  • Пиропатрон левой подушки безопасности занавесочного типа (левая подушка безопасности занавесочного типа в сборе)

  • Центральный блок управления системы SRS

Загорается

Относится к режиму проверки

B1838

Короткое замыкание в цепи пиропатрона левой подушки безопасности занавесочного типа (на +B)

  • Блок управления системы SRS обнаруживает короткое замыкания на B+ в цепи пиропатрона левой подушки безопасности занавесочного типа.

  • Неисправность пиропатрона левой подушки безопасности занавесочного типа

  • Неисправность блока управления системы SRS

  • Напольный провод

  • Пиропатрон левой подушки безопасности занавесочного типа (левая подушка безопасности занавесочного типа в сборе)

  • Центральный блок управления системы SRS

Загорается

Относится к режиму проверки

СХЕМА ЭЛЕКТРИЧЕСКИХ СОЕДИНЕНИЙ

B475055E38

ПРЕДОСТЕРЕЖЕНИЕ / ПРИМЕЧАНИЕ / УКАЗАНИЕ

Note:

После выключения двигателя следует подождать некоторое время, прежде чем отсоединять провод от отрицательного (–) вывода аккумуляторной батареи. Поэтому, прежде чем приступать к этой работе, обязательно ознакомьтесь с примечанием относительно отсоединения провода от отрицательного (-) вывода аккумуляторной батареи.

Нажмите здесьЩелкните по следующей ссылкеЩелкните по следующей ссылке

Tip:

ПОРЯДОК ВЫПОЛНЕНИЯ

  1. ПРОВЕРЬТЕ РАЗЪЕМЫ

    1. C238350C01

      *1

      Левая подушка безопасности занавесочного типа в сборе

      *2

      Центральный блок управления системы SRS

      *3

      Напольный провод

      Выключите зажигание.

    2. Отсоедините провод от отрицательного (-) вывода аккумуляторной батареи.

      CAUTION:

      После отсоединения провода от отрицательного (-) вывода аккумуляторной батареи подождите не менее 90 с, чтобы предотвратить срабатывание системы SRS.

    3. Проверьте правильность подключения разъемов к левой подушке безопасности занавесочного типа в сборе и блоку управления системы SRS.

      OK

      Разъемы подсоединены должным образом.

      Tip:

      Если разъемы подсоединены ненадежно, подсоедините их и перейдите к следующей проверке.

    4. Отсоедините разъемы от левой подушки безопасности занавесочного типа и центрального блока управления системы SRS.

    5. Убедитесь, что контакты разъемов не деформированы и не повреждены.

      OK

      Контакты не деформированы и не повреждены.

    6. Убедитесь, что разъем напольного провода (со стороны левой подушки безопасности занавесочного типа) не ослаблен, не деформирован и не поврежден.

      СООТВ

      Кнопка блокировки разъема подушки безопасности не освобождена, защелка замка не деформирована и не повреждена.

    7. Убедитесь, что короткие пружины механизма предотвращения срабатывания в разъеме напольного провода не деформированы и не повреждены.

      OK

      Короткие пружины не деформированы и не повреждены.

    Result

    Перейти к

    OK

    НЕ СООТВ.

    НЕ СООТВ.

    ЗАМЕНИТЕ НАПОЛЬНЫЙ ПРОВОД

    СООТВ
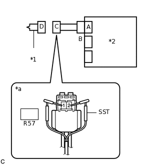
  2. ПРОВЕРЬТЕ ЛЕВУЮ ПОДУШКУ БЕЗОПАСНОСТИ ЗАНАВЕСОЧНОГО ТИПА В СБОРЕ

    1. C238355C17

      *1

      Левая подушка безопасности занавесочного типа в сборе

      *2

      Блок управления системы SRS

      *a

      Вид спереди разъема со стороны жгута проводов:

      (к левой подушке безопасности занавесочного типа в сборе)

      Подсоедините разъем к блоку управления системы SRS.

    2. Подсоедините SST (сопротивление 2,1 Ом) к разъему С.

      CAUTION:

      Никогда не подключайте для измерения диагностический прибор к левой подушке безопасности занавесочного типа в сборе, так как это может привести к серьезной травме вследствие срабатывания подушки безопасности.

      Note:
      • При подсоединении не следует вставлять SST в контакты разъема с усилием.

      • Вставляйте SST в контакты разъема по прямой.

    3. Подсоедините провод к отрицательному (-) выводу аккумуляторной батареи.

    4. Установите замок зажигания в положение ON (ВКЛ) и подождите не менее 60 секунд.

    5. Удалите коды DTC, сохраненные в памяти.

      Body Electrical > SRS Airbag > Clear DTCs

    6. Выключите зажигание.

    7. Установите замок зажигания в положение ON (ВКЛ) и подождите не менее 60 секунд.

    8. Проверьте наличие кодов DTC.

      Body Electrical > SRS Airbag > Trouble Codes

      OK

      DTC B1835, B1836, B1837 или B1838 не выводится.

      Tip:

      На этом этапе могут выводиться коды, отличные от кодов DTC B1835, B1836, B1837 и B1838, однако они не связаны с данной проверкой.

    9. Выключите зажигание.

    10. Отсоедините провод от отрицательного (-) вывода аккумуляторной батареи.

      CAUTION:

      После отсоединения провода от отрицательного (-) вывода аккумуляторной батареи подождите не менее 90 с, чтобы предотвратить срабатывание системы SRS.

    11. Отсоедините SST от разъема С.

    09843-18061

    Результат

    Перейти к

    OK

    НЕ СООТВ.

    OK

    ЗАМЕНИТЕ ЛЕВУЮ ПОДУШКУ БЕЗОПАСНОСТИ ЗАНАВЕСОЧНОГО ТИПА В СБОРЕ

    NG
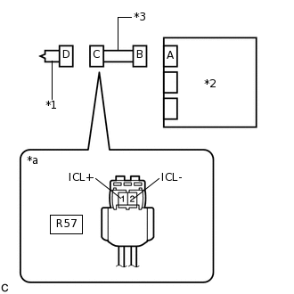
  3. ПРОВЕРЬТЕ НАПОЛЬНЫЙ ПРОВОД

    1. C238356C26

      *1

      Левая подушка безопасности занавесочного типа в сборе

      *2

      Центральный блок управления системы SRS

      *3

      Напольный провод

      *a

      Вид спереди разъема со стороны жгута проводов:

      (к левой подушке безопасности занавесочного типа в сборе)

      Отсоедините напольный провод от центрального блока управления системы SRS.

    2. Проверьте, нет ли в цепи короткого замыкания на B+.

      1. Подсоедините провод к отрицательному выводу (-) аккумуляторной батареи.

      2. Установите замок зажигания в положение ON (ВКЛ).

      3. Измерьте напряжение в соответствии со значениями, приведенными в таблице.

        Номинальное напряжение

        Подключение диагностического прибора

        Условие

        Заданные условия

        R57-1 (ICL+) - масса

        Зажигание включено

        Менее 1 В

        R57-2 (ICL-) - масса

        Зажигание включено

        Менее 1 В

      4. Выключите зажигание.

      5. Отсоедините провод от отрицательного (-) вывода аккумуляторной батареи.

        CAUTION:

        После отсоединения провода от отрицательного (-) вывода аккумуляторной батареи подождите не менее 90 с, чтобы предотвратить срабатывание системы SRS.

    3. Проверьте, нет ли в цепи обрыва.

      1. Измерьте сопротивление в соответствии со значениями, приведенными в таблице ниже.

        Номинальное сопротивление

        Подключение диагностического прибора

        Условие

        Заданные условия

        R57-1 (ICL+) - R57-2 (ICL-)

        Всегда

        Менее 1 Ом

    4. Проверьте, нет ли в цепи короткого замыкания на массу.

      1. Измерьте сопротивление в соответствии со значениями, приведенными в таблице.

        Номинальное сопротивление

        Подключение диагностического прибора

        Условие

        Заданные условия

        R57-1 (ICL+) - масса

        Всегда

        1 МОм или более

        R57-2 (ICL-) - масса

        Всегда

        1 МОм или более

    5. Проверьте, нет ли в цепи короткого замыкания.

      1. Разомкните механизм предотвращения срабатывания, встроенный в разъем B.

        Нажмите здесьЩелкните по следующей ссылке

      2. Измерьте сопротивление в соответствии со значениями, приведенными в таблице ниже.

        Номинальное сопротивление

        Подключение диагностического прибора

        Условие

        Заданные условия

        R57-1 (ICL+) - R57-2 (ICL-)

        Всегда

        1 МОм или более

      3. Верните механизм предотвращения срабатывания разъема B в исходное состояние.

    Result

    Перейти к

    OK

    НЕ СООТВ.

    НЕ СООТВ.

    ЗАМЕНИТЕ НАПОЛЬНЫЙ ПРОВОД

    СООТВ
  4. ПРОВЕРЬТЕ DTC

    1. C238353C01

      *1

      Левая подушка безопасности занавесочного типа в сборе

      *2

      Блок управления системы SRS

      Подсоедините разъемы к левой подушке безопасности занавесочного типа и центральному блоку управления системы SRS.

    2. Подсоедините провод к отрицательному (-) выводу аккумуляторной батареи.

    3. Установите замок зажигания в положение ON (ВКЛ) и подождите не менее 60 секунд.

    4. Удалите коды DTC, сохраненные в памяти.

      Body Electrical > SRS Airbag > Clear DTCs

    5. Выключите зажигание.

    6. Установите замок зажигания в положение ON (ВКЛ) и подождите не менее 60 секунд.

    7. Проверьте наличие кодов DTC.

      Body Electrical > SRS Airbag > Trouble Codes

      OK

      DTC B1835, B1836, B1837 или B1838 не выводится.

      Tip:

      На этом этапе могут выводиться коды, отличные от кодов DTC B1835, B1836, B1837 и B1838, однако они не связаны с данной проверкой.

    Результат

    Перейти к

    OK

    НЕ СООТВ.

    OK

    ВЫПОЛНИТЕ ПРОВЕРКУ С ИМИТАЦИЕЙ УСЛОВИЙ ВОЗНИКНОВЕНИЯ НЕИСПРАВНОСТИ

    NG

    ЗАМЕНИТЕ ЦЕНТРАЛЬНЫЙ БЛОК УПРАВЛЕНИЯ СИСТЕМЫ SRS