БЛОК ЦИЛИНДРОВ ПОВТОРНАЯ СБОРКА
ПРЕДОСТЕРЕЖЕНИЕ / ПРИМЕЧАНИЕ / УКАЗАНИЕ
После замены поршня или поршневого кольца выполните процедуру "Проверка после ремонта".
Нажмите здесьЩелкните по следующей ссылке
ПОРЯДОК ВЫПОЛНЕНИЯ
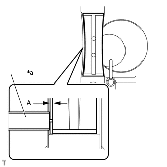
УСТАНОВИТЕ РЕЗЬБОВУЮ ШПИЛЬКУ
Note:Если шпилька деформирована или резьба повреждена, замените шпильку.
Tip:Эта последовательность операций относится к типу A.
-
*a
Левая сторона
*b
16 мм (0,630 дюйма)
*c
9 мм (0,354 дюйма)
*d
27 мм (1,063 дюйма)
С помощью торцевого ключа "TORX" E6 вверните резьбовую шпильку, как показано на рисунке.
5,0 Н*м
51 кгс*см
44 фунт-сила-дюйма
-
УСТАНОВИТЕ КОНИЧЕСКУЮ РЕЗЬБОВУЮ ЗАГЛУШКУ № 1
Очистите коническую резьбовую пробку № 1 и отверстие под пробку.
Нанесите герметик на 2 или 3 витка конической резьбовой заглушки № 1. Затем установите коническую резьбовую заглушку № 1.
Герметик-фиксатор
Фирменный герметик 1324 от компании Toyota, Three Bond 1324 или аналогичный
43 Н*м
438 кгс*см
32 фунт-сила-фута
Note:Установите коническую резьбовую заглушку № 1 в течение 3 мин после нанесения герметика-фиксатора.
Не запускайте двигатель в течение 1 часа после установки конической резьбовой заглушки № 1.
УСТАНОВИТЕ ШТУЦЕР ПОДАЧИ МАСЛА № 1 В СБОРЕ
Установите 4 масляные форсунки № 1 и закрепите их 4 болтами с помощью торцевого шестигранного ключа на 5 мм.
10 Н*м
102 кгс*см
7 фунт-сила-футов
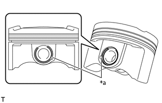
УСТАНОВИТЕ ПОРШЕНЬ
Tip:После замены поршня или поршневого кольца выполните процедуру "Проверка после ремонта".
Нажмите здесьЩелкните по следующей ссылке
-
*a
Вырез в технологическом отверстии
С помощью отвертки установите новое пружинное стопорное кольцо с одного из концов отверстия под поршневой палец.
Tip:Убедитесь, что зазор разреза пружинного стопорного кольца не совпадает с вырезом технологического отверстия поршня.
Постепенно нагрейте поршень до температуры примерно 80-90°C (176-194°F).
-
*a
Метка внешней стороны
Совместив метки внешней стороны на поршне и шатуне, вставьте шатун в поршень, а затем надавливайте на поршневой палец большим пальцем руки до тех пор, пока поршневой палец не соприкоснется с пружинным стопорным кольцом.
Tip:Поршень и поршневой палец представляют собой подобранный комплект.
С помощью отвертки установите новое пружинное стопорное кольцо с другой стороны отверстия под поршневой палец.
Tip:Зазор разреза пружинного стопорного кольца не должен совмещаться с той частью поршня, где находится отверстие под палец.
Проверьте условия посадки поршня на поршневой палец, попробовав подвигать поршень по пальцу взад-вперед.
-
УСТАНОВИТЕ НАБОР ПОРШНЕВЫХ КОЛЕЦ
Tip:После замены поршневого кольца выполните процедуру "Проверка после ремонта".
Нажмите здесьЩелкните по следующей ссылке
-
*a
Для типа X
*b
Для типа Y
Тип Х и тип Y различаются формой маслосъемного кольца.
-
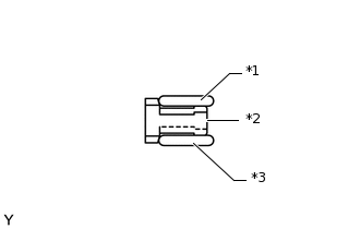
*1
Съемник маслосъемных колец
*2
Маслосъемное кольцо
*3
Место соединения катушки
*4
Конец маслосъемного кольца
Для типа X:
Вручную установите маслосъемное кольцо и расширитель маслосъемного кольца.
Note:Устанавливайте расширитель и маслосъемное кольцо так, чтобы их концы располагались на противоположных сторонах.
Плотно установите расширитель во внутреннюю канавку маслосъемного кольца.
-
*1
Боковая направляющая (верхняя)
*2
Съемник маслосъемных колец
*3
Боковая направляющая (нижняя)
Для типа Y:
Вручную установите расширитель маслосъемного кольца и 2 боковые направляющие.
-
*1
Компрессионное кольцо № 1
*2
Компрессионное кольцо № 2
*a
Съемник поршневых колец
*b
Метка с кодом (2T)
*c
Метка, нанесенная краской

Вверх
С помощью съемника поршневых колец установите компрессионные кольца № 1 и № 2 так, чтобы метки, нанесенные краской, располагались, как показано на рисунке.
Note:Установите компрессионное кольцо № 2 кодовой меткой (2T) вверх.
Метки, нанесенные краской, можно проверить только на новых компрессионных кольцах. При повторном использовании компрессионных колец, проверьте профиль каждого кольца, чтобы установить их в правильном положении.
-
*1
Маслосъемное кольцо и компрессионное кольцо № 1
*2
Съемник маслосъемных колец и компрессионных колец № 2

Передняя часть двигателя
Для типа X:
Разместите набор поршневых колец так, чтобы концы колец располагались, как показано на рисунке.
-
*1
Компрессионное кольцо № 1
*2
Компрессионное кольцо № 2
*3
Боковая направляющая (верхняя)
*4
Боковая направляющая (нижняя)

Передняя часть двигателя
Для типа Y:
Разместите набор поршневых колец так, чтобы концы колец располагались, как показано на рисунке.
Note:Не совмещайте замки колец.
Tip:Зазор разреза съемника маслосъемных колец можно располагать в любом месте.
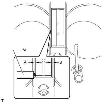
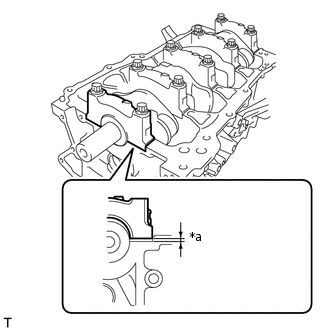
УСТАНОВИТЕ ПОДШИПНИК КОЛЕНЧАТОГО ВАЛА
-
*a
Штангенциркуль
Установите подшипник коленчатого вала (исключая шейку № 3).
Установите подшипник коленчатого вала в блок цилиндров.
Tip:Через отверстия масляных каналов в подшипнике коленчатого вала должны быть видны обе стороны смазочной канавки в блоке цилиндров. Длины канавки, видимые через отверстие с обеих сторон, должны быть одинаковыми.
С помощью штангенциркуля измерьте расстояние между краем блока цилиндров и краем подшипника коленчатого вала.
Размер A
0,5 - 1,0 мм (0,0197 - 0,0394 дюйма)
Note:Не наносите моторное масло на подшипники коленчатого вала или контактные поверхности.
-
*a
Штангенциркуль
Установите подшипник коленчатого вала (на шейку № 3).
Установите подшипник коленчатого вала в блок цилиндров.
Tip:Через отверстия масляных каналов в подшипнике коленчатого вала должны быть видны обе стороны смазочной канавки в блоке цилиндров. Длины канавки, видимые через отверстие с обеих сторон, должны быть одинаковыми.
С помощью штангенциркуля измерьте расстояние между краем блока цилиндров и краем подшипника коленчатого вала.
Размер (A - B) или (B - A)
0-0,5 мм (0-0,0197 дюйма)
Note:Не наносите моторное масло на подшипники коленчатого вала или контактные поверхности.
Установите подшипник коленчатого вала.
Установите подшипник коленчатого вала в крышку подшипника коленчатого вала.
-
*a
Метка 1, 2, 3, 4 и 5
*b
Штангенциркуль
С помощью штангенциркуля измерьте расстояние между кромкой крышки подшипника коленчатого вала и кромкой подшипника коленчатого вала.
Размер (A - B) или (B - A)
0-0,5 мм (0-0,0197 дюйма)
Note:Не наносите моторное масло на подшипники коленчатого вала или контактные поверхности.
-
УСТАНОВИТЕ ВЕРХНЮЮ УПОРНУЮ ШАЙБУ КОЛЕНЧАТОГО ВАЛА
-
*a
Смазочная канавка
Установите 2 верхние упорные шайбы коленчатого вала по месту шейки № 3 на блоке цилиндров так, чтобы смазочные канавки были обращены наружу.
Нанесите моторное масло на верхние упорные шайбы коленчатого вала.
-
УСТАНОВИТЕ КОЛЕНЧАТЫЙ ВАЛ
Нанесите моторное масло на верхние подшипники коленчатого вала и установите коленчатый вал в блок цилиндров.
Нанесите моторное масло на нижние подшипники коленчатого вала.
-
*a
Метка с номером

Передняя часть двигателя
Проверьте цифровые метки и установите крышки подшипников коленчатого вала в блок цилиндров.
Нанесите тонкий слой моторного масла на резьбу и под головки болтов крышек подшипников коленчатого вала.
-
Временно заверните 10 болтов крышек подшипников коленчатого вала.
-
*a
Менее 5,0 мм (0,197 дюйма)
Нажмите рукой на крышки подшипников коленчатого вала, пока зазор между крышками подшипника и блоком цилиндров составит не менее 5,0 мм (0,197 дюйма).
-
С помощью молотка с пластмассовым покрытием слегка осадите крышки подшипников коленчатого вала, чтобы обеспечить ее надлежащую посадку.
Вверните болты крышек подшипников коленчатого вала.
Note:Болты крышек подшипников коленчатого вала затягиваются в 2 последовательных этапа.
Шаг 1:
-
Установите и равномерно затяните в несколько приемов 10 болтов крышек подшипников коленчатого вала в последовательности, показанной на рисунке.
40 Н*м
408 кгс*см
30 фунт-сила-футов
Отметьте переднюю сторону установочных болтов крышек подшипников коленчатого вала краской.
-
Шаг 2:
Затяните болты крышек подшипников коленчатого вала, поворачивая их на 90° в той же последовательности, что и на шаге 1.
Убедитесь, что метки развернуты на 90° относительно исходного положения.
Проверьте, чтобы коленчатый вал вращался плавно.
Измерьте осевой зазор коленчатого вала.
Нажмите здесьЩелкните по следующей ссылке
УСТАНОВИТЕ ПОДШИПНИК ШАТУНА
Установите подшипники шатуна на шатуны и крышки подшипников шатунов.
-
*a
Штангенциркуль
Штангенциркулем измерьте расстояние между краями шатунов и их крышек, а также между краями крышек шатунов и подшипниками шатунов.
Размер A - B или B - A
0-0,7 мм (0-0,0276 дюйма)
Note:Не допускайте попадания моторного масла на подшипники шатунов и контактные поверхности.
УСТАНОВИТЕ ПОРШЕНЬ С ШАТУНОМ В СБОРЕ
Нанесите моторное масло на стенки цилиндров, поршни и поверхности подшипников шатунов.
-
*1
Маслосъемное кольцо и компрессионное кольцо № 1
*2
Съемник маслосъемных колец и компрессионных колец № 2

Передняя часть двигателя
Для типа X:
Разместите набор поршневых колец так, чтобы концы колец располагались, как показано на рисунке.
-
*1
Компрессионное кольцо № 1
*2
Компрессионное кольцо № 2
*3
Боковая направляющая (верхняя)
*4
Боковая направляющая (нижняя)

Передняя часть двигателя
Для типа Y:
Разместите набор поршневых колец так, чтобы концы колец располагались, как показано на рисунке.
Note:Не совмещайте замки колец.
Tip:Зазор разреза съемника маслосъемных колец можно располагать в любом месте.
-
*a
Метка передней стороны
С помощью съемника поршневых колец вставьте в каждый из цилиндров узлы поршней и шатунов с соответствующими номерами таким образом, чтобы передняя метка на поршне была повернута вперед.
Note:Вставляя узлы поршней и шатунов, не допускайте их контакта со масляной форсункой № 1.
На каждый шатун следует установить крышку с соответствующим номером.
-
*a
Метка передней стороны
Проверьте, чтобы метка спереди крышки шатуна была направлена надлежащим образом.
Нанесите тонкий слой моторного масла на резьбы и под головки болтов шатунов.
Вверните болты шатунов.
Note:Болты шатуна следует затягивать за 2 последовательных шага.
Шаг 1:
-
С помощью SST установите и поочередно в несколько приемов затяните болты крышки шатуна.
09205-16011
20 Н*м
204 кгс*см
15 фунт-сила-футов
Отметьте переднюю сторону болтов шатуна краской.
-
Шаг 2:
Затяните болты шатунов, повернув их на 90°.
Убедитесь, что метки развернуты на 90° относительно исходного положения.
Проверьте, чтобы коленчатый вал вращался плавно.
Проверьте осевой зазор шатуна.
Нажмите здесьЩелкните по следующей ссылке
УСТАНОВИТЕ ВЕНТИЛЯЦИОННЫЙ КОЖУХ № 1
Tip:Существуют 2 способа установки вентиляционного кожуха № 1. Количество используемых болтов, гаек и шпилек зависит от способа установки.
-
*a
Диаметр валика герметика
*b
2,0–3,0 мм (0,0787–0,118 дюйма)
*c
5,0 мм (0,197 дюйма)
Нанесите герметик в виде сплошного валика, как показано на рисунке.
Герметик Seal Packing
Фирменный герметик Seal Packing Black от компании Toyota, Three bond 1207B или аналогичный
Технические требования по нанесению герметика
Диаметр валика герметика
Расстояние от внутреннего края кожуха до центра зоны нанесения герметика
2,0 - 3,0 мм (0,0787 - 0,118 дюйма)
5,0 мм (0,197 дюйма)
Note:Удалите все масло с контактной поверхности.
После нанесения герметика в течение 3 минут установите вентиляционный кожух № 1 и в течение 15 минут затяните болты и гайки.
Не запускайте двигатель в течение 2 часов после установки.
Для типа A:
Установите вентиляционный кожух № 1 и закрепите его 6 болтами и 2 гайками.
10 Н*м
102 кгс*см
7 фунт-сила-футов
Для типа B:
Установите вентиляционный кожух № 1 и закрепите его 8 болтами.
10 Н*м
102 кгс*см
7 фунт-сила-футов
-