POWER SEAT SWITCH INSPECTION

PROCEDURE

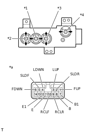
  1. INSPECT FRONT POWER SEAT SWITCH LH (for LHD, w/o Memory)

    B239569C12

    *1

    Slide Switch

    *2

    Front Vertical Switch

    *3

    Lifter Switch

    *4

    Reclining Switch

    *a

    Component without harness connected

    (Front Power Seat Switch LH)

    1. Measure the resistance according to the value(s) in the tables below.

      Standard Resistance (Slide Switch)

      Tester Connection

      Switch Condition

      Specified Condition

      5 (SLDF) - 8 (B)

      5 (SLDF) - 7 (B1)

      Front position

      Below 1 Ω

      2 (SLDR) - 11 (E)

      2 (SLDR) - 12 (E1)

      5 (SLDF) - 11 (E)

      5 (SLDF) - 12 (E1)

      Neutral

      Below 1 Ω

      2 (SLDR) - 11 (E)

      2 (SLDR) - 12 (E1)

      5 (SLDF) - 11 (E)

      5 (SLDF) - 12 (E1)

      Rear position

      Below 1 Ω

      2 (SLDR) - 8 (B)

      2 (SLDR) - 7 (B1)

      Standard Resistance (Front Vertical Switch)

      Tester Connection

      Switch Condition

      Specified Condition

      1 (FUP) - 8 (B)

      1 (FUP) - 7 (B1)

      Up position

      Below 1 Ω

      6 (FDWN) - 11 (E)

      6 (FDWN) - 12 (E1)

      1 (FUP) - 11 (E)

      1 (FUP) - 12 (E1)

      Neutral

      Below 1 Ω

      6 (FDWN) - 11 (E)

      6 (FDWN) - 12 (E1)

      1 (FUP) - 11 (E)

      1 (FUP) - 12 (E1)

      Down position

      Below 1 Ω

      6 (FDWN) - 8 (B)

      6 (FDWN) - 7 (B1)

      Standard Resistance (Lifter Switch)

      Tester Connection

      Switch Condition

      Specified Condition

      3 (LUP) - 8 (B)

      3 (LUP) - 7 (B1)

      Up position

      Below 1 Ω

      4 (LDWN) - 11 (E)

      4 (LDWN) - 12 (E1)

      3 (LUP) - 11 (E)

      3 (LUP) - 12 (E1)

      Neutral

      Below 1 Ω

      4 (LDWN) - 11 (E)

      4 (LDWN) - 12 (E1)

      3 (LUP) - 11 (E)

      3 (LUP) - 12 (E1)

      Down position

      Below 1 Ω

      4 (LDWN) - 8 (B)

      4 (LDWN) - 7 (B1)

      Standard Resistance (Reclining Switch)

      Tester Connection

      Switch Condition

      Specified Condition

      8 (B) - 10 (RCLF)

      7 (B1) - 10 (RCLF)

      Front position

      Below 1 Ω

      9 (RCLR) - 11 (E)

      9 (RCLR) - 12 (E1)

      10 (RCLF) - 11 (E)

      10 (RCLF) - 12 (E1)

      Neutral

      Below 1 Ω

      9 (RCLR) - 11 (E)

      9 (RCLR) - 12 (E1)

      10 (RCLF) - 11 (E)

      10 (RCLF) - 12 (E1)

      Rear position

      Below 1 Ω

      8 (B) - 9 (RCLR)

      7 (B1) - 9 (RCLR)

      If the result is not as specified, replace the front power seat switch LH.

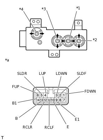
  2. INSPECT FRONT POWER SEAT SWITCH RH (for RHD)

    1. B239570C10

      *1

      Slide Switch

      *2

      Front Vertical Switch

      *3

      Lifter Switch

      *4

      Reclining Switch

      *a

      Component without harness connected

      (Front Power Seat Switch RH)

      Measure the resistance according to the value(s) in the tables below.

      Standard Resistance (Slide Switch)

      Tester Connection

      Switch Condition

      Specified Condition

      2 (SLDF) - 13 (B)

      2 (SLDF) - 14 (B1)

      Front position

      Below 1 Ω

      5 (SLDR) - 10 (E)

      5 (SLDR) - 9 (E1)

      2 (SLDF) - 10 (E)

      2 (SLDF) - 9 (E1)

      Neutral

      Below 1 Ω

      5 (SLDR) - 10 (E)

      5 (SLDR) - 9 (E1)

      2 (SLDF) - 10 (E)

      2 (SLDF) - 9 (E1)

      Rear position

      Below 1 Ω

      5 (SLDR) - 13 (B)

      5 (SLDR) - 14 (B1)

      Standard Resistance (Front Vertical Switch)

      Tester Connection

      Switch Condition

      Specified Condition

      6 (FUP) - 13 (B)

      6 (FUP) - 14 (B1)

      Up position

      Below 1 Ω

      1 (FDWN) - 10 (E)

      1 (FDWN) - 9 (E1)

      6 (FUP) - 10 (E)

      6 (FUP) - 9 (E1)

      Neutral

      Below 1 Ω

      1 (FDWN) - 10 (E)

      1 (FDWN) - 9 (E1)

      6 (FUP) - 10 (E)

      6 (FUP) - 9 (E1)

      Down position

      Below 1 Ω

      1 (FDWN) - 13 (B)

      1 (FDWN) - 14 (B1)

      Standard Resistance (Lifter Switch)

      Tester Connection

      Switch Condition

      Specified Condition

      4 (LUP) - 13 (B)

      4 (LUP) - 14 (B1)

      Up position

      Below 1 Ω

      3 (LDWN) - 10 (E)

      3 (LDWN) - 9 (E1)

      4 (LUP) - 10 (E)

      4 (LUP) - 9 (E1)

      Neutral

      Below 1 Ω

      3 (LDWN) - 10 (E)

      3 (LDWN) - 9 (E1)

      4 (LUP) - 10 (E)

      4 (LUP) - 9 (E1)

      Down position

      Below 1 Ω

      3 (LDWN) - 13 (B)

      3 (LDWN) - 14 (B1)

      Standard Resistance (Reclining Switch)

      Tester Connection

      Switch Condition

      Specified Condition

      11 (RCLF) - 13 (B)

      11 (RCLF) - 14 (B1)

      Front position

      Below 1 Ω

      12 (RCLR) - 10 (E)

      12 (RCLR) - 9 (E1)

      11 (RCLF) - 10 (E)

      11 (RCLF) - 9 (E1)

      Neutral

      Below 1 Ω

      12 (RCLR) - 10 (E)

      12 (RCLR) - 9 (E1)

      11 (RCLF) - 10 (E)

      11 (RCLF) - 9 (E1)

      Rear position

      Below 1 Ω

      12 (RCLR) - 13 (B)

      12 (RCLR) - 14 (B1)

      If the result is not as specified, replace the front power seat switch RH.