HYBRID CONTROL SYSTEM, Diagnostic DTC:P0A0D-350 and P0A0D-351

DTC Code DTC Name
P0A0D-350 High Voltage System Inter-Lock Circuit High
P0A0D-351 High Voltage System Inter-Lock Circuit High

DTC SUMMARY

  1. MALFUNCTION DESCRIPTION

    The hybrid vehicle control ECU detects that a safety device (interlock) is operated or that there is an open circuit in the detection circuit. (Even if an open circuit occurs while the vehicle is stopped, the system determines that the safety device was operated.)

    The cause of this malfunction may be one of the following:

    • Detection switch system malfunction

    • Inverter with converter assembly malfunction

    • Service plug malfunction

    • Low-voltage system malfunction

    • Hybrid vehicle control ECU malfunction

    • Inverter with converter assembly malfunction

    • Service plug malfunction

    • Wire harness malfunction

    • Connector malfunction

  2. INSPECTION DESCRIPTION

    C304951E08

    System Diagram Location

    Inspection Content

    Reason

    Inspection Step

    *a

    • Check whether the safety device (interlock) is connected securely and installed properly (service plug grip, inverter cover UPR or connector cover assembly, etc.).

    • Hybrid vehicle control ECU or inverter connector

    DTC output due to improper connection or forgetting to install parts.

    4 to 9

    *b

    Inspect the detection circuit.

    DTC output due to an open circuit or improper connection (dirt, foreign matter, etc.).

    10 to 20

DESCRIPTION

When the hybrid vehicle control ECU detects that a safety device (interlock) is operated, such as when the service plug grip, inverter cover UPR or connector cover assembly is removed, it will prohibit hybrid system operation or shut off the system main relay. The 3 safety devices are located as follows; 1 in the service plug grip, 1 on the No. 2 engine wire that is connected to the inverter with converter assembly, 1 on the inverter cover UPR where the motor and generator cables, No. 2 frame wire and No. 2 engine wire (air conditioning harness) are connected to the inverter with converter assembly. If the service plug grip, inverter cover UPR, connector cover, or No. 2 engine wire is removed, the interlock signal line will be open. If the vehicle is being driven, this condition will be determined to be an open circuit and the system main relays will not be shut off. When the safety devices are re-installed correctly, the system will return to normal when the power switch is turned on (IG).

The system main relay will be turned off from the next trip after the open is detected until the condition returns to normal.

DTC No.

Detection Item

DTC Detection Condition

Trouble Area

MIL

Warning Indicate

P0A0D-350

High Voltage System Inter-Lock Circuit High

Either of the following conditions is met:

  • With the vehicle stopped, the service plug grip, connector cover assembly, inverter cover UPR or No. 2 frame wire with a safety device was removed.

  • With the vehicle stopped, the interlock signal line became open.

(1 trip detection logic)

  • Wire harness or connector

  • Hybrid vehicle control ECU

  • Service plug grip

  • Inverter with converter assembly

  • Connector cover assembly

  • Inverter cover UPR

  • No. 2 engine wire (air conditioning harness)

Does not come on

Master Warning Light:

Comes on

P0A0D-351

High Voltage System Inter-Lock Circuit High

Interlock signal line opens while the vehicle is being driven (at 5 km/h (3 mph) or more)

(1 trip detection logic)

  • Wire harness or connector

  • Hybrid vehicle control ECU

  • Service plug grip

  • Inverter with converter assembly

  • Connector cover assembly

  • Inverter cover UPR

  • No. 2 engine wire (air conditioning harness)

Does not come on

Master Warning Light:

Comes on

WIRING DIAGRAM

C297331E15

CAUTION / NOTICE / HINT

CAUTION:
  • Before inspecting the high-voltage system or disconnecting the low voltage connector of the inverter with converter assembly, take safety precautions such as wearing insulated gloves and removing the service plug grip to prevent electrical shocks. After removing the service plug grip, put it in your pocket to prevent other technicians from accidentally reconnecting it while you are working on the high-voltage system.

  • After removing the service plug grip, wait for at least 10 minutes before touching any of the high-voltage connectors or terminals. After waiting for 10 minutes, check the voltage at the terminals in the inspection point in the inverter with converter assembly. The voltage should be 0 V before beginning work.

    Click here

    Tip:

    Waiting for at least 10 minutes is required to discharge the high-voltage capacitor inside the inverter with converter assembly.

Note:

After turning the power switch off, waiting time may be required before disconnecting the cable from the negative (-) auxiliary battery terminal. Therefore, make sure to read the disconnecting the cable from the negative (-) auxiliary battery terminal notices before proceeding with work.

Click hereClick hereClick hereClick here

Tip:

After the repair, clear the DTCs and perform the following procedure to check that DTCs are not output.

  1. Turn the power switch on (IG) and wait for 5 seconds or more.

PROCEDURE

  1. CHECK DTC OUTPUT (HYBRID CONTROL)

    1. Connect the GTS to the DLC3.

    2. Turn the power switch on (IG).

    3. Enter the following menus: Powertrain / Hybrid Control / Trouble Codes.

    4. Check for DTCs.

      Powertrain > Hybrid Control > Trouble Codes

      Result

      Proceed to

      P0A0D only is output.

      P0A1D is output.

    5. Turn the power switch off.

    P0A1D is output.

    GO TO DTC CHART (P0A1D)

    P0A0D only is output.
  2. CLEAR DTC

    Click here

    Result

    Proceed to

    NEXT

    NEXT
  3. CHECK DTC OUTPUT (HYBRID CONTROL)

    1. Connect the GTS to the DLC3.

    2. Turn the power switch on (IG).

    3. Enter the following menus: Powertrain / Hybrid Control / Trouble Codes.

    4. Check if DTCs are output.

      Powertrain > Hybrid Control > Trouble Codes

      Result

      Proceed to

      P0A0D-350 or P0A0D-351 is output again.

      Neither P0A0D-350 or P0A0D-351 is output again.

    5. Turn the power switch off.

    Neither P0A0D-350 or P0A0D-351 is output again.

    CHECK CONNECTOR CONNECTION CONDITION (INTERLOCK CIRCUIT)Click here

    P0A0D-350 or P0A0D-351 is output again.
  4. CHECK SERVICE PLUG GRIP

    CAUTION:

    Be sure to wear insulated gloves.

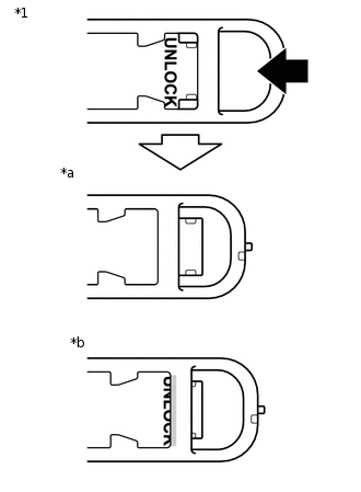
    1. A332024C01

      *1

      Service Plug Grip

      *a

      Correct

      *b

      Incorrect

      Check if the service plug grip is installed correctly.

      Standard

      "UNLOCK" is hidden and is not visible.

      Note:
      • Insert the service plug grip until a click sound is heard.

      • If "UNLOCK" is printed on the service plug grip, push in the service plug grip until "UNLOCK" is not visible at all.

      Tip:
      • For the removal and installation procedures.

        Click here

      • P0A0D-350 is also set if the power switch is turned on (IG) with the service plug grip removed. Confirm the conditions when the malfunction occurred.

    Result

    Proceed to

    OK

    NG

    NG

    INSTALL PARTS CORRECTLY

    OK
  5. CHECK CONNECTOR CONNECTION CONDITION (HYBRID VEHICLE CONTROL ECU CONNECTOR)

    Click here

    Result

    Proceed to

    OK

    NG

    NG

    CONNECT SECURELY

    OK
  6. CHECK CONNECTOR CONNECTION CONDITION (INVERTER WITH CONVERTER ASSEMBLY CONNECTOR)

    Click here

    Result

    Result

    Proceed to

    OK

    A

    NG (The connector is not connected securely.)

    B

    NG (The terminals are not making secure contact or are deformed, or water or foreign matter exists in the connector.)

    C

    B

    CONNECT SECURELY

    C

    REPAIR OR REPLACE HARNESS OR CONNECTOR

    A
  7. CHECK INVERTER COVER UPR

    CAUTION:

    Be sure to wear insulated gloves.

    1. Check that the service plug grip is not installed.

      Note:

      After removing the service plug grip, do not turn the power switch on (READY), unless instructed by the repair manual because this may cause a malfunction.

    2. C308921C01

      *A

      for 2WD

      *B

      for AWD

      Check if the inverter cover UPR of the inverter with converter assembly is installed correctly.

      OK

      The inverter cover UPR is installed correctly.

    Result

    Proceed to

    OK

    NG

    NG

    INSTALL PARTS CORRECTLY

    OK
  8. CHECK CONNECTOR COVER ASSEMBLY

    CAUTION:

    Be sure to wear insulated gloves.

    1. Check that the service plug grip is not installed.

      Note:

      After removing the service plug grip, do not turn the power switch on (READY), unless instructed by the repair manual because this may cause a malfunction.

    2. C296838

      Check if the connector cover assembly is connected correctly.

      OK

      The connector cover assembly is connected correctly.

    Result

    Proceed to

    OK

    NG

    NG

    INSTALL PARTS CORRECTLY

    OK
  9. CHECK HARNESS AND CONNECTOR (NO. 2 ENGINE WIRE (AIR CONDITIONING HARNESS))

    CAUTION:

    Be sure to wear insulated gloves.

    1. Check that the service plug grip is not installed.

      Note:

      After removing the service plug grip, do not turn the power switch on (READY), unless instructed by the repair manual because this may cause a malfunction.

    2. C296839

      Check if the No. 2 engine wire (air conditioning harness) is connected correctly.

      OK

      The No. 2 engine wire (air conditioning harness) is connected correctly.

    Result

    Proceed to

    OK

    NG

    NG

    INSTALL PARTS CORRECTLY

    OK
  10. CHECK HYBRID VEHICLE CONTROL ECU

    CAUTION:

    Be sure to wear insulated gloves.

    1. Check that the service plug grip is not installed.

      Note:

      After removing the service plug grip, do not turn the power switch on (READY), unless instructed by the repair manual because this may cause a malfunction.

    2. Disconnect the A111 inverter with converter assembly connector.

      Click here

    3. Connect the cable to the negative (-) auxiliary battery terminal.

    4. Turn the power switch on (IG).

    5. A350653C24

      *a

      Front view of wire harness connector

      (to Inverter with Converter Assembly)

      Measure the voltage according to the value(s) in the table below.

      Standard Voltage

      Tester Connection

      Condition

      Specified Condition

      A111-16 (ILKI) - Body ground

      Power switch on (IG)

      11 to 14 V

      Note:

      Turning the power switch on (IG) with the inverter with converter assembly connector disconnected causes other DTCs to be stored. Clear the DTCs after performing this inspection.

    6. Turn the power switch off.

    7. Disconnect the cable from the negative (-) auxiliary battery terminal.

    8. Reconnect the A111 inverter with converter assembly connector.

    Result

    Proceed to

    OK

    NG

    NG

    CHECK HARNESS AND CONNECTOR (INVERTER WITH CONVERTER ASSEMBLY - HYBRID VEHICLE CONTROL ECU)Click here

    OK
  11. CHECK INVERTER WITH CONVERTER ASSEMBLY (INTERLOCK)

    CAUTION:

    Be sure to wear insulated gloves.

    1. Check that the service plug grip is not installed.

      Note:

      After removing the service plug grip, do not turn the power switch on (READY), unless instructed by the repair manual because this may cause a malfunction.

    2. Disconnect the A111 inverter with converter assembly connector.

    3. A258450C27

      *a

      Component without harness connected

      (Inverter with Converter Assembly)

      Measure the resistance according to the value(s) in the table below.

      Standard Resistance

      Tester Connection

      Condition

      Specified Condition

      A111-16 (ILKI) - A111-5 (ILKO)

      Power switch off

      Less than 10 Ω

      Note:

      Do not remove the connector cover assembly, inverter cover UPR and air conditioner harness.

    4. Reconnect the A111 inverter with converter assembly connector.

    Result

    Proceed to

    OK

    NG

    NG

    CHECK INVERTER COVER UPRClick here

    OK
  12. CHECK HARNESS AND CONNECTOR (INVERTER WITH CONVERTER ASSEMBLY - BODY GROUND)

    CAUTION:

    Be sure to wear insulated gloves.

    1. Check that the service plug grip is not installed.

      Note:

      After removing the service plug grip, do not turn the power switch on (READY), unless instructed by the repair manual because this may cause a malfunction.

    2. Disconnect the A111 inverter with converter assembly connector.

    3. Install the service plug grip.

    4. A350653C25

      *a

      Front view of wire harness connector

      (to Inverter with Converter Assembly)

      Measure the resistance according to the value(s) in the table below.

      Standard Resistance

      Tester Connection

      Condition

      Specified Condition

      A111-5 (ILKO) - Body ground

      Power switch off

      Below 1 Ω

    5. Remove the service plug grip.

    6. Reconnect the A111 inverter with converter assembly connector.

    Result

    Proceed to

    OK

    NG

    NG

    CHECK SERVICE PLUG GRIPClick here

    OK
  13. CHECK CONNECTOR CONNECTION CONDITION (INTERLOCK CIRCUIT)

    1. Check the connections of each connector.

      OK

      Dirt or foreign matter has not entered the connectors, and there is no evidence of contamination.

    Result

    Proceed to

    OK

    NG

    OK

    REPLACE HYBRID VEHICLE CONTROL ECU

    NG

    REPAIR OR REPLACE CONNECTOR

  14. CHECK HARNESS AND CONNECTOR (INVERTER WITH CONVERTER ASSEMBLY - HYBRID VEHICLE CONTROL ECU)

    CAUTION:

    Be sure to wear insulated gloves.

    1. Check that the service plug grip is not installed.

      Note:

      After removing the service plug grip, do not turn the power switch on (READY), unless instructed by the repair manual because this may cause a malfunction.

    2. Disconnect the A111 inverter with converter assembly connector.

    3. Disconnect the A66 hybrid vehicle control ECU connector.

    4. Measure the resistance according to the value(s) in the table below.

      A324920C07

      *a

      Front view of wire harness connector

      (to Inverter with Converter Assembly)

      *b

      Rear view of wire harness connector

      (to Hybrid Vehicle Control ECU)

      Standard Resistance

      Tester Connection

      Condition

      Specified Condition

      A111-16 (ILKI) - A66-13 (ILK)

      Power switch off

      Below 1 Ω

    5. Reconnect the A66 hybrid vehicle control ECU connector.

    6. Reconnect the A111 inverter with converter assembly connector.

    Result

    Proceed to

    OK

    NG

    OK

    REPLACE HYBRID VEHICLE CONTROL ECU

    NG

    REPAIR OR REPLACE HARNESS OR CONNECTOR

  15. CHECK INVERTER COVER UPR

    CAUTION:

    Be sure to wear insulated gloves.

    1. Check that the service plug grip is not installed.

      Note:

      After removing the service plug grip, do not turn the power switch on (READY), unless instructed by the repair manual because this may cause a malfunction.

    2. C308921C01

      *A

      for 2WD

      *B

      for AWD

      Remove the inverter cover UPR from the inverter with converter assembly.

    3. C297292C01

      *1

      Inverter Cover UPR

      Check the condition of the inverter cover UPR interlock.

      OK

      Dirt or foreign matter has not entered the connectors, and there is no evidence of contamination.

    4. Install the inverter cover UPR.

    Result

    Proceed to

    OK

    NG

    NG

    REPLACE INVERTER COVER UPR

    OK
  16. CHECK CONNECTOR COVER ASSEMBLY

    CAUTION:

    Be sure to wear insulated gloves.

    1. Check that the service plug grip is not installed.

      Note:

      After removing the service plug grip, do not turn the power switch on (READY), unless instructed by the repair manual because this may cause a malfunction.

    2. C296838

      Remove the connector cover assembly from the inverter with converter assembly.

    3. C297291C01

      *1

      Connector Cover Assembly

      Check the condition of the connector cover assembly interlock.

      OK

      Dirt or foreign objects have not entered the connection, and there is no evidence of contamination.

      Tip:

      The connector cover assembly is not available as a supply part. If it requires replacement, replace the inverter with converter assembly.

    4. Install the connector cover assembly from the inverter with converter assembly.

    Result

    Proceed to

    OK

    NG

    NG

    REPLACE INVERTER WITH CONVERTER ASSEMBLY

    OK
  17. CHECK NO. 2 ENGINE WIRE (AIR CONDITIONING HARNESS CONNECTOR)

    CAUTION:

    Be sure to wear insulated gloves.

    1. Check that the service plug grip is not installed.

      Note:

      After removing the service plug grip, do not turn the power switch on (READY), unless instructed by the repair manual because this may cause a malfunction.

    2. C296839

      Disconnect the No. 2 engine wire (air conditioning harness) from the inverter with converter assembly.

    3. A260208C02

      *1

      No. 2 Engine Wire (Air Conditioner Harness)

      Check the No. 2 engine wire (air conditioning harness) interlock.

      OK

      Dirt or foreign matter has not entered the connectors, and there is no evidence of contamination.

    4. Connect the No. 2 engine wire (air conditioning harness) to the inverter with converter assembly.

    Result

    Proceed to

    OK

    NG

    OK

    REPLACE INVERTER WITH CONVERTER ASSEMBLY

    NG

    REPLACE NO. 2 ENGINE WIRE (AIR CONDITIONING HARNESS)

  18. CHECK SERVICE PLUG GRIP

    1. Remove the service plug grip.

      Click here

    2. C263217C01

      *1

      Service Plug Grip

      Check the condition of the service plug grip interlock.

      OK

      Dirt or foreign matter has not entered the connectors, and there is no evidence of contamination.

    Result

    Proceed to

    OK

    NG

    NG

    REPLACE SERVICE PLUG GRIP

    OK
  19. CHECK CONNECTOR CONNECTION CONDITION (INTERLOCK CONNECTOR)

    CAUTION:

    Be sure to wear insulated gloves.

    1. Check that the service plug grip is not installed.

      Note:

      After removing the service plug grip, do not turn the power switch on (READY), unless instructed by the repair manual because this may cause a malfunction.

    2. C297289C01

      *1

      Interlock Connector

      Check that the interlock connector at the service plug grip installation socket is connected correctly.

      OK

      The connector is connected correctly.

    Result

    Proceed to

    OK

    NG

    NG

    INSTALL PARTS CORRECTLY

    OK
  20. CHECK HARNESS AND CONNECTOR (INVERTER WITH CONVERTER ASSEMBLY - SERVICE PLUG GRIP)

    CAUTION:

    Be sure to wear insulated gloves.

    1. Check that the service plug grip is not installed.

      Note:

      After removing the service plug grip, do not turn the power switch on (READY), unless instructed by the repair manual because this may cause a malfunction.

    2. Disconnect the A111 inverter with converter assembly connector.

    3. Disconnect the M43 service plug grip connector.

    4. C297290C06

      *a

      Front view of wire harness connector

      (to Inverter with Converter Assembly)

      *b

      Rear view of wire harness connector

      (to Service Plug Grip)

      Measure the resistance according to the value(s) in the table below.

      Standard Resistance

      Tester Connection

      Condition

      Specified Condition

      A111-5 (ILKO) - M43-1 (ILK)

      Power switch off

      Below 1 Ω

    5. Reconnect the M43 service plug grip connector.

    6. Reconnect the A111 inverter with converter assembly connector.

    Result

    Proceed to

    OK

    NG

    OK

    REPAIR OR REPLACE HARNESS OR CONNECTOR (SERVICE PLUG GRIP - BODY GROUND)

    NG

    REPAIR OR REPLACE HARNESS OR CONNECTOR (INVERTER WITH CONVERTER ASSEMBLY - SERVICE PLUG GRIP)