LIGHTING SYSTEM, Diagnostic DTC:B2412 and B2413

DTC Code DTC Name
B2412 Headlight Swivel Motor LH Malfunction
B2413 Headlight Swivel Motor RH Malfunction

DESCRIPTION

Each swivel motor receives a signal from the headlight swivel ECU to operate and sends a signal indicating the direction of the headlight and condition of the headlight swivel motor to the headlight swivel ECU.

DTC No.

Detection Item

DTC Detection Condition

Trouble Area

B2412

Headlight Swivel Motor LH Malfunction

  • Malfunction in the headlight swivel motor LH.

  • Open or short in the headlight swivel motor LH circuit.

  • Headlight unit LH (swivel motor)

  • Headlight swivel ECU assembly

  • Harness or connector

B2413

Headlight Swivel Motor RH Malfunction

  • Malfunction in the headlight swivel motor RH.

  • Open or short in the headlight swivel motor RH circuit.

  • Headlight unit RH (swivel motor)

  • Headlight swivel ECU assembly

  • Harness or connector

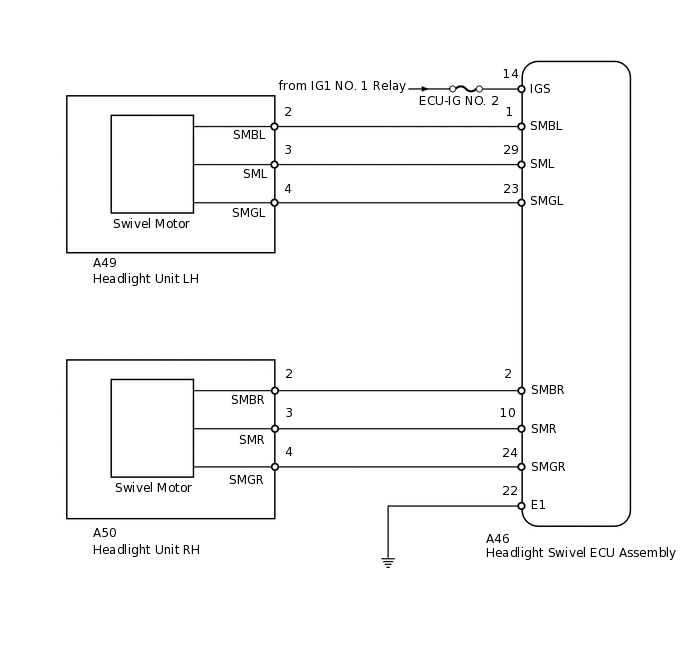
WIRING DIAGRAM

E144116E61

PROCEDURE

  1. CHECK FOR DTC

    1. Clear the DTCs.

      Click here

      Body Electrical > AFS > Clear DTCs

    2. Check for DTCs.

      Click here

      Body Electrical > AFS > Trouble Codes

      OK

      DTC B2412 or B2413 output does not occur.

      Result

      Result

      OK

      NG

    OK

    USE SIMULATION METHOD TO CHECK

    NG
  2. PERFORM ACTIVE TEST USING INTELLIGENT TESTER (SWIVEL MOTOR)

    1. Using the intelligent tester, perform the Active Test.

      Click here

      Body Electrical > AFS > Active Test

      Tester Display

      Measurement Item

      Control Range

      Diagnostic Note

      Drive Swivel Motor LH LEFT

      Swivel motor LH left direction rotation

      ON/OFF

      ON: Move left

      OFF: Stop

      Drive Swivel Motor LH RIGHT

      Swivel motor LH right direction rotation

      ON/OFF

      ON: Move right

      OFF: Stop

      Drive Swivel Motor RH LEFT

      Swivel motor RH left direction rotation

      ON/OFF

      ON: Move left

      OFF: Stop

      Drive Swivel Motor RH RIGHT

      Swivel motor RH right direction rotation

      ON/OFF

      ON: Move right

      OFF: Stop

      • *: Perform the Active Test with the engine running and the vehicle stopped.

      OK

      Swivel motors operate normally.

      Result

      Result

      OK

      NG

    NG

    CHECK HARNESS AND CONNECTOR ((HEADLIGHT SWIVEL ECU ASSEMBLY - BODY GROUND)Click here

    OK
  3. CHECK HEADLIGHT UNIT (OPERATION)

    1. Temporarily replace the headlight unit (swivel motor) with a new or normally functioning one.

      Click here

    2. Check for DTCs.

      Click here

      Body Electrical > AFS > Trouble Codes

      OK

      DTC B2412 or B2413 output does not occur.

      Result

      Result

      OK

      NG

    OK

    END (REPLACE HEADLIGHT UNIT)

    NG

    REPLACE HEADLIGHT SWIVEL ECU ASSEMBLY

  4. CHECK HARNESS AND CONNECTOR ((HEADLIGHT SWIVEL ECU ASSEMBLY - BODY GROUND)

    1. E131580C03

      *a

      Front view of wire harness connector

      (to Headlight Swivel ECU Assembly)

      Disconnect the A46 headlight swivel ECU connector.

    2. Measure the voltage according to the value(s) in the table below.

      Standard Voltage

      Tester Connection

      Switch Condition

      Specified Condition

      A46-14 (IGS) - Body ground

      Engine switch on (IG)

      11 to 14 V

      Result

      Result

      OK

      NG

    NG

    REPAIR OR REPLACE HARNESS OR CONNECTOR

    OK
  5. CHECK HARNESS AND CONNECTOR (HEADLIGHT SWIVEL ECU ASSEMBLY - BATTERY)

    1. E131580C04

      *a

      Front view of wire harness connector

      (to Headlight Swivel ECU Assembly)

      Disconnect the A46 headlight swivel ECU connector.

    2. Measure the resistance according to the value(s) in the table below.

      Standard Voltage

      Tester Connection

      Switch Condition

      Specified Condition

      A46-22 (E1) - Body ground

      Always

      Below 1 Ω

      Result

      Result

      OK

      NG

    NG

    REPAIR OR REPLACE HARNESS OR CONNECTOR

    OK
  6. CHECK HARNESS AND CONNECTOR (HEADLIGHT SWIVEL ECU ASSEMBLY - HEADLIGHT UNIT)

    1. Disconnect the A46 headlight swivel ECU connector.

    2. Disconnect the A49*1 or A50*2 headlight connector.

      • *1: for LH

        *2: for RH

    3. Measure the resistance according to the value(s) in the table below.

      Standard Resistance

      Table 1. for LH:

      Tester Connection

      Condition

      Specified Condition

      A46-1 (SMBL) - A49-2 (SMBL)

      Always

      Below 1 Ω

      A46-29 (SML) - A49-3 (SML)

      Always

      Below 1 Ω

      A46-23 (SMGL) - A49-4 (SMGL)

      Always

      Below 1 Ω

      A46-1 (SMBL) - Body ground

      Always

      10 kΩ or higher

      A46-29 (SML) - Body ground

      Always

      10 kΩ or higher

      A46-23 (SMGL) - Body ground

      Always

      10 kΩ or higher

      Table 2. for RH:

      Tester Connection

      Condition

      Specified Condition

      A46-2 (SMBR) - A50-2 (SMBR)

      Always

      Below 1 Ω

      A46-10 (SMR) - A50-3 (SMR)

      Always

      Below 1 Ω

      A46-24 (SMGR) - A50-4 (SMGR)

      Always

      Below 1 Ω

      A46-2 (SMBR) - Body ground

      Always

      10 kΩ or higher

      A46-10 (SMR) - Body ground

      Always

      10 kΩ or higher

      A46-24 (SMGR) - Body ground

      Always

      10 kΩ or higher

      Result

      Result

      OK

      NG

    NG

    REPAIR OR REPLACE HARNESS OR CONNECTOR

    OK
  7. CHECK HEADLIGHT UNIT (OPERATION)

    1. Temporarily replace the headlight unit (swivel motor) with a new or normally functioning one.

      Click here

    2. Check for DTCs.

      Click here

      Body Electrical > AFS > Trouble Codes

      OK

      DTC B2412 or B2413 output does not occur.

      Result

      Result

      OK

      NG

    OK

    END (REPLACE HEADLIGHT UNIT)

    NG

    REPLACE HEADLIGHT SWIVEL ECU ASSEMBLY