ENGINE UNIT REMOVAL

PROCEDURE

  1. REMOVE ENGINE OIL LEVEL DIPSTICK GUIDE

    1. A311165

      Remove the engine oil level dipstick.

    2. Remove the bolt and engine oil level dipstick guide.

    3. Remove the O-ring from the engine oil level dipstick guide.

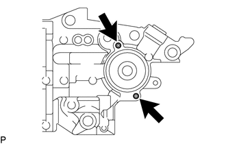
  2. REMOVE V-RIBBED BELT TENSIONER ASSEMBLY

    1. A196670

      Remove the bolt and V-ribbed belt tensioner assembly.

  3. REMOVE COMPRESSOR ASSEMBLY WITH MOTOR

  4. REMOVE NO. 1 COMPRESSOR MOUNTING BRACKET

    1. A311166

      Remove the 4 bolts and No. 1 compressor mounting bracket.

  5. REMOVE NO. 1 EXHAUST MANIFOLD HEAT INSULATOR

  6. REMOVE NO. 2 EGR PIPE (w/ EGR System)

  7. REMOVE NO. 2 MANIFOLD STAY

  8. REMOVE MANIFOLD STAY

  9. REMOVE EXHAUST MANIFOLD CONVERTER SUB-ASSEMBLY

  10. REMOVE THROTTLE WITH MOTOR BODY ASSEMBLY

  11. REMOVE WATER BY-PASS PIPE (w/ EGR System)

    1. A311167

      Remove the 4 bolts, water by-pass pipe and 2 gaskets.

  12. REMOVE EGR COOLER ASSEMBLY (w/ EGR System)

    1. A311169

      Slide the hose clamp and disconnect the No. 5 water by-pass hose from the EGR cooler assembly.

    2. A311170

      Remove the bolt and nut, and disconnect the No. 1 EGR pipe from the EGR cooler assembly.

    3. A311171

      Remove the bolt, nut and EGR cooler assembly.

    4. Remove the gasket from the No. 1 EGR pipe.

  13. REMOVE NO. 5 WATER BY-PASS HOSE (w/o EGR System)

    1. A331115

      Slide the 2 hose clamps and remove the No. 5 water by-pass hose from the water by-pass pipe and No. 3 water by-pass pipe.

  14. REMOVE NO. 1 WATER BY-PASS PIPE (w/o EGR System)

    1. A331116

      Remove the 3 bolts, No. 1 water by-pass pipe and gasket.

  15. REMOVE EGR VALVE ASSEMBLY (w/ EGR System)

  16. REMOVE NO. 3 WATER BY-PASS HOSE

    1. A311172

      Slide the hose clamp and remove the No. 3 water by-pass hose.

  17. REMOVE NO. 1 WATER BY-PASS HOSE (w/ EGR System)

    1. A311173

      Slide the hose clamp and remove the No. 1 water by-pass hose from the cylinder block.

  18. REMOVE NO. 1 EGR PIPE (w/ EGR System)

    1. A311174

      Remove the 2 bolts and No. 1 EGR pipe.

  19. REMOVE NO. 3 WATER BY-PASS PIPE (w/o EGR System)

    1. A331117

      Remove the 2 bolts and No. 3 water by-pass pipe.

  20. REMOVE ENGINE WATER PUMP ASSEMBLY

  21. REMOVE WATER INLET

  22. REMOVE THERMOSTAT

  23. REMOVE OIL COOLER ASSEMBLY (w/ Oil Cooler)

  24. REMOVE WATER INLET HOUSING

    1. A311168

      Remove the 3 bolts, nut and water inlet housing from the cylinder block.

    2. A260225

      Remove the gasket.

    3. A316624

      Using an E6 "TORX" socket wrench, remove the 2 stud bolts from the water inlet housing.

      Note:

      If a stud bolt is deformed or its thread is damaged, replace it.

  25. REMOVE INTAKE MANIFOLD

    1. A316733

      Slide the clamp and disconnect the No. 2 PCV hose from the intake manifold.

    2. A258678

      Slide the clamp and disconnect the purge line hose from the intake manifold.

    3. A257344

      Remove the 6 bolts and intake manifold.

    4. A257345

      Remove the No. 1 intake manifold to head gasket from the intake manifold.

  26. REMOVE FUEL DELIVERY PIPE

  27. REMOVE INJECTOR VIBRATION INSULATOR

  28. REMOVE SENSOR WIRE

    1. A260236

      Disconnect the knock control sensor connector.

    2. Remove the bolt and sensor wire.

  29. REMOVE IGNITION COIL ASSEMBLY