БЛОК МЕХАНИЧЕСКОЙ ТРАНСМИССИИ РАЗБОРКА


  1. REMOVE MANUAL TRANSMISSION FILLER PLUG


    1. B007OWJ

      Remove the filler plug and gasket from the manual transmission case.

  2. REMOVE DRAIN (MTM) PLUG SUB-ASSEMBLY


    1. B007S7I

      Remove the drain plug and gasket from the manual transmission case.

  3. REMOVE SPEEDOMETER SENSOR


    1. B007ORP

      Remove the bolt and speedometer sensor.

    2. Using a screwdriver, remove the O-ring from the speedometer sensor.

  4. REMOVE BACK UP LIGHT SWITCH ASSEMBLY


    1. B007OGME01

      Using SST, remove the back up light switch assembly and gasket from the manual transmission case.

      SST
      09817-16011
  5. REMOVE CLUTCH HOUSING


    1. B007V2S

      Remove the 9 bolts.

    2. B007UUE

      Using a plastic hammer, remove the clutch housing from the transmission case.

  6. REMOVE SHIFT LEVER SHAFT HOUSING SUB-ASSEMBLY


    1. B007TTDE01

      Remove the 6 bolts, shift lever shaft housing and clamp from the manual transmission case.

    2. Remove the shift lever shaft housing gasket from the manual transmission case.

  7. REMOVE EXTENSION HOUSING DUST(MTM) DEFLECTOR


    1. B007QHC

      Using a brass bar and a hammer, remove the extension housing dust deflector from the extension housing.

  8. REMOVE EXTENSION (MTM) HOUSING SUB-ASSEMBLY


    1. B007PJJ

      Remove 8 bolts.

    2. B007UBE

      Using a plastic hammer, remove the extension housing from the manual transmission case.

  9. REMOVE TRANSMISSION MAGNET


    1. B007UUF

      Remove the transmission magnet from the extension housing.

  10. REMOVE EXTENSION HOUSING OIL RECEIVER PIPE


    1. B007QML

      Remove the bolt and extension housing oil receiver pipe from the extension housing.

  11. REMOVE EXTENSION HOUSING OIL RECEIVER PIPE NO.1


    1. B007PEG

      Remove the extension housing oil receiver pipe No.1 from the extension housing.

  12. REMOVE MANUAL TRANSMISSION EXTENSION HOUSING OIL SEAL


    1. B007OXME01

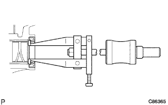
      Using SST, remove the manual transmission extension housing oil seal from the extension housing.

      SST
      09308-00010
  13. REMOVE BEARING RETAINER FRONT(MTM)


    1. B007OT6

      Remove the 8 bolts.

    2. w/o Gasket:


      1. Remove the bearing retainer from the transmission case.

    3. w/ Gasket:


      1. Remove the bearing retainer front and transmission front bearing retainer gasket from the manual transmission case.

  14. REMOVE TRANSMISSION FRONT BEARING RETAINER OIL SEAL


    1. B007QV6

      Using a screwdriver, remove the transmission front bearing retainer oil seal from the bearing retainer front.

  15. REMOVE FRONT BEARING SHAFT SNAP RING


    1. B007RAR

      Using a snap ring expander, remove the front bearing shaft snap ring from the manual transmission case.

  16. REMOVE COUNTER GEAR FRONT BEARING SNAP RING NO.1


    1. B007S2J

      Using a snap ring expander, remove the counter gear front bearing snap ring No.1 from the manual transmission case.

  17. REMOVE MANUAL TRANSMISSION CASE


    1. B007SHU

      Stand the manual transmission assembly as shown in the illustration.

    2. Using a plastic hammer, carefully tap off the manual transmission case.

    3. Remove the manual transmission case from the intermediate plate as shown in the illustration.

  18. FIX INTERMEDIATE PLATE


    1. B007VYO

      Fix the intermediate plate in a vise.

  19. REMOVE SHIFT DETENT BALL


    1. B007RWU

      Using a "torx" socket wrench T40, remove the 3 shift detent ball spring seats No.1 from the intermediate plate.

    2. B007WE3

      Using a magnetic finger, remove the 3 compression springs and 3 shift detent balls from the intermediate plate.

  20. REMOVE SHIFT DETENT BALL NO.2


    1. B007PZ6

      Using a "torx" socket wrench T40, remove the shift detent ball spring seat No.2 from the intermediate plate.

    2. B007QD9

      Using a magnetic finger, remove the compression spring and shift detent ball No.2 from the intermediate plate.

  21. REMOVE GEAR SHIFT FORK SHAFT NO.4


    1. B007TG2

      Remove the shift fork bolt from the gear shift fork No.3.

    2. B007VTW

      Using a pin punch (5 mm) and a hammer, remove the slotted spring pin from the reverse shift head.

    3. B007U37

      Using 2 screwdrivers and a hammer, remove the shaft snap ring from the gear shift fork shaft No.4

      Note

      Use a shop rag to prevent the snap ring from flying off.

    4. B007ONO

      Remove the ball from the intermediate plate.

    5. B007Q0U

      Remove the gear shift fork shaft No.4 and reverse shift fork ball.

  22. REMOVE REVERSE SHIFT HEAD


    1. B007SI3

      Remove the reverse shift head from the reverse shift fork shaft.

  23. REMOVE GEAR SHIFT HEAD NO.3


    1. B007PHH

      Using a pin punch (5 mm) and a hammer, remove the slotted spring pin from the gear shift head No.3.

    2. Remove the gear shift head from the reverse shift fork shaft.

  24. REMOVE SHIFT INTER LOCK PIN NO.2


    1. B007V8Z

      Using a magnetic finger, remove shift inter lock pin No.2 from the reverse shift fork shaft.

  25. REMOVE REVERSE SHIFT FORK SHAFT


    1. B007QZR

      Remove the reverse shift fork shaft, ball and compression spring.

      Note

      Cover the hole with a shop rag to prevent the ball from popping out.

  26. REMOVE SHIFT INTER LOCK PIN NO.1


    1. B007WF8

      Using a magnetic finger, remove the shift inter lock pin No.1 from the intermediate plate.

  27. REMOVE SHIFT INTER LOCK PIN NO.2


    1. B007PLC

      Using a magnetic finger, remove shift inter lock pin No.2 from the gear shift fork shaft No.2.

  28. REMOVE GEAR SHIFT FORK SHAFT NO.2


    1. B007OZD

      Using a pin punch and a hammer, remove the slotted spring pin from the gear shift fork No.2.

    2. B007RS5

      Remove the shift fork shaft snap ring from the gear shift fork shaft No.2.

    3. B007QI9

      Remove the gear shift fork shaft No.2 from the intermediate plate.

  29. REMOVE SHIFT INTER LOCK PIN NO.1


    1. B007QJ3

      Using a magnetic finger, remove shift inter lock pin No.1 from the intermediate plate.

  30. REMOVE GEAR SHIFT FORK SHAFT NO.1


    1. B007RUF

      Remove the shift fork bolt from the gear shift fork No.1.

    2. B007W0M

      Remove the gear shift fork shaft No.1 assembly and gear shift fork No.1 from the intermediate plate.

    3. B007R63

      Using a pin punch (5 mm) and a hammer, remove the slotted spring pin from the gear shift head No.1.

    4. Remove the gear shift head No.1 from the gear shift fork shaft No.1.

  31. REMOVE GEAR SHIFT FORK NO.2


    1. B007QJ8

      Remove the gear shift fork No.2 from the transmission hub sleeve No.2.

  32. INSPECT COUNTER SHAFT 5TH GEAR THRUST CLEARANCE


    1. B007URZ

      Using a feeler gauge, measure the counter shaft 5th gear thrust clearance.

      Standard clearance
      0.125 to 0.325 mm (0.0049 to 0.0128 in.)
      Maximum clearance
      0.325 mm (0.0128 in.)
  33. REMOVE COUNTER SHAFT 5TH GEAR


    1. B007UBZ

      Using 2 screwdrivers and a hammer, tap out the counter gear rear shaft snap ring from the counter gear.

    2. B007PRJE01

      Using SST, remove the gear spline piece No.5 and synchronizer ring No.3 from the counter gear.

      SST
      09950-50013   ( 09951-05010, 09952-05010, 09953-05010, 09954-05021 )
    3. B007OOS

      Remove the counter shaft 5th gear assembly and counter 5th gear bearing from the counter gear.

  34. REMOVE 5TH GEAR THRUST WASHER


    1. B007R5J

      Remove the 5th gear thrust washer from the counter gear.

    2. B007QEJ

      Using a magnetic finger, remove the 5th gear bearing inner race lock ball from the counter gear.

  35. REMOVE REVERSE SHIFT ARM BRACKET


    1. B007PIC

      Remove the 2 bolts and reverse shift arm bracket with the shift arm from the intermediate plate.

  36. REMOVE REVERSE SHIFT ARM


    1. B007UPV

      Using a screwdriver, remove the E-ring.

    2. Remove the shift fork from the shift arm.

  37. REMOVE REVERSE IDLER GEAR SUB-ASSEMBLY


    1. B007W0Q

      Remove the bolt and reverse idler gear shaft stopper from the intermediate plate.

    2. B007SDG

      Remove the the reverse idler gear shaft and reverse idler gear sub-assembly from the intermediate plate.

  38. INSPECT REVERSE IDLER GEAR RADIAL CLEARANCE


    1. B007U5J

      Using a dial indicator, inspect the reverse idler gear radial clearance.

      Standard clearance
      0.04 to 0.08 mm (0.0016 to 0.0031 in.)
      Maximum clearance
      0.13 mm (0.0051 in.)

      If the clearance exceeds the maximum, replace the reverse idler gear.

  39. INSPECT REVERSE IDLER GEAR SUB-ASSEMBLY


    1. B007Q61E01

      Using a feeler gauge, measure the clearance between the reverse idler gear and reverse shift arm.

      Standard clearance
      0.05 to 0.35 mm (0.0020 to 0.0138 in.)
      Maximum clearance
      0.35 mm (0.0138 in.)

      If the clearance exceeds the maximum, replace the reverse idler gear and reverse shift arm.

  40. REMOVE OUTPUT SHAFT REAR BEARING(MTM) RETAINER


    1. B007R73

      Using a "torx" socket wrench T40, remove the 4 screws and output shaft rear bearing retainer from the intermediate plate.

  41. REMOVE COUNTER GEAR


    1. B007RUV

      Using a snap ring expander, remove the snap ring from the counter shaft center bearing.

    2. B007V30E01

      Using SST, remove the counter shaft center bearing and the counter gear assembly from the intermediate plate.

      SST
      09950-40011   ( 09951-04010, 09952-04010, 09953-04010, 09954-04010, 09955-04011, 09958-04011 )
  42. REMOVE INPUT SHAFT ASSEMBLY


    1. B007QWP

      Remove the input shaft assembly with the 13 input shaft bearings and synchronizer ring No.1 from the output shaft.

  43. REMOVE OUTPUT SHAFT ASSEMBLY


    1. B007U7Z

      Using a snap ring expander, remove the output shaft bearing snap ring from the output shaft assembly.

    2. B007UIA

      Remove the output shaft assembly from the intermediate plate by pulling on the output shaft assembly and tapping on the intermediate plate with a plastic hammer.