ENTRY AND START SYSTEM(for Start Function), Diagnostic DTC:B2284

DTC Code DTC Name
B2284 Brake Signal Malfunction

DESCRIPTION

This DTC is stored when the brake signal sent via direct line and the brake signal sent via CAN communication do not match.

Tip:

When the cable is disconnected and reconnected to the negative (-) auxiliary battery terminal, the power source mode returns to the state it was in before the cable was disconnected.

DTC No.

Detection Item

DTC Detection Condition

Trouble Area

DTC Output from

B2284

Brake Signal Malfunction

The brake signal sent via direct line and the brake signal sent via CAN communication (1-trip detection logic*) do not match.

  • AM2 fuse

  • STOP fuse

  • Certification ECU (smart key ECU assembly)

  • Harness or connector

Connect the cable to the negative (-) auxiliary battery terminal, release the brake pedal and wait 20 seconds or more. Then depress the brake pedal for 20 seconds or more.

*: Only detected while a malfunction is present and the power switch is on (IG)

Table 1. Vehicle Condition and Fail-safe Function when Malfunction Detected

Vehicle Condition when Malfunction Detected

Fail-safe Function when Malfunction Detected

With the electrical key transmitter sub-assembly in the cabin, even if an hybrid control system start operation is performed, the hybrid control system does not start (the indicator in the combination meter is not illuminated). However, the hybrid control system can be started by turning the power switch on (ACC) and then pressing and holding it.

  • If there is a malfunction when the direct line is on, the hybrid control system can be started by pressing the power switch with the brake pedal released.

  • If there is a malfunction when the direct line is off, the hybrid control system cannot be started by pressing the power switch with the brake pedal depressed.

-

Table 2. Related Data List and Active Test Items

DTC

Data List Item

Active Test Item

B2284

  • Power Source Control:

  • Stop Light Switch1

  • ABS/VSC/TRAC:

  • Stop Light SW

-

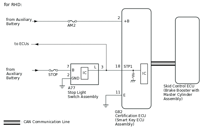
WIRING DIAGRAM

C329994E07
C329994E08

CAUTION / NOTICE / HINT

Note:
  • When using the GTS with the power switch off to troubleshoot:

    Connect the GTS to the DLC3 and turn a courtesy light switch on and off at 1.5 second intervals until communication between the GTS and vehicle begins.

  • The entry and start system (for Start Function) uses a multiplex communication system (LIN communication system) and the CAN communication system. Inspect the communication function by following How to Proceed with Troubleshooting (Click here). Troubleshoot the entry and start system (for Start Function) after confirming that the communication systems are functioning properly.

  • Before replacing the certification ECU (smart key ECU assembly) or ECM, refer to the entry and start system (for Start Function) precaution.

    Click here

  • Inspect the fuses of circuits related to this system before performing the following inspection procedure.

  • After performing repairs, perform the operation that fulfills the DTC output confirmation operation, and then confirm that no DTCs are output again.

Tip:

Check the connector connection to the terminal to make sure that there is no abnormality such as a loose connection, deformation, etc.

PROCEDURE

  1. READ VALUE USING GTS (STOP LIGHT SWITCH 1)

    1. Connect the GTS to the DLC3.

    2. Turn the power switch on (IG).

    3. Turn the GTS on.

    4. Enter the following menus: Body Electrical / Power Source Control / Data List.

    5. Read the Data List according to the display on the GTS.

      Body Electrical > Power Source Control > Data List

      Tester Display

      Measurement Item

      Range

      Normal Condition

      Diagnostic Note

      Stop Light Switch1

      State of brake pedal

      ON or OFF

      ON: Brake pedal depressed

      OFF: Brake pedal released

      • Use this item to determine whether the stop light switch is malfunctioning.

      • The hybrid control system cannot be started when this item is OFF.

      • If the stop light switch is malfunctioning, the hybrid control system can be started by pressing and holding the power switch for a certain period of time.

      Body Electrical > Power Source Control > Data List

      Tester Display

      Stop Light Switch1

      OK

      ON (brake pedal is depressed) and OFF (brake pedal is released) appear on the screen.

      Result

      Proceed to

      OK

      NG

    OK

    GO TO HYBRID CONTROL SYSTEM (HOW TO PROCEED WITH TROUBLESHOOTING)

    NG
  2. CHECK HARNESS AND CONNECTOR (POWER SOURCE)

    1. B268625C36

      *a

      Rear view of wire harness connector

      (to Certification ECU (Smart Key ECU Assembly))

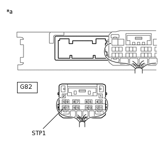
      Disconnect the G82 certification ECU (smart key ECU assembly) connector.

    2. Measure the voltage according to the value(s) in the table below.

      Standard Voltage

      Tester Connection

      Condition

      Specified Condition

      G82-2 (+B) - Body ground

      Always

      11 to 14 V

    Result

    Proceed to

    OK

    NG

    NG

    REPAIR OR REPLACE HARNESS OR CONNECTOR IN CIRCUIT CONNECTED TO POWER SOURCE

    OK
  3. CHECK HARNESS AND CONNECTOR (GROUND)

    1. B268625C38

      *a

      Rear view of wire harness connector

      (to Certification ECU (Smart Key ECU Assembly))

      Disconnect the G82 certification ECU (smart key ECU assembly) connector.

    2. Measure the resistance according to the value(s) in the table below.

      Standard Resistance

      Tester Connection

      Condition

      Specified Condition

      G82-11 (E) - Body ground

      Always

      Below 1 Ω

    Result

    Proceed to

    OK

    NG

    NG

    REPAIR OR REPLACE HARNESS OR CONNECTOR

    OK
  4. CHECK HARNESS AND CONNECTOR (CERTIFICATION ECU (SMART KEY ECU ASSEMBLY) - STOP LIGHT SWITCH ASSEMBLY)

    1. Disconnect the G82 certification ECU (smart key ECU assembly) connector.

    2. Disconnect the A77*1 or A100*2 connector from the stop light switch assembly.

      • *1: for RHD

      • *2: for LHD

    3. E233306C53

      *a

      Front view of wire harness connector

      (to Stop Light Switch Assembly)

      for RHD:

      Measure the voltage and resistance according to the value(s) inthe table below.

      Standard Voltage

      Tester Connection

      Condition

      Specified Condition

      A77-7 (B) - Body ground

      Always

      11 to 14 V

      Standard Resistance

      Tester Connection

      Condition

      Specified Condition

      G82-18 (STP1) - A77-3 (L)

      Always

      Below 1 Ω

      A77-2 (GND) - Body ground

      Below 1 Ω

    4. C285316C08

      *a

      Front view of wire harness connector

      (to Stop Light Switch Assembly)

      for LHD:

      Measure the voltage and resistance according to the value(s) inthe table below.

      Standard Voltage

      Tester Connection

      Condition

      Specified Condition

      A100-1 (B) - Body ground

      Always

      11 to 14 V

      Standard Resistance

      Tester Connection

      Condition

      Specified Condition

      G82-18 (STP1) - A100-2 (L)

      Always

      Below 1 Ω

      A100-3 (GND) - Body ground

      Below 1 Ω

    Result

    Proceed to

    OK

    NG

    NG

    REPAIR OR REPLACE HARNESS OR CONNECTOR

    OK
  5. CHECK CERTIFICATION ECU (SMART KEY ECU ASSEMBLY)

    1. B269097C13

      *a

      Rear view of wire harness connector

      (to Certification ECU (Smart Key ECU Assembly))

      Reconnect the A77*1 or A100*2 connector from the stop light switch assembly.

      • *1: for RHD

      • *2: for LHD

    2. Measure the voltage according to the value(s) in the table below.

      Standard Voltage

      Tester Connection

      Condition

      Specified Condition

      G82-18 (STP1) - Body ground

      Brake pedal released

      1 V or less

      Brake pedal depressed

      9 V or higher

    Result

    Proceed to

    OK

    NG

    OK

    REPLACE CERTIFICATION ECU (SMART KEY ECU ASSEMBLY)

    NG

    REPLACE STOP LIGHT SWITCH ASSEMBLY