ENTRY AND START SYSTEM(for Start Function) OPERATION CHECK


  1. OPERATION DESCRIPTION


    1. Push-button start function:


      1. When the electrical key transmitter sub-assembly is in a detection area inside the vehicle and the brake pedal is depressed, the hybrid control system is started by pressing the power switch.

      2. When the electrical key transmitter sub-assembly is in a detection area inside the vehicle and the brake pedal is not depressed, the power source mode is changed by pressing the power switch. The power source mode changes in the following order every time the power switch is pressed: off → on (ACC) → on (IG) → off.

      3. A005CCY

        After getting into the vehicle while carrying the electrical key transmitter sub-assembly when the power switch is off, if the power switch is pressed while not depressing the brake pedal, the power source mode changes to on (ACC) and "POWER ON"*1 or the smart warning light blinks green*2 in the combination meter assembly.


        • *1: w/ Multi-information Display

        • *2: w/o Multi-information Display

      4. A005AADE01
        Text in Illustration
        *a Smart Warning Light Blinks Green (w/o Multi-information Display)
        *b Smart Warning Light Displayed (w/ Multi-information Display)

        After getting into the vehicle while carrying the electrical key transmitter sub-assembly when the power switch is off, if the power switch is pressed 2 times without depressing the brake pedal, the power source mode changes to on (IG) and "POWER ON"*1 or the smart warning light blinks green*2 in the combination meter assembly.


        • *1: w/ Multi-information Display

        • *2: w/o Multi-information Display

      5. After getting into the vehicle while carrying the electrical key transmitter sub-assembly when the power switch is off, if the brake pedal is depressed while park (P) has been selected the smart warning light illuminates green*1 or the smart warning light is displayed*2.


        • *1: w/ Multi-information Display

        • *2: w/o Multi-information Display

      6. A005EHYE03
        Text in Illustration
        *a Smart Warning Light Illuminates Green (w/ Multi-information Display (Segment LCD Type))
        *b Smart Warning Light Displayed (w/ Multi-information Display (Dot LCD Type))

        The hybrid control system starts if the power switch is pressed when the smart warning light illuminates green*1 or the smart warning light is displayed*2.


        • *1: w/ Multi-information Display

        • *2: w/o Multi-information Display

    2. Changing the power source mode when the electrical key transmitter sub-assembly does not operate correctly due to wave interference or transmitter battery depletion:


      1. Unlock the door using the built-in mechanical key and get into the vehicle while carrying the electrical key transmitter sub-assembly.

      2. While depressing the brake pedal and facing the logo side of the electrical key transmitter sub-assembly towards the power switch, hold the electrical key transmitter sub-assembly near the power switch.

      3. A005AADE01
        Text in Illustration
        *a Smart Warning Light Blinks Green (w/o Multi-information Display)
        *b Smart Warning Light Displayed (w/ Multi-information Display)

        A buzzer in the combination meter assembly will sound and the power source mode changes to on (IG) and "POWER ON" is displayed. Pressing the power switch without depressing the brake pedal turns the power source mode from on (IG) to off.

    3. Starting the hybrid control system when the electrical key transmitter sub-assembly does not operate correctly due to wave interference or transmitter battery depletion:


      1. Unlock the door using the built-in mechanical key and get into the vehicle while carrying the electrical key transmitter sub-assembly.

      2. While depressing the brake pedal with park (P) selected and facing the logo side of the electrical key transmitter sub-assembly towards the power switch, hold the electrical key transmitter sub-assembly near the power switch.

      3. A buzzer in the combination meter assembly sounds, the power source mode changes to on (IG).

      4. Press the power switch with the brake pedal depressed to start the hybrid control system.

  2. CHECK PUSH-BUTTON START FUNCTION


    1. Check the push-button start function:


      1. A005AADE01
        Text in Illustration
        *a Smart Warning Light Blinks Green (w/o Multi-information Display)
        *b Smart Warning Light Displayed (w/ Multi-information Display)

        w/ Multi-information Display:

        Get into the vehicle while carrying the key. With the power switch off and the shift lever in P or N, check that the smart warning light illuminates green when the brake pedal is depressed. Check that the hybrid control system starts when the power switch is pressed with the smart warning light illuminated in green.

      2. A005AADE01
        Text in Illustration
        *a Smart Warning Light Blinks Green (w/o Multi-information Display)
        *b Smart Warning Light Displayed (w/ Multi-information Display)

        w/o Multi-information Display:

        Get into the vehicle while carrying the electrical key transmitter sub-assembly with the power switch off. With the shift lever in P or N, check that the smart warning light is displayed when the brake pedal is depressed. Check that the hybrid control system starts when the power switch is pressed after the smart warning light is displayed.

      3. While the brake pedal is released and the electrical key transmitter sub-assembly is being carried, check that the power source mode changes in the following order when the power switch is pressed: off → on (ACC) → on (IG) → off.

      4. A005BKBE02
        Text in Illustration
        *a Inspection Point

        Check the push-button start function operation range for the front side. Place the electrical key transmitter sub-assembly at either inspection point so that it is facing the direction shown in the illustration, and then check that the hybrid control system can be started.

        Note

        Even if the electrical key transmitter sub-assembly is in a vehicle interior key detection area, the electrical key transmitter sub-assembly may not be properly detected if the electrical key transmitter sub-assembly is on the instrument panel, in the glove box or on the floor.

        Tech Tips


        • Communication may not be possible if the electrical key transmitter sub-assembly is within 0.2 m (0.656 ft.) of the shift lever.

        • Perform this inspection for both inspection points.

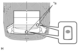
      5. A005C4CE02
        Text in Illustration
        *a Inspection Point

        Check the push-button start function operation range for the rear side. Place the electrical key transmitter sub-assembly at either inspection point so that it is facing the direction as shown in the illustration, and then check that the hybrid control system can be started.

        Note

        Even if the electrical key transmitter sub-assembly is in a vehicle interior key detection area, the electrical key transmitter sub-assembly may not be properly detected if the electrical key transmitter sub-assembly is on the instrument panel, in the glove box or on the floor.

        Tech Tips


        • Communication may not be possible if the electrical key transmitter sub-assembly is within 0.2 m (0.656 ft.) of the center of the rear seat.

        • Perform this inspection for both inspection points.

  3. CHECK TRANSMITTER BATTERY SAVING FUNCTION


    1. Check the transmitter battery saving function:


      1. Press the unlock switch of the electrical key transmitter sub-assembly twice while pressing the lock button and check that the electrical key transmitter sub-assembly LED blinks 4 times and enters transmitter battery saving mode.

      2. Check that the smart key system (for Start Function) does not operate while in transmitter battery saving mode.

        Tech Tips

        To cancel transmitter battery saving mode, press a button of the electrical key transmitter sub-assembly.

  4. CHECK POWER SOURCE MODE CHANGING FUNCTION


    1. Check the power switch.


      1. Check that the power source mode changes according to the chart below.

        Shift Position Brake Pedal Power Source Mode when power switch Pressed
        Park (P) selected Released Off → on (ACC) → on (IG) → off
        Park (P) selected Released On (READY) → off
        Park (P) selected Released On (ACC)* → on (IG)
        Park (P) selected Depressed Off → on (READY)
        Park (P) selected Depressed On (ACC) → on (READY)
        Park (P) selected Depressed On (IG) → on (READY)
        Park (P) selected Depressed On (READY) → off
        Park (P) selected Depressed On (ACC)* → on (READY)
        Park (P) not selected Released or Depressed On (ACC) → on (IG)
        Park (P) not selected Released or Depressed On (READY) → off
        Park (P) not selected Released or Depressed On (IG) → off

        Tech Tips


        • *: This situation is only applicable when the power source mode has changed from on (IG) to on (ACC). (Excluding an emergency stop by pressing the power switch 3 times quickly or pressing and holding the power switch for 2 seconds or more.)

  5. CHECK POWER SOURCE MODE INDICATION


    1. A005EW1E05
      Text in Illustration
      *a Smart Warning Light

      Check the smart warning (w/o Multi-information Display (Segment LCD Type)).

      Indicator Inspection
      Power Source Mode Indicator

      Off

      (Excluding condition in which the hybrid control system can be started)

      Off

      On (ACC)

      (Excluding condition in which the hybrid control system can be started)

      Blinks in green

      On (IG)

      (Excluding condition in which the hybrid control system can be started)

      Blinks in green
      Condition in which hybrid control system can be started*1 Illuminates in green
      Hybrid control system started Off
    2. A005BM9E02
      Text in Illustration
      *a "POWER ON" Display
      *b Smart Warning Light Display

      Check the smart warning (w/ Multi-information Display).

      Multi-information Display Inspection
      Power Source Mode Multi-information Display

      Off

      (Excluding conditions in which the hybrid control system can be started)

      Off

      On (ACC)

      (Excluding conditions in which the hybrid control system can be started)

      "POWER ON" displayed

      On (IG)

      (Excluding conditions in which the hybrid control system can be started)

      "POWER ON" displayed
      Conditions in which hybrid control system can be started*1 Key Warning Light displayed
      Hybrid control system started Off

      Tech Tips

      *1: Indicates the conditions in which the hybrid control system can be started by pressing the power switch while either of the following conditions is met:


      • Condition 1

        All of the following conditions are met:


        • The power source mode was turned from on (IG) to on (ACC).

        • Key verification is OK*2 or immobiliser is unset (power switch is on (ACC) or on (IG)).

        • The stop light switch is on.


      • Condition 2

        All of the following conditions are met:


        • The power source mode was not turned from on (IG) to on (ACC).

        • Key verification is OK*2 or immobiliser is unset (power switch is on (ACC) or on (IG)).

        • The stop light switch is on.

      *2: When the electrical key transmitter sub-assembly is in the cabin, the ID code sent as a result from communication between the electrical key transmitter sub-assembly and certification ECU (smart key ECU assembly) and the ID code calculated by the certification ECU (smart key ECU assembly) are compared. If the ID codes match each other, the vehicle recognizes that the electrical key transmitter sub-assembly is in the cabin.