AIRBAG SYSTEM(w/ Occupant Classification System), Diagnostic DTC:B1835/58,B1836/58,B1837/58 and B1838/58

DTC Code DTC Name
B1835/58 Short in Curtain Shield Squib LH Circuit
B1836/58 Open in Curtain Shield Squib LH Circuit
B1837/58 Short to GND in Curtain Shield Squib LH Circuit
B1838/58 Short to B+ in Curtain Shield Squib LH Circuit

DESCRIPTION

The curtain shield squib LH circuit consists of the airbag sensor assembly and curtain shield airbag assembly LH.

The circuit instructs the SRS to deploy when deployment conditions are met.

These DTCs are stored when a malfunction is detected in the curtain shield squib LH circuit.

DTC No.

Detection Item

DTC Detection Condition

Trouble Area

B1835/58

Short in Curtain Shield Squib LH Circuit

One of the following conditions is met:

  • The airbag sensor assembly detects a line short circuit signal 5 times in the curtain shield squib LH circuit during the primary check.

  • A curtain shield squib LH malfunction.

  • An airbag sensor assembly malfunction.

  • No. 2 floor wire

  • Curtain shield airbag assembly LH (Curtain shield squib LH)

  • Airbag sensor assembly

B1836/58

Open in Curtain Shield Squib LH Circuit

One of the following conditions is met:

  • The airbag sensor assembly detects an open circuit signal in the curtain shield squib LH circuit for 2 seconds.

  • A curtain shield squib LH malfunction.

  • An airbag sensor assembly malfunction.

  • No. 2 floor wire

  • Curtain shield airbag assembly LH (Curtain shield squib LH)

  • Airbag sensor assembly

B1837/58

Short to GND in Curtain Shield Squib LH Circuit

One of the following conditions is met:

  • The airbag sensor assembly detects a short circuit to ground signal in the curtain shield squib LH circuit for 0.5 seconds.

  • A curtain shield squib LH malfunction.

  • An airbag sensor assembly malfunction.

  • No. 2 floor wire

  • Curtain shield airbag assembly LH (Curtain shield squib LH)

  • Airbag sensor assembly

B1838/58

Short to B+ in Curtain Shield Squib LH Circuit

One of the following conditions is met:

  • The airbag sensor assembly detects a short circuit to B+ signal in the curtain shield squib LH circuit for 0.5 seconds.

  • A curtain shield squib LH malfunction.

  • An airbag sensor assembly malfunction.

  • No. 2 floor wire

  • Curtain shield airbag assembly LH (Curtain shield squib LH)

  • Airbag sensor assembly

WIRING DIAGRAM

C253326E57

CAUTION / NOTICE / HINT

Note:
  • After turning the power switch off, waiting time may be required before disconnecting the cable from the negative (-) auxiliary battery terminal. Therefore, make sure to read the disconnecting the cable from the negative (-) auxiliary battery terminal notices before proceeding with work.

    Click hereClick hereClick hereClick here

  • When disconnecting the cable from the negative (-) auxiliary battery terminal while performing repairs, some systems need to be initialized after the cable is reconnected.

    Click hereClick hereClick here

  • After replacing the airbag sensor assembly, refer to initialization.

    Click hereClick hereClick here

Tip:

To perform the simulation method, enter check mode (signal check) with the GTS (Click here), and then wiggle each connector of the airbag system or drive the vehicle on various types of road (Click here).

PROCEDURE

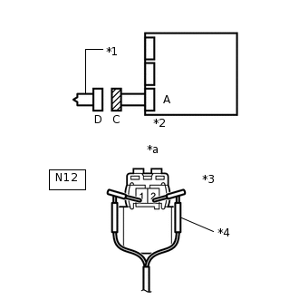
  1. CHECK CURTAIN SHIELD AIRBAG ASSEMBLY LH (CURTAIN SHIELD SQUIB LH)

    1. C217720C01

      *1

      Curtain Shield Squib LH

      *2

      Airbag Sensor Assembly

      *3

      Connector C

      *4

      SST

      *a

      Front view of wire harness connector

      (to Curtain Shield Squib LH)

      Turn the power switch off.

    2. Disconnect the cable from the negative (-) auxiliary battery terminal, and wait for at least 90 seconds.

    3. Disconnect the connectors from the curtain shield airbag assembly LH.

    4. Connect the white wire side of SST (resistance: 2.1 Ω) to connector C.

      CAUTION:

      Never connect the tester to the curtain shield airbag assembly LH (curtain shield squib LH) for measurement, as this may lead to a serious injury due to airbag deployment.

      Note:
      • Do not forcibly insert SST into the terminals of the connector when connecting SST.

      • Insert SST straight into the terminals of the connector.

    5. Connect the cable to the negative (-) auxiliary battery terminal, and wait for at least 2 seconds.

    6. Turn the power switch to on (IG), and wait for at least 60 seconds.

    7. Clear the DTCs.

      Click here

      Body Electrical > SRS Airbag > Clear DTCs

    8. Turn the power switch off.

    9. Turn the power switch to on (IG), and wait for at least 60 seconds.

    10. Check for DTCs.

      Click here

      Body Electrical > SRS Airbag > Trouble Codes

      Result

      Proceed to

      DTC B1835/58, B1836/58, B1837/58 or B1838/58 is not output

      DTC B1835/58, B1836/58, B1837/58 or B1838/58 is output

      Tip:

      Codes other than DTC B1835/58, B1836/58, B1837/58 and B1838/58 may be output at this time, but they are not related to this check.

    11. Turn the power switch off.

    12. Disconnect the cable from the negative (-) auxiliary battery terminal, and wait for at least 90 seconds.

    13. Disconnect SST from connector C.

    09843-18061

    DTC B1835/58, B1836/58, B1837/58 or B1838/58 is not output

    REPLACE CURTAIN SHIELD AIRBAG ASSEMBLY LH

    DTC B1835/58, B1836/58, B1837/58 or B1838/58 is output
  2. CHECK CONNECTOR

    1. Disconnect the connectors from the airbag sensor assembly.

    2. C208250C03

      *1

      Curtain Shield Squib LH

      *2

      No. 2 Floor Wire

      *3

      Airbag Sensor Assembly

      Check that the connectors (on the airbag sensor assembly side and curtain shield airbag assembly LH side) are not damaged.

      OK

      The lock button is not disengaged, and the claw of the lock is not deformed or damaged.

    Result

    Proceed to

    OK

    NG

    NG

    REPLACE NO. 2 FLOOR WIRE

    OK
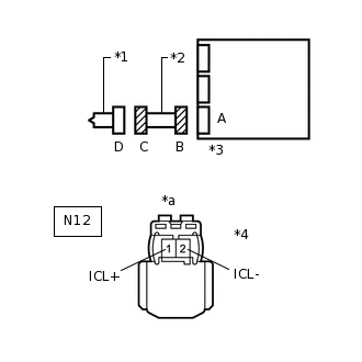
  3. CHECK CURTAIN SHIELD SQUIB LH CIRCUIT

    1. C217721C01

      *1

      Curtain Shield Squib LH

      *2

      No. 2 Floor Wire

      *3

      Airbag Sensor Assembly

      *4

      Connector C

      *a

      Front view of wire harness connector

      (to Curtain Shield Squib LH)

      Connect the cable to the negative (-) auxiliary battery terminal, and wait for at least 2 seconds.

    2. Turn the power switch to on (IG).

    3. Measure the voltage according to the value(s) in the table below.

      Standard Voltage

      Tester Connection

      Switch Condition

      Specified Condition

      N12-1 (ICL+) - Body ground

      Power switch on (IG)

      Below 1 V

      N12-2 (ICL-) - Body ground

      Power switch on (IG)

      Below 1 V

    4. Turn the power switch off.

    5. Disconnect the cable from the negative (-) auxiliary battery terminal, and wait for at least 90 seconds.

    6. Measure the resistance according to the value(s) in the table below.

      Standard Resistance

      Tester Connection

      Condition

      Specified Condition

      N12-1 (ICL+) - N12-2 (ICL-)

      Always

      Below 1 Ω

    7. Release the activation prevention mechanism built into connector B.

      Click here

    8. Measure the resistance according to the value(s) in the table below.

      Standard Resistance

      Tester Connection

      Condition

      Specified Condition

      N12-1 (ICL+) - N12-2 (ICL-)

      Always

      1 MΩ or higher

    9. Restore the released activation prevention mechanism of connector B to its original condition.

    10. Measure the resistance according to the value(s) in the table below.

      Standard Resistance

      Tester Connection

      Condition

      Specified Condition

      N12-1 (ICL+) - Body ground

      Always

      1 MΩ or higher

      N12-2 (ICL-) - Body ground

      Always

      1 MΩ or higher

    Result

    Proceed to

    OK

    NG

    NG

    REPLACE NO. 2 FLOOR WIRE

    OK
  4. CHECK AIRBAG SENSOR ASSEMBLY

    1. C146261C12

      *1

      Curtain Shield Squib LH

      *2

      Airbag Sensor Assembly

      Connect the connectors to the curtain shield airbag assembly LH and airbag sensor assembly.

    2. Connect the cable to the negative (-) auxiliary battery terminal, and wait for at least 2 seconds.

    3. Turn the power switch to on (IG), and wait for at least 60 seconds.

    4. Clear the DTCs.

      Click here

      Body Electrical > SRS Airbag > Clear DTCs

    5. Turn the power switch off.

    6. Turn the power switch to on (IG), and wait for at least 60 seconds.

    7. Check for DTCs.

      Click here

      Body Electrical > SRS Airbag > Trouble Codes

      Result

      Proceed to

      DTC B1835/58, B1836/58, B1837/58 or B1838/58 is not output

      DTC B1835/58, B1836/58, B1837/58 or B1838/58 is output

      Tip:

      Codes other than DTC B1835/58, B1836/58, B1837/58 and B1838/58 may be output at this time, but they are not related to this check.

    DTC B1835/58, B1836/58, B1837/58 or B1838/58 is not output

    USE SIMULATION METHOD TO CHECK

    DTC B1835/58, B1836/58, B1837/58 or B1838/58 is output

    REPLACE AIRBAG SENSOR ASSEMBLY