СИСТЕМА ДИФФЕРЕНЦИАЛОВ


  1. КОНСТРУКЦИЯ


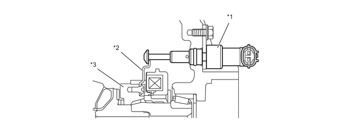
    1. Датчик положения блокировки заднего дифференциала (индикатор-переключатель раздаточной коробки) расположен с правой стороны заднего дифференциала.

      B002NLDC01
      *1 Датчик положения блокировки заднего дифференциала (индикатор-переключатель раздаточной коробки) - -
    2. Датчик положения блокировки заднего дифференциала (индикатор-переключатель раздаточной коробки) определяет состояние заднего дифференциала (режим FREE или режим LOCK) и соединен с позиционной пластиной, установленной на кулачковой шайбе.

      B002NFXC01
      *1 Датчик положения блокировки заднего дифференциала (индикатор-переключатель раздаточной коробки) *2 Позиционная пластина
      *3 Кулачковая шайба - -