BRAKE BOOSTER PUMP DISPOSAL

PROCEDURE

  1. DISPOSE OF BRAKE BOOSTER PUMP ASSEMBLY

    1. Remove the accumulator from the brake booster pump assembly.

    2. Secure the accumulator in a vise.

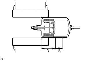
    3. C212399E01

      Using a hacksaw, make a cut in the side of the accumulator within location (A) to release the high-pressure gas.

      Location

      Length

      A

      25 mm (0.984 in.)

      B

      60 mm (2.36 in.)

      CAUTION:

      Small pieces of metal may fly out when cutting into the accumulator. Put a cloth over the hacksaw when cutting the accumulator. Cut the accumulator slowly so that the gas will be released gradually.

      Tip:

      The gas is colorless, odorless and non-poisonous.