HYBRID TRANSAXLE FLUID ADJUSTMENT
PROCEDURE
DRAIN HYBRID TRANSAXLE FLUID
-
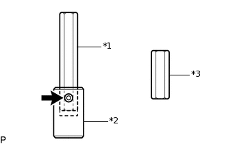
*1
Bit
*2
10 mm Socket Hexagon Wrench
*3
10 mm Straight Hexagon
Loosen the screw and remove the bit from the 10 mm socket hexagon wrench.
Install the 10 mm straight hexagon to the 10 mm socket hexagon wrench with the screw.
-

Turn
Using a 10 mm socket hexagon wrench, remove the filler plug and gasket from the rear traction motor with transaxle assembly.
-
*1
Drain Plug
Using a 10 mm socket hexagon wrench, remove the drain plug and gasket from the rear traction motor with transaxle assembly and drain the hybrid transaxle fluid.
Using a 10 mm socket hexagon wrench, install the drain plug and a new gasket to the rear traction motor with transaxle assembly.
39 N*m
398 kgf*cm
29 ft.*lbf
-
ADD HYBRID TRANSAXLE FLUID
-
*1
Filler Plug
*a
Filler Nozzle
*b
0 to 5 mm (0 to 0.196 in.)
Add hybrid transaxle fluid until the hybrid transaxle fluid level is between 0 to 5 mm (0 to 0.196 in.) from the bottom lip of the filler plug opening. [*]
Note:Use Toyota Genuine ATF WS.
Be sure to fully insert the filler nozzle into the filler plug opening.
Be sure to add hybrid transaxle fluid slowly. If hybrid transaxle fluid is added quickly, the hybrid transaxle fluid may hit internal parts and bounce back, resulting in hybrid transaxle fluid coming out of the filler plug opening.
Be sure to directly check that the hybrid transaxle fluid level is within the specified range.
An insufficient or excessive amount of hybrid transaxle fluid may damage the rear traction motor with transaxle assembly.
Reference
1.8 liters (1.9 US qts, 1.6 Imp. qts)
After adding hybrid transaxle fluid, leave the vehicle for 30 seconds so that the hybrid transaxle fluid surface can become still again, and then check that the hybrid transaxle fluid level is between 0 to 5 mm (0 to 0.196 in.) from the bottom lip of the filler plug opening. (If the hybrid transaxle fluid level is too low, return to the Add Hybrid Transaxle Fluid procedure [*].)
Note:After adding hybrid transaxle fluid, make sure to check the hybrid transaxle fluid level.
Using a 10 mm socket hexagon wrench, temporarily install the filler plug and gasket to the rear traction motor with transaxle assembly.
Tip:Reuse the old gasket as the filler plug will be removed again.
-
INSPECT HYBRID TRANSAXLE FLUID