POWER SEAT SWITCH(w/o Seat Position Memory System) INSPECTION

PROCEDURE


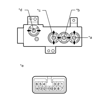
  1. INSPECT FRONT POWER SEAT SWITCH LH


    1. A01RF29C01
      *a Front Vertical Switch
      *b Slide Switch
      *c Lifter Switch
      *d Reclining Switch
      *e

      Component without harness connected

      (Front Power Seat Switch LH)

      Measure the resistance according to the value(s) in the table below.

      Standard Resistance
      Slide Switch
      Tester Connection Condition Specified Condition
      5 - 7

      Slide switch pressed

      (Front)

      Below 1 Ω
      5 - 8
      2 - 11
      2 - 12
      5 - 11 Off
      5 - 12
      2 - 11
      2 - 12
      5 - 11

      Slide switch pressed

      (Rear)

      5 - 12
      2 - 7
      2 - 8
      Front Vertical Switch
      Tester Connection Condition Specified Condition
      1 - 7

      Front vertical switch pressed

      (Up)

      Below 1 Ω
      1 - 8
      6 - 11
      6 - 12
      1 - 11 Off
      1 - 12
      6 - 11
      6 - 12
      1 - 11

      Front vertical switch pressed

      (Down)

      1 - 12
      6 - 7
      6 - 8
      Lifter Switch
      Tester Connection Condition Specified Condition
      3 - 7

      Lifter switch pressed

      (Up)

      Below 1 Ω
      3 - 8
      4 - 11
      4 - 12
      3 - 11 Off
      3 - 12
      4 - 11
      4 - 12
      3 - 11

      Lifter switch pressed

      (Down)

      3 - 12
      4 - 7
      4 - 8
      Reclining Switch
      Tester Connection Condition Specified Condition
      10 - 1

      Reclining switch pressed

      (Front)

      Below 1 Ω
      10 - 6
      10 - 7
      10 - 8
      9 - 11
      9 - 12
      10 - 11 Off
      10 - 12
      9 - 11
      9 - 12
      10 - 11

      Reclining switch pressed

      (Rear)

      10 - 12
      9 - 3
      9 - 4
      9 - 7
      9 - 8

      If the result is not as specified, replace the front power seat switch LH.

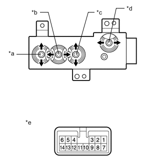
  2. INSPECT FRONT POWER SEAT SWITCH RH


    1. A01RENMC07
      *a Front Vertical Switch
      *b Slide Switch
      *c Lifter Switch
      *d Reclining Switch
      *e

      Component without harness connected

      (Front Power Seat Switch RH)

      Measure the resistance according to the value(s) in the table below.

      Standard Resistance
      Slide Switch
      Tester Connection Condition Specified Condition
      2 - 13

      Slide switch pressed

      (Front)

      Below 1 Ω
      2 - 14
      5 - 9
      5 - 10
      2 - 9 Off
      2 - 10
      5 - 9
      5 - 10
      2 - 9

      Slide switch pressed

      (Rear)

      2 - 10
      5 - 13
      5 - 14
      Front Vertical Switch
      Tester Connection Condition Specified Condition
      6 - 13

      Front vertical switch pressed

      (Up)

      Below 1 Ω
      6 - 14
      1 - 9
      1 - 10
      6 - 9 Off
      6 - 10
      1 - 9
      1 - 10
      6 - 9

      Front vertical switch pressed

      (Down)

      6 - 10
      1 - 13
      1 - 14
      Lifter Switch
      Tester Connection Condition Specified Condition
      4 - 13

      Lifter switch pressed

      (Up)

      Below 1 Ω
      4 - 14
      3 - 9
      3 - 10
      4 - 9 Off
      4 - 10
      3 - 9
      3 - 10
      4 - 9

      Lifter switch pressed

      (Down)

      4 - 10
      3 - 13
      3 - 14
      Reclining Switch
      Tester Connection Condition Specified Condition
      11 - 1

      Reclining switch pressed

      (Front)

      Below 1 Ω
      11 - 6
      11 - 13
      11 - 14
      12 - 9
      12 - 10
      11 - 9 Off
      11 - 10
      12 - 9
      12 - 10
      11 - 9

      Reclining switch pressed

      (Rear)

      11 - 10
      12 - 3
      12 - 4
      12 - 13
      12 - 14

      If the result is not as specified, replace the front power seat switch RH.