TELEMATICS SYSTEM, Diagnostic DTC:B15C0 and B15C1

DTC Code DTC Name
B15C0 Short in GPS Antenna
B15C1 Open in GPS Antenna

DESCRIPTION

These DTCs are stored when a malfunction occurs in the telephone antenna.

DTC No.

Detection Item

DTC Detection Condition

Trouble Area

B15C0

Short in GPS Antenna

Current to the telephone antenna assembly is lower than the malfunction threshold for 20 seconds when the power switch is on (IG).

(Short circuit)

  • Telematics transceiver

  • Antenna divider

  • No. 1 amplifier antenna assembly

  • No. 3 antenna cord sub-assembly

  • Harness or connector

B15C1

Open in GPS Antenna

Current for telephone antenna assembly is higher than the malfunction threshold for 20 seconds when the power switch is on (IG).

(Open circuit)

  • Telematics transceiver

  • Antenna Divider

  • No. 1 amplifier antenna assembly

  • No. 3 antenna cord sub-assembly

  • Harness or connector

WIRING DIAGRAM

E356065E01

CAUTION / NOTICE / HINT

Note:

Depending on the parts that are replaced during vehicle inspection or maintenance, performing initialization, registration or calibration may be needed. Refer to Registration for Telematics System.

Click here

PROCEDURE

  1. CHECK DTC

    1. Turn the power switch off.

    2. Connect the GTS to the DLC3.

    3. Turn the power switch on (IG) and wait for 20 seconds.

    4. Turn the GTS on.

    5. Check for DTCs and check that no DTCs are output.

      Click here

      Body Electrical > Telematics > Trouble Codes

      OK

      No DTCs are output.

    Result

    Proceed to

    OK

    NG

    OK

    USE SIMULATION METHOD TO CHECK

    NG
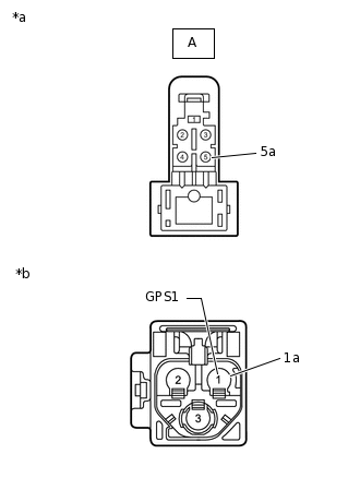
  2. INSPECT NO. 3 ANTENNA CORD SUB-ASSEMBLY

    1. Disconnect the antenna connector from the No. 1 amplifier antenna assembly.

    2. Disconnect the antenna connector from the wire harness.

    3. E350951C16

      *a

      Front view of wire harness connector

      (to No. 1 Amplifier Antenna Assembly)

      *b

      Front view of wire harness connector

      (to Wire Harness)

      Measure the resistance according to the value(s) in the table below.

      Standard Resistance

      Tester Connection

      Condition

      Specified Condition

      A-5 - 1 (GPS1)

      Always

      Below 1 Ω

      A-5a - 1a

      Always

      Below 1 Ω

      A-5 or 1 (GPS1) - Body ground

      Always

      10 kΩ or higher

      A-5a or 1a - Body ground

      Always

      10 kΩ or higher

    Result

    Proceed to

    OK

    NG

    NG

    REPLACE NO. 3 ANTENNA CORD SUB-ASSEMBLY

    OK
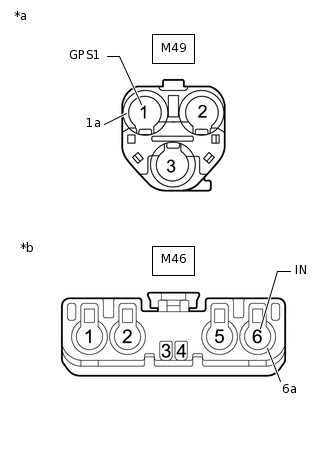
  3. CHECK HARNESS AND CONNECTOR (NO. 3 ANTENNA CORD SUB-ASSEMBLY - ANTENNA DIVIDER)

    1. E350976C08

      *a

      Front view of wire harness connector

      (to No. 3 Antenna Cord Sub-assembly)

      *b

      Front view of wire harness connector

      (to Antenna Divider)

      Disconnect the antenna connector from the No. 3 antenna cord sub-assembly.

    2. Disconnect the antenna connector from the antenna divider.

    3. Measure the resistance according to the value(s) in the table below.

      Standard Resistance

      Tester Connection

      Condition

      Specified Condition

      M49-1 (GPS1) - M46-6 (IN)

      Always

      Below 1 Ω

      M49-1a - M46-6a

      Always

      Below 1 Ω

      M49-1 (GPS1) or M46-6 (IN) - Body ground

      Always

      10 kΩ or higher

      M49-1a or M46-6a - Body ground

      Always

      10 kΩ or higher

    Result

    Proceed to

    OK

    NG

    NG

    REPAIR OR REPLACE HARNESS OR CONNECTOR

    OK
  4. INSPECT ANTENNA DIVIDER

    1. Remove the antenna divider.

      Click here

    2. E241596C14

      *a

      Component without harness connected

      (Antenna Divider)

      Measure the resistance according to the value(s) in the table below.

      Standard Resistance

      Tester Connection

      Condition

      Specified Condition

      2 - 6 (IN)

      Always

      10 kΩ or higher

      5 (OUT DCM) - 6 (IN)

      Always

      Below 1 Ω

      5 (OUT DCM) - 5a

      Always

      10 kΩ or higher

      6 (IN) - 6a

      Always

      10 kΩ or higher

    Result

    Proceed to

    OK

    NG

    NG

    REPLACE ANTENNA DIVIDER

    OK
  5. CHECK HARNESS AND CONNECTOR (ANTENNA DIVIDER - TELEMATICS TRANSCEIVER)

    1. E350977C06

      *a

      Front view of wire harness connector

      (to Antenna Divider)

      *b

      Front view of wire harness connector

      (to Telematics Transceiver)

      Disconnect the antenna connector from the antenna divider.

    2. Disconnect the antenna connector from the telematics transceiver.

    3. Measure the resistance according to the value(s) in the table below.

      Standard Resistance

      Tester Connection

      Condition

      Specified Condition

      M46-5 (OUT DCM) - M48-1 (ANT2)

      Always

      Below 1 Ω

      M46-5a - M48-1a

      Always

      Below 1 Ω

      M46-5 (OUT DCM) or M48-1 (ANT2) - Body ground

      Always

      10 kΩ or higher

      M46-5a or M48-1a - Body ground

      Always

      10 kΩ or higher

    Result

    Proceed to

    OK

    NG

    NG

    REPAIR OR REPLACE HARNESS OR CONNECTOR

    OK
  6. CHECK NO. 1 AMPLIFIER ANTENNA ASSEMBLY

    1. Replace the No. 1 amplifier antenna assembly with a new or known good one.

      Click here

    2. Clear the DTCs.

      Click here

      Body Electrical > Telematics > Clear DTCs

    3. Recheck for DTCs and check that no DTCs are output.

      Body Electrical > Telematics > Trouble Codes

      OK

      No DTCs are output.

    Result

    Proceed to

    OK

    NG

    OK

    END (NO. 1 AMPLIFIER ANTENNA ASSEMBLY IS DEFECTIVE)

    NG
  7. REPLACE TELEMATICS TRANSCEIVER

    1. Replace the telematics transceiver with a new one.

      Click here

    Result

    Proceed to

    NEXT

    NEXT

    PERFORM REGISTRATION