NAVIGATION SYSTEM Steering Pad Switch Circuit

DTC Code DTC Name
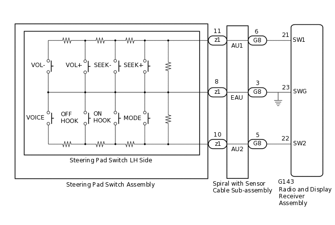
Steering Pad Switch Circuit

DESCRIPTION

This circuit sends an operation signal from the steering pad switch assembly to the radio and display receiver assembly.

If there is an open in the circuit, the audio system cannot be operated using the steering pad switch assembly.

If there is a short in the circuit, the same condition as when a switch is continuously depressed occurs.

Therefore, the radio and display receiver assembly cannot be operated using the steering pad switch assembly, and also the radio and display receiver assembly itself cannot function.

WIRING DIAGRAM

E342275E01

CAUTION / NOTICE / HINT

Note:
  • The vehicle is equipped with a Supplemental Restraint System (SRS) which includes components such as airbags. Before servicing (including removal or installation of parts), be sure to read the precaution for Supplemental Restraint System.

    Click here

  • Check that the wire harness is properly installed and does not have any sharp bends, pinching or loose connections.

    Click hereClick hereClick here

PROCEDURE

  1. INSPECT STEERING PAD SWITCH ASSEMBLY

    1. Remove the steering pad switch assembly.

      Click here

    2. Inspect the steering pad switch assembly.

      Click here

    Result

    Proceed to

    OK

    NG

    NG

    REPLACE STEERING PAD SWITCH ASSEMBLY

    OK
  2. INSPECT SPIRAL WITH SENSOR CABLE SUB-ASSEMBLY

    1. Remove the spiral with sensor cable sub-assembly.

      Click here

    2. Inspect the spiral with sensor cable sub-assembly.

      Click here

    Result

    Proceed to

    OK

    NG

    NG

    REPLACE SPIRAL WITH SENSOR CABLE SUB-ASSEMBLY

    OK
  3. CHECK HARNESS AND CONNECTOR (RADIO AND DISPLAY RECEIVER ASSEMBLY - SPIRAL WITH SENSOR CABLE SUB-ASSEMBLY)

    1. Disconnect the G143 radio and display receiver assembly connector.

    2. Disconnect the G8 spiral with sensor cable sub-assembly connector.

    3. Measure the resistance according to the value(s) in the table below.

      Standard Resistance

      Tester Connection

      Condition

      Specified Condition

      G143-21 (SW1) - G8-6 (AU1)

      Always

      Below 1 Ω

      G143-22 (SW2) - G8-5 (AU2)

      Always

      Below 1 Ω

      G143-23 (SWG) - G8-3 (EAU)

      Always

      Below 1 Ω

      G143-21 (SW1) - Body ground

      Always

      10 kΩ or higher

      G143-22 (SW2) - Body ground

      Always

      10 kΩ or higher

    Result

    Proceed to

    OK

    NG

    OK

    PROCEED TO NEXT SUSPECTED AREA SHOWN IN PROBLEM SYMPTOMS TABLE

    NG

    REPAIR OR REPLACE HARNESS OR CONNECTOR