СИСТЕМА ПОДУШЕК БЕЗОПАСНОСТИ SRS, диагностические DTC: B1805, B1806, B1807 и B1808

Код DTC Наименование DTC
B1805 Короткое замыкание в цепи пиропатрона P
B1806 Обрыв цепи пиропатрона P
B1807 Короткое замыкание в цепи пиропатрона P (на массу)
B1808 Короткое замыкание в цепи пиропатрона P (на +B)

ОПИСАНИЕ

Цепь пиропатрона подушки безопасности переднего пассажира включает центральный блок управления системы SRS и фронтальную подушку безопасности пассажира.

Центральный блок управления системы SRS использует эту цепь для развертывания подушки безопасности, когда выполняются условия развертывания.

Данные коды DTC регистрируются при обнаружении неисправности в цепи пиропатрона подушки безопасности переднего пассажира.

№ DTC

Неисправность

Условие обнаружения DTC

Неисправный участок

Индикация предупреждения

Режим диагностики / режим проверки

B1805

Короткое замыкание в цепи пиропатрона P

  • Блок управления системы SRS обнаруживает короткое замыкание в цепи пиропатрона подушки безопасности подушки безопасности переднего пассажира в ходе выполнения первичной проверки.

  • Неисправность пиропатрона подушки безопасности переднего пассажира

  • Неисправность блока управления системы SRS

  • Жгут проводов панели приборов

  • Жгут проводов панели приборов № 5

  • Пиропатрон подушки безопасности переднего пассажира (фронтальная подушка безопасности пассажира в сборе)

  • Центральный блок управления системы SRS

Загорается

Относится к режиму проверки

B1806

Обрыв цепи пиропатрона P

  • Блок управления системы SRS обнаруживает обрыв в цепи пиропатрона подушки безопасности подушки безопасности переднего пассажира.

  • Неисправность пиропатрона подушки безопасности переднего пассажира

  • Неисправность блока управления системы SRS

  • Жгут проводов панели приборов

  • Жгут проводов панели приборов № 5

  • Пиропатрон подушки безопасности переднего пассажира (фронтальная подушка безопасности пассажира в сборе)

  • Центральный блок управления системы SRS

Загорается

Относится к режиму проверки

B1807

Короткое замыкание в цепи пиропатрона P (на массу)

  • Блок управления системы SRS обнаруживает короткое замыкание на массу в цепи пиропатрона подушки безопасности подушки безопасности переднего пассажира.

  • Неисправность пиропатрона подушки безопасности переднего пассажира

  • Неисправность блока управления системы SRS

  • Жгут проводов панели приборов

  • Жгут проводов панели приборов № 5

  • Пиропатрон подушки безопасности переднего пассажира (фронтальная подушка безопасности пассажира в сборе)

  • Центральный блок управления системы SRS

Загорается

Относится к режиму проверки

B1808

Короткое замыкание в цепи пиропатрона P (на +B)

  • Блок управления системы SRS обнаруживает короткое замыкание на B+ в цепи пиропатрона подушки безопасности подушки безопасности переднего пассажира.

  • Неисправность пиропатрона подушки безопасности переднего пассажира

  • Неисправность блока управления системы SRS

  • Жгут проводов панели приборов

  • Жгут проводов панели приборов № 5

  • Пиропатрон подушки безопасности переднего пассажира (фронтальная подушка безопасности пассажира в сборе)

  • Центральный блок управления системы SRS

Загорается

Относится к режиму проверки

СХЕМА ЭЛЕКТРИЧЕСКИХ СОЕДИНЕНИЙ

B491807E01

ПРЕДОСТЕРЕЖЕНИЕ / ПРИМЕЧАНИЕ / УКАЗАНИЕ

Note:

После выключения двигателя следует подождать некоторое время, прежде чем отсоединять провод от отрицательного (–) вывода аккумуляторной батареи. Поэтому, прежде чем приступать к этой работе, обязательно ознакомьтесь с примечанием относительно отсоединения провода от отрицательного (-) вывода аккумуляторной батареи.

Нажмите здесьClick hereClick here

Tip:
  • Выполните проверку с имитацией условий возникновения неисправности, выбрав на GTS режим проверки (Signal Check).

    Нажмите здесьClick here

  • Выбрав режим проверки (Signal Check), выполните проверку с имитацией условий возникновения неисправности, пошевелив каждый разъем системы подушек безопасности или совершив поездку по городским дорогам или дорогам без покрытия

    Нажмите здесьClick hereClick hereClick here

ПОРЯДОК ВЫПОЛНЕНИЯ

  1. ПРОВЕРЬТЕ СОСТОЯНИЕ АВТОМОБИЛЯ

    1. Выберите модель для проверки.

    Result

    Result

    Перейти К

    Для моделей с системой классификации пассажиров

    A

    для моделей без системы классификации пассажиров

    B

    B

    ПРОВЕРЬТЕ РАЗЪЕМЫClick here

    A
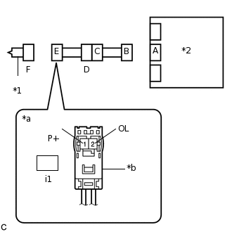
  2. ПРОВЕРЬТЕ РАЗЪЕМЫ

    1. C238337C01

      *1

      Фронтальная подушка безопасности переднего пассажира в сборе

      *2

      Центральный блок управления системы SRS

      *3

      Жгут проводов панели приборов № 5

      *4

      Жгут проводов панели приборов

      Выключите зажигание.

    2. Отсоедините провод от отрицательного вывода (-) аккумуляторной батареи.

      CAUTION:

      После отсоединения провода от отрицательного (-) вывода аккумуляторной батареи подождите не менее 90 с, чтобы предотвратить срабатывание системы SRS.

    3. Проверьте правильность подключения разъемов к передней подушке безопасности пассажира и центральному блоку управления системы SRS. Кроме того, убедитесь в надежности подключения разъемов, соединяющих жгут проводов панели приборов и жгут проводов панели приборов № 5.

      СООТВ

      Разъемы подсоединены должным образом.

      Tip:

      Если разъемы подсоединены ненадежно, подсоедините их и перейдите к следующей проверке.

    4. Отсоедините разъемы от фронтальной подушки безопасности пассажира и центрального блока управления системы SRS. Также отсоедините жгут проводов панели приборов от жгута проводов панели приборов № 5.

    5. Убедитесь, что контакты разъемов не деформированы и не повреждены.

      OK

      Контакты не деформированы и не повреждены.

    6. Убедитесь, что разъем жгута проводов панели приборов № 5 (со стороны фронтальной подушки безопасности пассажира) не ослаблен, не деформирован и не поврежден.

      СООТВ

      Кнопка блокировки разъема подушки безопасности не освобождена, защелка замка не деформирована и не повреждена.

    7. Убедитесь, что короткие пружины механизмов предотвращения срабатывания в разъеме жгута проводов панели приборов и в разъеме жгута проводов панели приборов № 5 не деформированы и не повреждены.

      СООТВ

      Короткие пружины не деформированы и не повреждены.

    Result

    Перейти к

    OK

    НЕ СООТВ.

    НЕ СООТВ.

    ЗАМЕНИТЕ ЖГУТ ПРОВОДОВ

    СООТВ
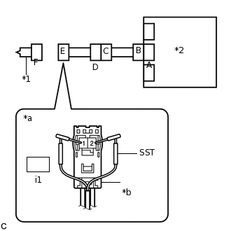
  3. ПРОВЕРЬТЕ ФРОНТАЛЬНУЮ ПОДУШКУ БЕЗОПАСНОСТИ ПАССАЖИРА В СБОРЕ

    1. C238338C14

      *1

      Фронтальная подушка безопасности переднего пассажира в сборе

      *2

      Блок управления системы SRS

      *a

      Вид спереди разъема со стороны жгута проводов:

      (к передней подушке безопасности пассажира в сборе)

      *b

      Цвет: Оранжевый

      Подсоедините жгут проводов панели приборов к жгуту проводов панели приборов № 5 и к центральному блоку управления системы SRS.

    2. Подсоедините специальный инструмент (сопротивление 2,1 Ом) к разъему Е (оранжевый разъем).

      CAUTION:

      Никогда не подключайте для измерения диагностический прибор к передней подушке безопасности пассажира в сборе, так как это может привести к серьезной травме вследствие срабатывания подушки безопасности.

      Note:
      • При подсоединении не следует вставлять SST в контакты разъема с усилием.

      • Вставляйте SST в контакты разъема по прямой.

    3. Подсоедините провод к отрицательному (-) выводу аккумуляторной батареи.

    4. Установите замок зажигания в положение ON (ВКЛ) и подождите не менее 60 секунд.

    5. Удалите коды DTC, сохраненные в памяти.

      Body Electrical > SRS Airbag > Clear DTCs

    6. Выключите зажигание.

    7. Установите замок зажигания в положение ON (ВКЛ) и подождите не менее 60 секунд.

    8. Проверьте наличие кодов DTC.

      Body Electrical > SRS Airbag > Trouble Codes

      OK

      DTC B1805, B1806, B1807 или B1808 не выводится.

      Tip:

      На этом этапе могут выводиться коды, отличные от кодов DTC B1805, B1806, B1807 и B1808, однако они не связаны с данной проверкой.

    9. Выключите зажигание.

    10. Отсоедините провод от отрицательного (-) вывода аккумуляторной батареи.

      CAUTION:

      После отсоединения провода от отрицательного (-) вывода аккумуляторной батареи подождите не менее 90 с, чтобы предотвратить срабатывание системы SRS.

    11. Отсоедините SST от разъема Е.

    09843-18061

    Результат

    Перейти к

    OK

    НЕ СООТВ.

    OK

    ЗАМЕНИТЕ ПОДУШКУ БЕЗОПАСНОСТИ ПЕРЕДНЕГО ПАССАЖИРА

    Нажмите здесьClick hereClick here

    НЕ СООТВ.
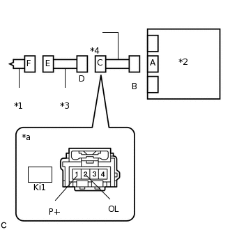
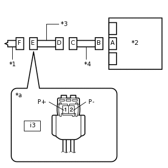
  4. ПРОВЕРЬТЕ ЦЕПЬ БОКОВОГО ПИРОПАТРОНА ПОДУШКИ БЕЗОПАСНОСТИ ПЕРЕДНЕГО ПАССАЖИРА

    1. C238339C27

      *1

      Фронтальная подушка безопасности переднего пассажира в сборе

      *2

      Блок управления системы SRS

      *a

      Вид спереди разъема со стороны жгута проводов:

      (к передней подушке безопасности пассажира в сборе)

      *b

      Цвет: Оранжевый

      Отсоедините жгут проводов панели приборов от центрального блока управления системы SRS.

    2. Проверьте, нет ли в цепи короткого замыкания на B+.

      1. Подсоедините провод к отрицательному выводу (-) аккумуляторной батареи.

      2. Установите замок зажигания в положение ON (ВКЛ).

      3. Измерьте напряжение в соответствии со значениями, приведенными в таблице.

        Номинальное напряжение

        Подключение диагностического прибора

        Условие

        Заданные условия

        i1-1 (P+) - масса

        Зажигание включено

        Менее 1 В

        i1-2 (P-) - масса

        Зажигание включено

        Менее 1 В

      4. Выключите зажигание.

      5. Отсоедините провод от отрицательного (-) вывода аккумуляторной батареи.

        CAUTION:

        После отсоединения провода от отрицательного (-) вывода аккумуляторной батареи подождите не менее 90 с, чтобы предотвратить срабатывание системы SRS.

    3. Проверьте, нет ли в цепи обрыва.

      1. Измерьте сопротивление в соответствии со значениями, приведенными в таблице ниже.

        Номинальное сопротивление

        Подключение диагностического прибора

        Условие

        Заданные условия

        i1-1 (P+) - i1-2 (P-)

        Всегда

        Менее 1 Ом

    4. Проверьте, нет ли в цепи короткого замыкания на массу.

      1. Измерьте сопротивление в соответствии со значениями, приведенными в таблице.

        Номинальное сопротивление

        Подключение диагностического прибора

        Условие

        Заданные условия

        i1-1 (P+) - масса

        Всегда

        1 МОм или более

        i1-2 (P-) - масса

        Всегда

        1 МОм или более

    5. Проверьте, нет ли в цепи короткого замыкания.

      1. Разомкните механизм предотвращения срабатывания, встроенный в разъем B.

        Нажмите здесьClick here

      2. Измерьте сопротивление в соответствии со значениями, приведенными в таблице ниже.

        Номинальное сопротивление

        Подключение диагностического прибора

        Условие

        Заданные условия

        i1-1 (P+) - i1-2 (P-)

        Всегда

        1 МОм или более

      3. Верните механизм предотвращения срабатывания разъема B в исходное состояние.

    Result

    Перейти к

    OK

    НЕ СООТВ.

    НЕ СООТВ.

    ПРОВЕРЬТЕ ЖГУТ ПРОВОДОВ ПАНЕЛИ ПРИБОРОВClick here

    СООТВ
  5. ПРОВЕРЬТЕ DTC

    1. C238340C07

      *1

      Фронтальная подушка безопасности переднего пассажира в сборе

      *2

      Блок управления системы SRS

      Подсоедините разъемы к передней подушке безопасности пассажира и центральному блоку управления системы SRS.

    2. Подсоедините провод к отрицательному (-) выводу аккумуляторной батареи.

    3. Установите замок зажигания в положение ON (ВКЛ) и подождите не менее 60 секунд.

    4. Удалите коды DTC, сохраненные в памяти.

      Body Electrical > SRS Airbag > Clear DTCs

    5. Выключите зажигание.

    6. Установите замок зажигания в положение ON (ВКЛ) и подождите не менее 60 секунд.

    7. Проверьте наличие кодов DTC.

      Body Electrical > SRS Airbag > Trouble Codes

      OK

      DTC B1805, B1806, B1807 или B1808 не выводится.

      Tip:

      На этом этапе могут выводиться коды, отличные от кодов DTC B1805, B1806, B1807 и B1808, однако они не связаны с данной проверкой.

    Результат

    Перейти к

    OK

    НЕ СООТВ.

    OK

    ВЫПОЛНИТЕ ПРОВЕРКУ С ИМИТАЦИЕЙ УСЛОВИЙ ВОЗНИКНОВЕНИЯ НЕИСПРАВНОСТИ

    Нажмите здесьClick hereClick hereClick here

    NG

    ЗАМЕНИТЕ ЦЕНТРАЛЬНЫЙ БЛОК УПРАВЛЕНИЯ СИСТЕМЫ SRS

    Нажмите здесьClick hereClick hereClick here

  6. ПРОВЕРЬТЕ ЖГУТ ПРОВОДОВ ПАНЕЛИ ПРИБОРОВ

    1. C238341C20

      *1

      Фронтальная подушка безопасности переднего пассажира в сборе

      *2

      Центральный блок управления системы SRS

      *3

      Жгут проводов панели приборов № 5

      *4

      Жгут проводов панели приборов

      *a

      Вид спереди разъема со стороны жгута проводов:

      (к жгуту проводов панели приборов № 5)

      Отсоедините разъем жгута проводов панели приборов № 5 от жгута проводов панели приборов.

    2. Проверьте, нет ли в цепи короткого замыкания на B+.

      1. Подсоедините провод к отрицательному выводу (-) аккумуляторной батареи.

      2. Установите замок зажигания в положение ON (ВКЛ).

      3. Измерьте напряжение в соответствии со значениями, приведенными в таблице.

        Номинальное напряжение

        Подключение диагностического прибора

        Условие

        Заданные условия

        Ki1-1 (P+) - масса

        Зажигание включено

        Менее 1 В

        Ki1-2 (P-) - масса

        Зажигание включено

        Менее 1 В

      4. Выключите зажигание.

      5. Отсоедините провод от отрицательного (-) вывода аккумуляторной батареи.

        CAUTION:

        После отсоединения провода от отрицательного (-) вывода аккумуляторной батареи подождите не менее 90 с, чтобы предотвратить срабатывание системы SRS.

    3. Проверьте, нет ли в цепи обрыва.

      1. Измерьте сопротивление в соответствии со значениями, приведенными в таблице ниже.

        Номинальное сопротивление

        Подключение диагностического прибора

        Условие

        Заданные условия

        Ki1-1 (P+) - Ki1-2 (P-)

        Всегда

        Менее 1 Ом

    4. Проверьте, нет ли в цепи короткого замыкания на массу.

      1. Измерьте сопротивление в соответствии со значениями, приведенными в таблице.

        Номинальное сопротивление

        Подключение диагностического прибора

        Условие

        Заданные условия

        Ki1-1 (P+) - масса

        Всегда

        1 МОм или более

        Ki1-2 (P-) - масса

        Всегда

        1 МОм или более

    5. Проверьте, нет ли в цепи короткого замыкания.

      1. Разомкните механизм предотвращения срабатывания, встроенный в разъем B.

        Нажмите здесьClick here

      2. Измерьте сопротивление в соответствии со значениями, приведенными в таблице ниже.

        Номинальное сопротивление

        Подключение диагностического прибора

        Условие

        Заданные условия

        Ki1-1 (P+) - Ki1-2 (P-)

        Всегда

        1 МОм или более

      3. Верните механизм предотвращения срабатывания разъема B в исходное состояние.

    Result

    Перейти к

    OK

    НЕ СООТВ.

    НЕ СООТВ.

    ЗАМЕНИТЕ ЖГУТ ПРОВОДОВ ПАНЕЛИ ПРИБОРОВ

    СООТВ
  7. ПРОВЕРЬТЕ ЖГУТ ПРОВОДОВ ПАНЕЛИ ПРИБОРОВ № 5

    1. C238342C24

      *1

      Фронтальная подушка безопасности переднего пассажира в сборе

      *2

      Центральный блок управления системы SRS

      *3

      Жгут проводов панели приборов № 5

      *4

      Жгут проводов панели приборов

      *a

      Вид спереди разъема со стороны жгута проводов:

      (к передней подушке безопасности пассажира в сборе)

      *b

      Цвет: Оранжевый

      Проверьте, нет ли в цепи короткого замыкания на B+.

      1. Подсоедините провод к отрицательному выводу (-) аккумуляторной батареи.

      2. Установите замок зажигания в положение ON (ВКЛ).

      3. Измерьте напряжение в соответствии со значениями, приведенными в таблице.

        Номинальное напряжение

        Подключение диагностического прибора

        Условие

        Заданные условия

        i1-1 (P+) - масса

        Зажигание включено

        Менее 1 В

        i1-2 (P-) - масса

        Зажигание включено

        Менее 1 В

      4. Выключите зажигание.

      5. Отсоедините провод от отрицательного (-) вывода аккумуляторной батареи.

        CAUTION:

        После отсоединения провода от отрицательного (-) вывода аккумуляторной батареи подождите не менее 90 с, чтобы предотвратить срабатывание системы SRS.

    2. Проверьте, нет ли в цепи обрыва.

      1. Измерьте сопротивление в соответствии со значениями, приведенными в таблице ниже.

        Номинальное сопротивление

        Подключение диагностического прибора

        Условие

        Заданные условия

        i1-1 (P+) - i1-2 (P-)

        Всегда

        Менее 1 Ом

    3. Проверьте, нет ли в цепи короткого замыкания на массу.

      1. Измерьте сопротивление в соответствии со значениями, приведенными в таблице.

        Номинальное сопротивление

        Подключение диагностического прибора

        Условие

        Заданные условия

        i1-1 (P+) - масса

        Всегда

        1 МОм или более

        i1-2 (P-) - масса

        Всегда

        1 МОм или более

    4. Проверьте, нет ли в цепи короткого замыкания.

      1. Разомкните механизм предотвращения срабатывания, встроенный в разъем D.

        Нажмите здесьClick here

      2. Измерьте сопротивление в соответствии со значениями, приведенными в таблице ниже.

        Номинальное сопротивление

        Подключение диагностического прибора

        Условие

        Заданные условия

        i1-1 (P+) - i1-2 (P-)

        Всегда

        1 МОм или более

      3. Верните механизм предотвращения срабатывания разъема D в исходное состояние.

    Result

    Перейти к

    OK

    НЕ СООТВ.

    OK

    ВЫПОЛНИТЕ ПРОВЕРКУ С ИМИТАЦИЕЙ УСЛОВИЙ ВОЗНИКНОВЕНИЯ НЕИСПРАВНОСТИ

    Нажмите здесьClick hereClick hereClick here

    НЕ СООТВ.

    ЗАМЕНИТЕ ЖГУТ ПРОВОДОВ ПАНЕЛИ ПРИБОРОВ № 5

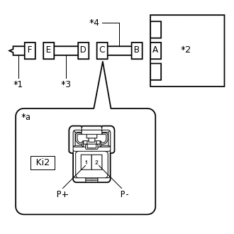
  8. ПРОВЕРЬТЕ РАЗЪЕМЫ

    1. C238337C01

      *1

      Фронтальная подушка безопасности переднего пассажира в сборе

      *2

      Центральный блок управления системы SRS

      *3

      Жгут проводов панели приборов № 5

      *4

      Жгут проводов панели приборов

      Выключите зажигание.

    2. Отсоедините провод от отрицательного вывода (-) аккумуляторной батареи.

      CAUTION:

      После отсоединения провода от отрицательного (-) вывода аккумуляторной батареи подождите не менее 90 с, чтобы предотвратить срабатывание системы SRS.

    3. Проверьте правильность подключения разъемов к передней подушке безопасности пассажира и центральному блоку управления системы SRS. Кроме того, убедитесь в надежности подключения разъемов, соединяющих жгут проводов панели приборов и жгут проводов панели приборов № 5.

      СООТВ

      Разъемы подсоединены должным образом.

      Tip:

      Если разъемы подсоединены ненадежно, подсоедините их и перейдите к следующей проверке.

    4. Отсоедините разъемы от фронтальной подушки безопасности пассажира и центрального блока управления системы SRS. Также отсоедините жгут проводов панели приборов от жгута проводов панели приборов № 5.

    5. Убедитесь, что контакты разъемов не деформированы и не повреждены.

      OK

      Контакты не деформированы и не повреждены.

    6. Убедитесь, что разъем жгута проводов панели приборов № 5 (со стороны фронтальной подушки безопасности пассажира) не ослаблен, не деформирован и не поврежден.

      СООТВ

      Кнопка блокировки разъема подушки безопасности не освобождена, защелка замка не деформирована и не повреждена.

    7. Убедитесь, что короткие пружины механизмов предотвращения срабатывания в разъеме жгута проводов панели приборов и в разъеме жгута проводов панели приборов № 5 не деформированы и не повреждены.

      СООТВ

      Короткие пружины не деформированы и не повреждены.

    Result

    Перейти к

    OK

    НЕ СООТВ.

    НЕ СООТВ.

    ЗАМЕНИТЕ ЖГУТ ПРОВОДОВ

    СООТВ
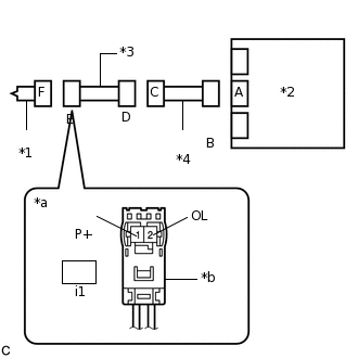
  9. ПРОВЕРЬТЕ ФРОНТАЛЬНУЮ ПОДУШКУ БЕЗОПАСНОСТИ ПАССАЖИРА В СБОРЕ

    1. B491839C01

      *1

      Фронтальная подушка безопасности переднего пассажира в сборе

      *2

      Блок управления системы SRS

      *a

      Вид спереди разъема со стороны жгута проводов:

      (к фронтальной подушке безопасности пассажира в сборе)

      Подсоедините жгут проводов панели приборов к жгуту проводов панели приборов № 5 и к центральному блоку управления системы SRS.

    2. Подсоедините SST (сопротивление 2,1 Ом) к разъему Е.

      CAUTION:

      Никогда не подключайте для измерения диагностический прибор к фронтальной подушке безопасности пассажира в сборе, так как это может привести к серьезной травме вследствие срабатывания подушки безопасности.

      Note:
      • При подсоединении не следует вставлять SST в контакты разъема с усилием.

      • Вставляйте SST в контакты разъема по прямой.

    3. Подсоедините провод к отрицательному (-) выводу аккумуляторной батареи.

    4. Установите замок зажигания в положение ON (ВКЛ) и подождите не менее 60 секунд.

    5. Удалите коды DTC, сохраненные в памяти.

      Body Electrical > SRS Airbag > Clear DTCs

    6. Выключите зажигание.

    7. Установите замок зажигания в положение ON (ВКЛ) и подождите не менее 60 секунд.

    8. Проверьте наличие кодов DTC.

      Body Electrical > SRS Airbag > Trouble Codes

      OK

      DTC B1805, B1806, B1807 или B1808 не выводится.

      Tip:

      На этом этапе могут выводиться коды, отличные от кодов DTC B1805, B1806, B1807 и B1808, однако они не связаны с данной проверкой.

    9. Выключите зажигание.

    10. Отсоедините провод от отрицательного (-) вывода аккумуляторной батареи.

      CAUTION:

      После отсоединения провода от отрицательного (-) вывода аккумуляторной батареи подождите не менее 90 с, чтобы предотвратить срабатывание системы SRS.

    11. Отсоедините SST от разъема Е.

    09843-18061

    Результат

    Перейти к

    OK

    НЕ СООТВ.

    OK

    ЗАМЕНИТЕ ПОДУШКУ БЕЗОПАСНОСТИ ПЕРЕДНЕГО ПАССАЖИРА

    Нажмите здесьClick hereClick here

    НЕ СООТВ.
  10. ПРОВЕРЬТЕ ЦЕПЬ БОКОВОГО ПИРОПАТРОНА ПОДУШКИ БЕЗОПАСНОСТИ ПЕРЕДНЕГО ПАССАЖИРА

    1. B491840C01

      *1

      Фронтальная подушка безопасности переднего пассажира в сборе

      *2

      Блок управления системы SRS

      *a

      Вид спереди разъема со стороны жгута проводов:

      (к фронтальной подушке безопасности пассажира в сборе)

      Отсоедините жгут проводов панели приборов от центрального блока управления системы SRS.

    2. Проверьте, нет ли в цепи короткого замыкания на B+.

      1. Подсоедините провод к отрицательному выводу (-) аккумуляторной батареи.

      2. Установите замок зажигания в положение ON (ВКЛ).

      3. Измерьте напряжение в соответствии со значениями, приведенными в таблице.

        Номинальное напряжение

        Подключение диагностического прибора

        Условие

        Заданные условия

        i3-1 (P+) - масса

        Зажигание включено

        Менее 1 В

        i3-2 (P-) - масса

        Зажигание включено

        Менее 1 В

      4. Выключите зажигание.

      5. Отсоедините провод от отрицательного (-) вывода аккумуляторной батареи.

        CAUTION:

        После отсоединения провода от отрицательного (-) вывода аккумуляторной батареи подождите не менее 90 с, чтобы предотвратить срабатывание системы SRS.

    3. Проверьте, нет ли в цепи обрыва.

      1. Измерьте сопротивление в соответствии со значениями, приведенными в таблице ниже.

        Номинальное сопротивление

        Подключение диагностического прибора

        Условие

        Заданные условия

        i3-1 (P+) - i3-2 (P-)

        Всегда

        Менее 1 Ом

    4. Проверьте, нет ли в цепи короткого замыкания на массу.

      1. Измерьте сопротивление в соответствии со значениями, приведенными в таблице.

        Номинальное сопротивление

        Подключение диагностического прибора

        Условие

        Заданные условия

        i3-1 (P+) - масса

        Всегда

        1 МОм или более

        i3-2 (P-) - масса

        Всегда

        1 МОм или более

    5. Проверьте, нет ли в цепи короткого замыкания.

      1. Разомкните механизм предотвращения срабатывания, встроенный в разъем B.

        Нажмите здесьClick here

      2. Измерьте сопротивление в соответствии со значениями, приведенными в таблице ниже.

        Номинальное сопротивление

        Подключение диагностического прибора

        Условие

        Заданные условия

        i3-1 (P+) - i3-2 (P-)

        Всегда

        1 МОм или более

      3. Верните механизм предотвращения срабатывания разъема B в исходное состояние.

    Result

    Перейти к

    OK

    НЕ СООТВ.

    НЕ СООТВ.

    ПРОВЕРЬТЕ ЖГУТ ПРОВОДОВ ПАНЕЛИ ПРИБОРОВClick here

    СООТВ
  11. ПРОВЕРЬТЕ DTC

    1. C238340C07

      *1

      Фронтальная подушка безопасности переднего пассажира в сборе

      *2

      Блок управления системы SRS

      Подсоедините разъемы к передней подушке безопасности пассажира и центральному блоку управления системы SRS.

    2. Подсоедините провод к отрицательному (-) выводу аккумуляторной батареи.

    3. Установите замок зажигания в положение ON (ВКЛ) и подождите не менее 60 секунд.

    4. Удалите коды DTC, сохраненные в памяти.

      Body Electrical > SRS Airbag > Clear DTCs

    5. Выключите зажигание.

    6. Установите замок зажигания в положение ON (ВКЛ) и подождите не менее 60 секунд.

    7. Проверьте наличие кодов DTC.

      Body Electrical > SRS Airbag > Trouble Codes

      OK

      DTC B1805, B1806, B1807 или B1808 не выводится.

      Tip:

      На этом этапе могут выводиться коды, отличные от кодов DTC B1805, B1806, B1807 и B1808, однако они не связаны с данной проверкой.

    Результат

    Перейти к

    OK

    НЕ СООТВ.

    OK

    ВЫПОЛНИТЕ ПРОВЕРКУ С ИМИТАЦИЕЙ УСЛОВИЙ ВОЗНИКНОВЕНИЯ НЕИСПРАВНОСТИ

    Нажмите здесьClick hereClick hereClick here

    NG

    ЗАМЕНИТЕ ЦЕНТРАЛЬНЫЙ БЛОК УПРАВЛЕНИЯ СИСТЕМЫ SRS

    Нажмите здесьClick hereClick hereClick here

  12. ПРОВЕРЬТЕ ЖГУТ ПРОВОДОВ ПАНЕЛИ ПРИБОРОВ

    1. B491842C01

      *1

      Фронтальная подушка безопасности переднего пассажира в сборе

      *2

      Центральный блок управления системы SRS

      *3

      Жгут проводов панели приборов № 5

      *4

      Жгут проводов панели приборов

      *a

      Вид спереди разъема со стороны жгута проводов:

      (к жгуту проводов панели приборов № 5)

      Отсоедините разъем жгута проводов панели приборов № 5 от жгута проводов панели приборов.

    2. Проверьте, нет ли в цепи короткого замыкания на B+.

      1. Подсоедините провод к отрицательному выводу (-) аккумуляторной батареи.

      2. Установите замок зажигания в положение ON (ВКЛ).

      3. Измерьте напряжение в соответствии со значениями, приведенными в таблице.

        Номинальное напряжение

        Подключение диагностического прибора

        Условие

        Заданные условия

        Ki2-1 (P+) - масса

        Зажигание включено

        Менее 1 В

        Ki2-2 (P-) - масса

        Зажигание включено

        Менее 1 В

      4. Выключите зажигание.

      5. Отсоедините провод от отрицательного (-) вывода аккумуляторной батареи.

        CAUTION:

        После отсоединения провода от отрицательного (-) вывода аккумуляторной батареи подождите не менее 90 с, чтобы предотвратить срабатывание системы SRS.

    3. Проверьте, нет ли в цепи обрыва.

      1. Измерьте сопротивление в соответствии со значениями, приведенными в таблице ниже.

        Номинальное сопротивление

        Подключение диагностического прибора

        Условие

        Заданные условия

        Ki2-1 (P+) - Ki2-2 (P-)

        Всегда

        Менее 1 Ом

    4. Проверьте, нет ли в цепи короткого замыкания на массу.

      1. Измерьте сопротивление в соответствии со значениями, приведенными в таблице.

        Номинальное сопротивление

        Подключение диагностического прибора

        Условие

        Заданные условия

        Ki2-1 (P+) - масса

        Всегда

        1 МОм или более

        Ki2-2 (P-) - масса

        Всегда

        1 МОм или более

    5. Проверьте, нет ли в цепи короткого замыкания.

      1. Разомкните механизм предотвращения срабатывания, встроенный в разъем B.

        Нажмите здесьClick here

      2. Измерьте сопротивление в соответствии со значениями, приведенными в таблице ниже.

        Номинальное сопротивление

        Подключение диагностического прибора

        Условие

        Заданные условия

        Ki2-1 (P+) - Ki2-2 (P-)

        Всегда

        1 МОм или более

      3. Верните механизм предотвращения срабатывания разъема B в исходное состояние.

    Result

    Перейти к

    OK

    НЕ СООТВ.

    НЕ СООТВ.

    ЗАМЕНИТЕ ЖГУТ ПРОВОДОВ ПАНЕЛИ ПРИБОРОВ

    СООТВ
  13. ПРОВЕРЬТЕ ЖГУТ ПРОВОДОВ ПАНЕЛИ ПРИБОРОВ № 5

    1. B491841C01

      *1

      Фронтальная подушка безопасности переднего пассажира в сборе

      *2

      Центральный блок управления системы SRS

      *3

      Жгут проводов панели приборов № 5

      *4

      Жгут проводов панели приборов

      *a

      Вид спереди разъема со стороны жгута проводов:

      (к фронтальной подушке безопасности пассажира в сборе)

      Проверьте, нет ли в цепи короткого замыкания на B+.

      1. Подсоедините провод к отрицательному выводу (-) аккумуляторной батареи.

      2. Установите замок зажигания в положение ON (ВКЛ).

      3. Измерьте напряжение в соответствии со значениями, приведенными в таблице.

        Номинальное напряжение

        Подключение диагностического прибора

        Условие

        Заданные условия

        i3-1 (P+) - масса

        Зажигание включено

        Менее 1 В

        i3-2 (P-) - масса

        Зажигание включено

        Менее 1 В

      4. Выключите зажигание.

      5. Отсоедините провод от отрицательного (-) вывода аккумуляторной батареи.

        CAUTION:

        После отсоединения провода от отрицательного (-) вывода аккумуляторной батареи подождите не менее 90 с, чтобы предотвратить срабатывание системы SRS.

    2. Проверьте, нет ли в цепи обрыва.

      1. Измерьте сопротивление в соответствии со значениями, приведенными в таблице ниже.

        Номинальное сопротивление

        Подключение диагностического прибора

        Условие

        Заданные условия

        i3-1 (P+) - i3-2 (P-)

        Всегда

        Менее 1 Ом

    3. Проверьте, нет ли в цепи короткого замыкания на массу.

      1. Измерьте сопротивление в соответствии со значениями, приведенными в таблице.

        Номинальное сопротивление

        Подключение диагностического прибора

        Условие

        Заданные условия

        i3-1 (P+) - масса

        Всегда

        1 МОм или более

        i3-2 (P-) - масса

        Всегда

        1 МОм или более

    4. Проверьте, нет ли в цепи короткого замыкания.

      1. Разомкните механизм предотвращения срабатывания, встроенный в разъем D.

        Нажмите здесьClick here

      2. Измерьте сопротивление в соответствии со значениями, приведенными в таблице ниже.

        Номинальное сопротивление

        Подключение диагностического прибора

        Условие

        Заданные условия

        i3-1 (P+) - i3-2 (P-)

        Всегда

        1 МОм или более

      3. Верните механизм предотвращения срабатывания разъема D в исходное состояние.

    Result

    Перейти к

    OK

    НЕ СООТВ.

    OK

    ВЫПОЛНИТЕ ПРОВЕРКУ С ИМИТАЦИЕЙ УСЛОВИЙ ВОЗНИКНОВЕНИЯ НЕИСПРАВНОСТИ

    Нажмите здесьClick hereClick hereClick here

    НЕ СООТВ.

    ЗАМЕНИТЕ ЖГУТ ПРОВОДОВ ПАНЕЛИ ПРИБОРОВ № 5