ENTRY AND START SYSTEM

Figure 1. ( - 2017/10)

B0082MJE02
Text in Illustration (Entry Function Configuration:)
*A Except Models for China - -
*1 Combination Meter Assembly *2 Indoor Electrical Key Oscillator
*3 Door Control Receiver *4

Front Door Handle Assembly Outside RH

- Touch Sensor

- Lock Sensor

- Door Electrical Key Oscillator

*5 No. 3 Indoor Electrical Key Oscillator *6 Wireless Door Lock Buzzer
*7

Front Door Handle Assembly Outside LH

- Touch Sensor

- Lock Sensor

- Door Electrical Key Oscillator

*8 No. 2 Indoor Electrical Key Oscillator
*9 Electrical Key Antenna *10 Back Door Opener Switch

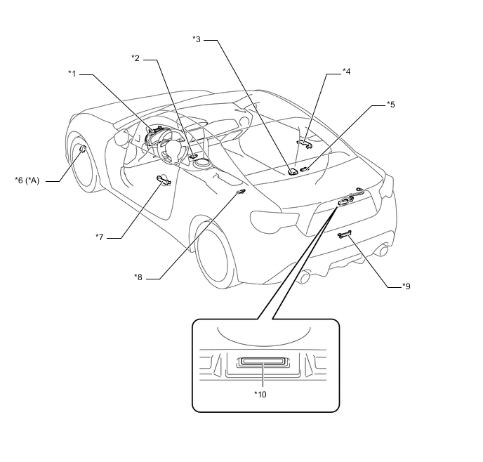
Figure 2. (2017/10 - )

B0082JNC02
*1 Combination Meter Assembly *2 Indoor Electrical Key Oscillator
*3 Door Control Receiver *4

Front Door Handle Assembly Outside RH


  • Touch Sensor

  • Lock Sensor

  • Door Electrical Key Oscillator

*5 No. 3 Indoor Electrical Key Oscillator *6 Wireless Door Lock Buzzer
*7

Front Door Handle Assembly Outside LH


  • Touch Sensor

  • Lock Sensor

  • Door Electrical Key Oscillator

*8 No. 2 Indoor Electrical Key Oscillator
*9 Electrical Key Antenna *10 Back Door Opener Switch
B0082KIE02
Text in Illustration (Entry Function Configuration:)
*1 Smart Key ECU Assembly *2 Main Body ECU (Network Gateway ECU)
*3

Front Door Lock with Motor Assembly RH

- Door Lock Motor

- Door Lock Position Switch

- Double Lock Motor (Models with double locking system)

*4 Front Door Courtesy Light Switch Assembly RH
*5

Front Door Lock with Motor Assembly LH

- Door Lock Motor

- Door Lock Position Switch

- Double Lock Motor (Models with double locking system)

*6 Front Door Courtesy Light Switch Assembly LH
*7

Luggage Door Closer Assembly

- Door Lock Motor

- Luggage Door Courtesy Light Switch

*8 Turn Signal Flasher Assembly
*a Refer to the service bulletin for the installation of the part. - -
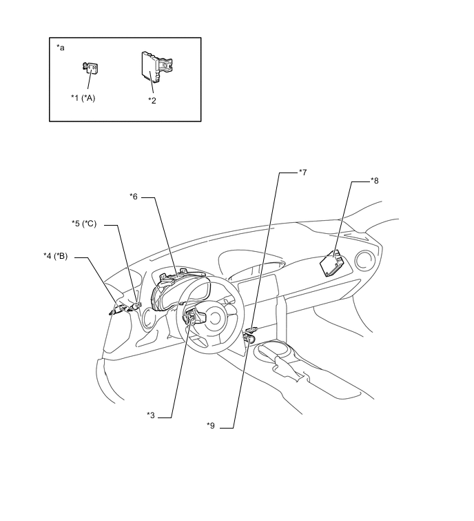
B0082INE02
Text in Illustration (Start Function Configuration:)
*A Models with Immobiliser Code ECU *B Models with M/T
*C Models with A/T - -
*1 Immobiliser Code ECU *2 Smart Key ECU Assembly
*3

Steering Lock Actuator Assembly

- Steering Lock ECU

*4 Clutch Start Switch Assembly
*5 Stop Light Switch Assembly *6 Combination Meter Assembly
*7 Indoor Electrical Key Oscillator *8 ECM
*9

Engine Switch

- Transponder Key Amplifier

- -
*a Refer to the service bulletin for the installation of the part. - -
B0082LAE02
Text in Illustration (Start Function Configuration:)
*A Models with A/T - -
*1 Park/Neutral Position Switch Assembly *2 No. 2 Indoor Electrical Key Oscillator
*3 Door Control Receiver - -