NAVIGATION SYSTEM Vehicle Speed Signal Circuit between Radio Receiver and Combination Meter

DTC Code DTC Name
Vehicle Speed Signal Circuit between Radio Receiver and Combination Meter

DESCRIPTION

The radio and display receiver assembly receives a vehicle speed signal from the combination meter assembly to control the ASL function.

Tip:
  • A voltage of 12 V or 5 V is output from each ECU and then input to the combination meter assembly. The signal is changed to a pulse signal at the transistor in the combination meter assembly. Each ECU controls the respective systems based on the pulse signal.

  • If a short occurs in any of the ECUs or in the wire harness connected to an ECU, all systems in the diagram below will not operate normally.

WIRING DIAGRAM

E337730E03

CAUTION / NOTICE / HINT

Note:

Check that the wire harness is properly installed and does not have any sharp bends, pinching or loose connections.

Click hereClick hereClick here

PROCEDURE

  1. CHECK COMBINATION METER ASSEMBLY (OUTPUT WAVEFORM)

    1. E280963C02

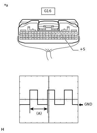
      *a

      Component with harness connected

      (Combination Meter Assembly)

      Check the output waveform.

      1. Remove the combination meter assembly with the connector(s) still connected.

      2. Connect an oscilloscope to terminal G16-6 (+S) and body ground.

      3. Turn the power switch on (IG).

      4. Turn a wheel slowly.

      5. Check the signal waveform according to the condition(s) in the table below.

        Item

        Condition

        Measurement terminal

        G16-6 (+S) - Body ground

        Tool setting

        5 V/DIV., 20 ms./DIV.

        Vehicle condition

        Wheel being rotated

        OK

        The waveform is similar to that shown in the illustration.

        Tip:

        When the system is functioning normally, one wheel revolution generates 4 pulses. As the vehicle speed increases, the width indicated by (A) in the illustration narrows.

    Result

    Proceed to

    OK

    NG

    NG

    GO TO METER / GAUGE SYSTEM

    OK
  2. CHECK HARNESS AND CONNECTOR (RADIO AND DISPLAY RECEIVER ASSEMBLY - COMBINATION METER ASSEMBLY)

    1. Disconnect the G143 radio and display receiver assembly connector.

    2. Disconnect the G16 combination meter assembly connector.

    3. Measure the resistance according to the value(s) in the table below.

      Standard Resistance

      Tester Connection

      Condition

      Specified Condition

      G143-17 (SPD) - G16-6 (+S)

      Always

      Below 1 Ω

      G143-17 (SPD) - Body ground

      Always

      10 kΩ or higher

    Result

    Proceed to

    OK

    NG

    OK

    PROCEED TO NEXT SUSPECTED AREA SHOWN IN PROBLEM SYMPTOMS TABLE

    NG

    REPAIR OR REPLACE HARNESS OR CONNECTOR