AIRBAG SYSTEM, Diagnostic DTC:B1900/73, B1901/73, B1902/73, B1903/73

DTC Code DTC Name
B1900/73 Short in Front Pretensioner Squib RH Circuit
B1901/73 Open in Front Pretensioner Squib RH Circuit
B1902/73 Short to GND in Front Pretensioner Squib RH Circuit
B1903/73 Short to B+ in Front Pretensioner Squib RH Circuit

DESCRIPTION

The front pretensioner squib RH circuit consists of the airbag ECU assembly and front seat outer belt assembly RH.

The airbag ECU assembly uses this circuit to deploy the seat belt pretensioner when deployment conditions are met.

These DTCs are stored when a malfunction is detected in the front pretensioner squib RH circuit.

DTC No. DTC Detection Condition Trouble Area
B1900/73
  • The airbag ECU assembly receives a line short circuit signal in the front pretensioner squib RH circuit during primary check.

  • Front pretensioner squib RH malfunction

  • Airbag ECU assembly malfunction


  • No. 2 floor wire

  • Front seat outer belt assembly RH (Front pretensioner squib RH)

  • Airbag ECU assembly

B1901/73
  • The airbag ECU assembly receives an open circuit signal in the front pretensioner squib RH circuit.

  • Front pretensioner squib RH malfunction

  • Airbag ECU assembly malfunction

B1902/73
  • The airbag ECU assembly receives a short circuit to ground signal in the front pretensioner squib RH circuit.

  • Front pretensioner squib RH malfunction

  • Airbag ECU assembly malfunction

B1903/73
  • The airbag ECU assembly receives a short circuit to B+ signal in the front pretensioner squib RH circuit.

  • Front pretensioner squib RH malfunction

  • Airbag ECU assembly malfunction

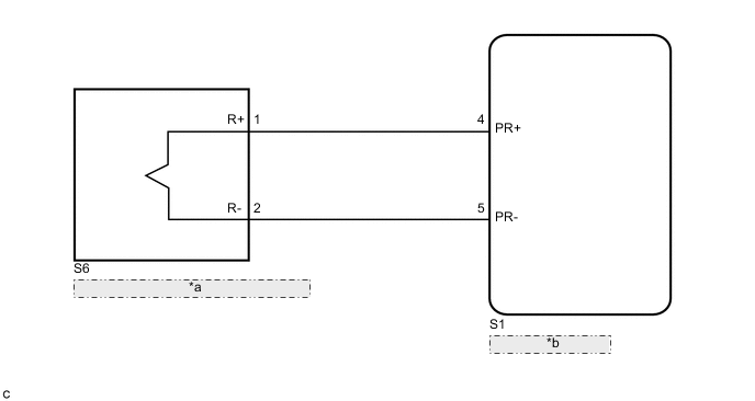
WIRING DIAGRAM

B005ZQVE36
*a Front Seat Outer Belt Assembly RH (Front Pretensioner Squib RH)
*b Airbag ECU Assembly

CAUTION / NOTICE / HINT

Note

After turning the power switch off, waiting time may be required before disconnecting the cable from the negative (-) auxiliary battery terminal. Therefore, make sure to read the disconnecting the cable from the negative (-) auxiliary battery terminal notices before proceeding with work Click here.

Tech Tips


  • Perform the simulation method by selecting check mode (Signal Check) using the GTS Click here.

  • After selecting check mode (Signal Check), perform the simulation method by wiggling each connector of the airbag system or driving the vehicle on a city road or rough road Click here.

PROCEDURE


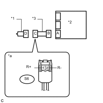
  1. CHECK CONNECTORS


    1. B005YV2E14
      Text in Illustration
      *1 Front Seat Outer Belt Assembly RH
      *2 Airbag ECU Assembly
      *3 No. 2 Floor Wire

      Turn the power switch off.

    2. Disconnect the cable from the negative (-) auxiliary battery terminal.

      CAUTION:

      Wait at least 90 seconds after disconnecting the cable from the negative (-) auxiliary battery terminal to disable the SRS system.

    3. Check that the connectors are properly connected to the front seat outer belt assembly RH and airbag ECU assembly.

      OK
      The connectors are properly connected.

      Tech Tips

      If the connectors are not connected securely, reconnect the connectors and proceed to the next inspection.

    4. Disconnect the connectors from the front seat outer belt assembly RH and airbag ECU assembly.

    5. Check that the terminals of the connectors are not damaged.

      OK
      The terminals are not deformed or damaged.
    6. Check that the No. 2 floor wire connector (on the front seat outer belt assembly RH side) is not damaged.

      OK
      The lock button is not disengaged, and the claw of the lock is not deformed or damaged.
    7. Check that the short spring for the No. 2 floor wire with the activation prevention mechanism is not deformed or damaged.

      OK
      The short spring is not deformed or damaged.

    NG
    OK
  2. CHECK FRONT SEAT OUTER BELT ASSEMBLY RH (FRONT PRETENSIONER SQUIB RH)


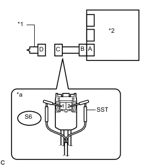
    1. B005XXQE03
      Text in Illustration
      *1 Front Seat Outer Belt Assembly RH
      *2 Airbag ECU Assembly
      *a

      Front view of wire harness connector

      (to Front Seat Outer Belt Assembly RH)

      Connect the connector to the airbag ECU assembly.

    2. Connect SST (resistance 2.1 Ω) to connector C.

      CAUTION:

      Never connect the tester to the front seat outer belt assembly RH (front pretensioner squib RH) for measurement, as this may lead to a serious injury due to pretensioner deployment.

      Note


      • Do not forcibly insert SST into the terminals of the connector when connecting it.

      • Insert SST straight into the terminals of the connector.

      SST
      09843-18061
    3. Connect the cable to the negative (-) auxiliary battery terminal.

    4. Clear the DTCs stored in memory Click here.

    5. Turn the power switch off.

    6. Turn the power switch on (IG), and wait for at least 60 seconds.

    7. Check for DTCs Click here.

      OK
      DTC B1900/73, B1901/73, B1902/73 or B1903/73 is not output.

      Tech Tips

      Codes other than DTCs B1900/73, B1901/73, B1902/73 and B1903/73 may be output at this time, but they are not related to this check.

    8. Turn the power switch off.

    9. Disconnect the cable from the negative (-) auxiliary battery terminal.

      CAUTION:

      Wait at least 90 seconds after disconnecting the cable from the negative (-) auxiliary battery terminal to disable the SRS system.

    10. Disconnect SST from connector C.


    OK
    NG
  3. CHECK NO. 2 FLOOR WIRE


    1. B005YM1E03
      Text in Illustration
      *1 Front Seat Outer Belt Assembly RH
      *2 Airbag ECU Assembly
      *3 No. 2 Floor Wire
      *a

      Front view of wire harness connector

      (to Front Seat Outer Belt Assembly RH)

      Disconnect the No. 2 floor wire from the airbag ECU assembly.

    2. Check for a short to B+ in the circuit.


      1. Connect the cable to the negative (-) auxiliary battery terminal.

      2. Turn the power switch on (IG).

      3. Measure the voltage according to the value(s) in the table below.

        Standard Voltage
        Tester Connection Condition Specified Condition
        S6-1 (R+) - Body ground Power switch on (IG) Below 1 V
        S6-2 (R-) - Body ground Power switch on (IG) Below 1 V
      4. Turn the power switch off.

      5. Disconnect the cable from the negative (-) auxiliary battery terminal.

        CAUTION:

        Wait at least 90 seconds after disconnecting the cable from the negative (-) auxiliary battery terminal to disable the SRS system.

    3. Check for an open in the circuit.


      1. Measure the resistance according to the value(s) in the table below.

        Standard Resistance
        Tester Connection Condition Specified Condition
        S6-1 (R+) - S6-2 (R-) Always Below 1 Ω
    4. Check for a short to ground in the circuit.


      1. Measure the resistance according to the value(s) in the table below.

        Standard Resistance
        Tester Connection Condition Specified Condition
        S6-1 (R+) - Body ground Always 1 MΩ or higher
        S6-2 (R-) - Body ground Always 1 MΩ or higher
    5. Check for a short in the circuit.


      1. Release the activation prevention mechanism built into connector B Click here.

      2. Measure the resistance according to the value(s) in the table below.

        Standard Resistance
        Tester Connection Condition Specified Condition
        S6-1 (R+) - S6-2 (R-) Always 1 MΩ or higher
      3. Restore the released activation prevention mechanism of connector B to the original condition.


    NG
    OK
  4. CHECK DTC


    1. B005XVUE01
      Text in Illustration
      *1 Front Seat Outer Belt Assembly RH
      *2 Airbag ECU Assembly

      Connect the connectors to the front seat outer belt assembly RH and airbag ECU assembly.

    2. Connect the cable to the negative (-) auxiliary battery terminal.

    3. Clear the DTCs stored in memory Click here.

    4. Turn the power switch off.

    5. Turn the power switch on (IG), and wait for at least 60 seconds.

    6. Check for DTCs Click here.

      OK
      DTC B1900/73, B1901/73, B1902/73 or B1903/73 is not output.

      Tech Tips

      Codes other than DTCs B1900/73, B1901/73, B1902/73 and B1903/73 may be output at this time, but they are not related to this check.


    OK
    NG