СИСТЕМА ЗАЖИГАНИЯ ПРОВЕРКА БЕЗ СНЯТИЯ С АВТОМОБИЛЯ

ПОРЯДОК ВЫПОЛНЕНИЯ

  1. ВЫПОЛНИТЕ ПРОВЕРКУ "ИСКРЫ" НА МАССУ

    A345137
    CAUTION:

    Во избежание травм в результате контакта с движущимся поликлиновым ремнем или работающим вентилятором системы охлаждения не допускайте попадания рук и одежды от поликлинового ремня и вентилятор охлаждения время работы в моторном отсеке при работающем двигателе или при включенном зажигании (IG).

    1. Подключите GTS к DLC3.

    2. Включите зажигание (IG).

    3. Включите GTS.

    4. Войдите в следующие меню: Powertrain / Engine / Trouble Codes.

    5. Проверьте наличие кодов DTC.

      Powertrain > Engine > Trouble Codes

      Note:

      При наличии каких-либо DTC выполните диагностику в соответствии с порядком действий для каждого DTC.

    6. Выключите питание.

    7. Снимите 4 катушки зажигания в сборе и 4 свечи зажигания.

      Нажмите здесьЩелкните по следующей ссылке

    8. A413302

      Отсоедините разъем топливной форсунки для впрыска во впускной канал.

      Note:

      Это действие выполняется для прекращения впрыска топлива во избежание повреждения каталитического нейтрализатора несгоревшим топливом.

    9. A411907

      Отсоедините разъем топливных форсунок (для непосредственного впрыска).

      Note:

      Это действие выполняется для прекращения впрыска топлива во избежание повреждения каталитического нейтрализатора несгоревшим топливом.

    10. Установите свечу зажигания в катушку зажигания и подсоедините разъем катушки зажигания.

    11. Соедините свечу зажигания с массой.

    12. Убедитесь, что при прокрутке двигателя стартером искра возникает на каждой свече.

      Note:
      • При проверке свечи зажигания должны быть обязательно соединены с массой.

      • Не прокручивайте коленчатый вал двигателя дольше 2 с.

      • Если катушка зажигания в сборе или свеча зажигания падала или подвергалась ударам, замените ее.

      Tip:

      Если искра не образуется, выполните следующие действия.

    13. Подсоедините разъем топливных форсунок (для непосредственного впрыска).

    14. Подсоедините разъем топливной форсунки для впрыска во впускной канал.

    15. Установите 4 свечи зажигания и 4 катушки зажигания в сборе.

      Нажмите здесьЩелкните по следующей ссылке

    16. Включите зажигание (IG).

    17. Включите GTS.

    18. Войдите в следующие меню: Powertrain / Engine / Trouble Codes.

    19. Проверьте наличие кодов DTC.

      Powertrain > Engine > Trouble Codes

    20. Удалите коды DTC.

      Powertrain > Engine > Clear DTCs

  2. ПРОВЕРЬТЕ КАТУШКУ ЗАЖИГАНИЯ В СБОРЕ И ИСКРУ НА МАССУ

    Tip:

    Выполните "Проверку после ремонта" после замены катушки зажигания в сборе или свечи зажигания.

    Нажмите здесьЩелкните по следующей ссылке

    1. Убедитесь, что разъем катушки зажигания надежно подсоединен.

      Result

      Result

      Действие

      NG

      Подсоедините надежно

      OK

      Перейдите к следующему шагу

    2. Выполните проверку "искры" на массу для каждой катушки зажигания.

      1. Замените катушку зажигания заведомо исправной.

      2. Снова выполните проверку "искры" на массу.

        Result

        Result

        Действие

        NG

        Перейдите к следующему шагу

        OK

        Замените катушку зажигания в сборе.

    3. Выполните проверку искры на массу для каждой свечи зажигания.

      1. Замените свечу зажигания заведомо исправной.

      2. Снова выполните проверку "искры" на массу.

        Result

        Result

        Действие

        NG

        Проверьте систему зажигания

        Щелкните по следующей ссылке

        СООТВ

        Замените свечу зажигания.

        Note:

        Если катушка зажигания в сборе или свеча зажигания падала или подвергалась ударам, замените ее.

    4. Подсоедините разъем топливных форсунок (для непосредственного впрыска).

    5. Подсоедините разъем топливной форсунки для впрыска во впускной канал.

    6. Установите 4 свечи зажигания и 4 катушки зажигания в сборе.

      Нажмите здесьЩелкните по следующей ссылке

    7. Включите зажигание (IG).

    8. Включите GTS.

    9. Войдите в следующие меню: Powertrain / Engine / Trouble Codes.

    10. Проверьте наличие кодов DTC.

      Powertrain > Engine > Trouble Codes

    11. Удалите коды DTC.

      Powertrain > Engine > Clear DTCs

  3. ПРОВЕРЬТЕ СВЕЧУ ЗАЖИГАНИЯ

    Note:
    • Соблюдайте осторожность, чтобы не повредить иридиевый и платиновый наконечники.

    • Осмотрите иридиевый наконечник, поскольку он может быть поврежден.

    • Запрещается регулировать межэлектродный зазор свечи зажигания, бывшей в употреблении.

    • Замените свечи зажигания при обнаружении чрезмерных отложений и т. п.

    • Замените свечи зажигания при обнаружении значительных повреждений.

    • Если свеча зажигания падала или подвергалась сильным ударам, замените ее новой.

    • Если свеча зажигания меняется на новую, перед ее установкой снимите с наконечника защитный колпачок.

    • Не пользуйтесь для очистки проволочной щеткой.

    Tip:

    Выполните "Проверку после ремонта" после замены свечи зажигания.

    Нажмите здесьЩелкните по следующей ссылке

    1. I039522C06

      *a

      Масса

      Проверьте электрод.

      1. С помощью мегомметра измерьте сопротивление изоляции.

        Номинальное сопротивление изоляции

        Подключение диагностического прибора

        Условие

        Заданные условия

        Свеча зажигания (контактная часть) - масса

        Всегда

        10 МОм или более

        Tip:
        • Если результат проверки не отвечает требованиям, очистите свечу с помощью прибора для очистки свечей зажигания и снова измерьте сопротивление.

        • Если мегомметр отсутствует, выполните следующую простую проверку.

    2. Альтернативный метод проверки.

      1. Запустите двигатель.

        Note:

        Никогда не выполняйте шаг, если выводятся какие-либо из следующих DTC: P030000, P030027, P030085, P030100, P030200, P030300, P030400 (обнаружен пропуск зажигания в цилиндре).

      2. Быстро разгоните двигатель до 4000 об/мин 5 раз.

        Note:

        Никогда не выполняйте шаг, если выводятся какие-либо из следующих DTC: P030000, P030027, P030085, P030100, P030200, P030300, P030400 (обнаружен пропуск зажигания в цилиндре).

      3. Снимите свечу зажигания.

        Нажмите здесьЩелкните по следующей ссылке

      4. Осмотрите свечу зажигания.

        Tip:

        Если электрод сухой, свеча зажигания работает должным образом. Если электрод влажный, перейдите к следующему шагу.

    3. Убедитесь в отсутствии повреждений резьбы и изолятора свечи зажигания.

      При наличии повреждений замените свечу зажигания.

      Рекомендуемые свечи зажигания

      Изготовитель

      Тип свечи зажигания

      DENSO

      FK16HBR-J8

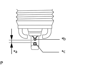
    4. A155866C01

      *a

      Межэлектродный зазор свечи зажигания

      *b

      Иридиевый наконечник

      *c

      Платиновый наконечник

      Проверьте межэлектродный зазор свечи зажигания.

      Максимальный межэлектродный зазор свечи зажигания, бывшей в употреблении

      1,1 мм (0,0433 дюйма)

      Note:

      Запрещается регулировать межэлектродный зазор свечи зажигания, бывшей в употреблении.

      Если зазор между электродами свечи зажигания превышает максимальную величину, замените свечу зажигания.

      Номинальный межэлектродный зазор новой свечи зажигания

      0,7 - 0,8 мм (0,0276 - 0,0315 дюйма)

    5. A296690

      Очистите свечу зажигания.

      При наличии на электроде следов влажного нагара очистите электрод с помощью прибора для очистки свечей зажигания, а затем высушите его.

      Номинальное давление воздуха

      588 кПа (6,0 кгс/см2, 85фунтовна кв. дюйм)

      Номинальная продолжительность

      не более 20 с

      Tip:

      Прибор для очистки свечей зажигания разрешается использовать, только если на электроде отсутствуют следы масла. При наличии следов масла удалите их с помощью бензина перед использованием прибора для очистки свечей зажигания.

    6. Установите свечу зажигания.

      Нажмите здесьЩелкните по следующей ссылке

  4. ВЫПОЛНИТЕ ИНИЦИАЛИЗАЦИЮ

    1. Выполните "Проверку после ремонта" после замены катушки зажигания в сборе или свечи зажигания.

      Нажмите здесьЩелкните по следующей ссылке