REAR SEAT ASSEMBLY DISASSEMBLY

CAUTION / NOTICE / HINT

CAUTION:

Wear protective gloves. Sharp areas on the parts may injure your hands.

PROCEDURE

  1. REMOVE REAR SEAT CUSHION LOCK HOOK

    Note:
    • Perform the following only when replacing the rear seat cushion lock hook.

    • Do not reuse the rear seat cushion lock hook after removing it.

    Tip:

    Use the same procedure for the other side.

    1. B372780C01

      *1

      Body

      *2

      Sleeve

      Insert 2 thin-bladed screwdrivers between the sleeve and body of the rear seat cushion lock hook.

    2. Pull up the 2 thin-bladed screwdrivers to detach the 2 claws and remove the rear seat cushion lock hook.

  2. REMOVE REAR SEAT CUSHION EDGE PROTECTOR

    1. B377221

      Detach the claw to remove the rear seat cushion edge protector.

  3. REMOVE SEAT ADJUSTER COVER CAP

    1. B429461

      Remove the 2 seat adjuster cover caps.

  4. REMOVE BENCH TYPE REAR SEAT CUSHION COVER

    1. Remove the 30 hog rings.

      B429462
    2. B429463

      Remove the 26 hog rings to remove the bench type rear seat cushion cover.

  5. REMOVE REAR SEAT CUSHION HEATER ASSEMBLY LH (w/ Seat Heater System)

  6. REMOVE REAR SEAT CUSHION HEATER ASSEMBLY RH (w/ Seat Heater System)

  7. REMOVE SEAT ADJUSTER COVER CAP RH

    1. B376758C01

      *1

      Protective Tape

      Using a screwdriver, remove the seat adjuster cover cap RH.

      Tip:
      • Use the same procedure for both seat adjuster cover caps.

      • Tape the screwdriver tip before use.

  8. REMOVE REAR SEAT INNER WITH CENTER BELT ASSEMBLY RH (for RH Side)

  9. REMOVE REAR SEAT HEADREST ASSEMBLY RH (for RH Side)

    1. Remove the rear seat headrest assembly RH.

  10. REMOVE REAR SEATBACK BOARD CARPET ASSEMBLY RH (for RH Side)

    1. B429464

      Detach the 3 hooks.

    2. B429465

      Detach the 5 claws and 3 clips.

    3. Move the rear seatback board carpet assembly RH in the direction of the arrow to detach the 3 guides, and remove the rear seatback board carpet assembly RH.

  11. REMOVE REAR SEAT CUSHION MOULDING RH (for RH Side)

    1. B429467

      Detach the 7 claws and 7 guides to remove the rear seat cushion moulding RH.

  12. REMOVE REAR SEAT CUSHION MOULDING RH (for RH Side)

    1. B433018

      w/ Seat Heater System:

      Detach the clamp to disconnect the wire harness.

    2. B429469

      Detach the 7 claws and 7 guides to remove the rear seat cushion moulding RH.

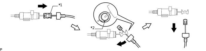
  13. REMOVE REAR SEAT NO. 2 RECLINING CONTROL CABLE (for RH Side)

    1. Disconnect the 2 cable clamps and 2 cable ends.

      B429471C01

      *1

      Cable End

      *2

      Cable Clamp

      *3

      Hook

      -

      -

    2. Detach the 2 hooks and clip to remove the rear seat No. 2 reclining control cable together with the rear seat reclining control cable.

    3. B429521C01

      *1

      Cap

      *2

      Connector Case

      Using a screwdriver, remove the cap from the connector case.

      Tip:

      Tape the screwdriver tip before use.

    4. Pull the joint piece out of the connector case.

    5. Pass the rear seat No. 2 reclining control cable through the opening in the joint piece as shown in the illustration and remove it.

      B429522C01

      *1

      Joint Piece

      *2

      Opening

  14. REMOVE REAR NO. 1 SEAT HEADREST SUPPORT ASSEMBLY (for RH Side)

    1. B429473

      Detach the 11 hooks.

    2. B429474

      Detach the 4 claws to remove the 2 rear No. 1 seat headrest support assemblies.

  15. REMOVE SEPARATE TYPE REAR SEATBACK COVER WITH PAD (for RH Side)

    1. Remove the separate type rear seatback cover with pad from the rear seatback frame sub-assembly RH.

  16. REMOVE SEPARATE TYPE REAR SEATBACK COVER RH (for RH Side)

    1. B429475

      Remove the 11 hog rings to remove the separate type rear seatback cover RH from the separate type rear seatback pad RH.

  17. REMOVE REAR SEATBACK HEATER ASSEMBLY (for RH Side, w/ Seat Heater System)

  18. REMOVE REAR SEATBACK COVER LH (for RH Side)

    1. B429477

      Using a clip remover, detach the clip.

    2. Detach the claw and 4 guides to remove the rear seatback cover LH.

  19. REMOVE REAR SEATBACK COVER LH (for RH Side)

    1. B429478

      Detach the claw and 2 guides to remove the rear seatback cover LH.

  20. REMOVE REAR SEATBACK COVER RH (for RH Side)

    1. B429479

      Using a clip remover, detach the clip.

    2. Detach the claw and 4 guides to remove the rear seatback cover RH.

  21. REMOVE REAR SEATBACK COVER RH (for RH Side)

    1. B429481

      Detach the claw and 2 guides to remove the rear seatback cover RH.

  22. REMOVE RECLINING ADJUSTER INSIDE COVER RH (for RH Side)

    1. B377281

      Detach the 2 claws to remove the reclining adjuster inside cover RH.

  23. REMOVE RECLINING ADJUSTER INSIDE COVER RH (for RH Side)

    1. B377280

      Detach the 2 claws to remove the reclining adjuster inside cover RH.

  24. REMOVE REAR SEAT INNER BELT ASSEMBLY LH (for LH Side)

  25. REMOVE REAR SEAT CENTER LAP TYPE BELT ASSEMBLY LH (for LH Side)

  26. REMOVE REAR SEAT HEADREST ASSEMBLY RH (for LH Side)

    1. Remove the rear seat headrest assembly RH.

  27. REMOVE REAR SEAT CENTER HEADREST ASSEMBLY (for LH Side)

    1. Remove the rear seat center headrest assembly.

  28. REMOVE REAR SEATBACK BOARD CARPET ASSEMBLY LH (for LH Side)

    1. B429482

      Detach the 3 hooks.

    2. B429483

      Detach the 6 claws and 5 clips.

    3. Move the rear seatback board carpet assembly LH in the direction of the arrow to detach the 5 guides, and remove the rear seatback board carpet assembly LH.

  29. REMOVE REAR SEAT ARMREST HOLE COVER (for LH Side)

    1. B429485C01

      *1

      Protective Tape

      Using a screwdriver, detach the 3 claws and guide to remove the rear seat armrest hole cover.

      Tip:

      Tape the screwdriver tip before use.

  30. REMOVE REAR SEAT CENTER ARMREST ASSEMBLY (for LH Side)

    1. Remove the bolt and washer.

      B429487C01

      *1

      Pin

      -

      -

    2. Rotate the rear seat center armrest assembly as shown in the illustration and remove the 2 pins to remove the rear seat center armrest assembly.

  31. REMOVE NO. 1 SEAT ARMREST ASSEMBLY (for LH Side)

    1. B429489

      Remove the 2 nuts and No. 1 seat armrest assembly.

  32. REMOVE CENTER SEAT HINGE COVER (for LH Side)

    1. B429490

      Detach the claw and 2 guides to remove the center seat hinge cover.

  33. REMOVE CENTER ARMREST HINGE COVER (for LH Side)

    1. B429492

      Detach the 5 claws and 2 guides to remove the center armrest hinge cover.

  34. REMOVE NO. 1 SEATBACK COVER (for LH Side)

    1. B429494

      Detach the clip and 2 claws.

    2. Detach the 2 guides to remove the No. 1 seatback cover.

  35. REMOVE REAR NO. 1 SEAT CENTER ARMREST PLATE (for LH Side)

    1. B377183

      Remove the rear No. 1 seat center armrest plate from the rear seatback frame sub-assembly LH.

  36. REMOVE REAR SEAT CUSHION MOULDING LH (for LH Side)

    1. B429495

      Detach the 7 claws and 7 guides to remove the rear seat cushion moulding LH.

  37. REMOVE REAR SEAT CUSHION MOULDING LH (for LH Side)

    1. B429538

      w/ Seat Heater System:

      Detach the clamp to disconnect the wire harness.

    2. B429497

      Detach the 7 claws and 7 guides to remove the rear seat cushion moulding LH.

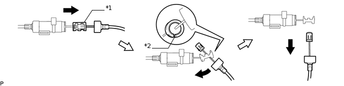
  38. REMOVE REAR SEAT NO. 2 RECLINING CONTROL CABLE (for LH Side)

    1. Disconnect the 2 cable clamps and 2 cable ends.

      B429499C01

      *1

      Cable End

      *2

      Cable Clamp

      *3

      Hook

      -

      -

    2. Detach the 2 hooks and clip to remove the rear seat No. 2 reclining control cable together with the rear seat reclining control cable.

    3. B429521C02

      *1

      Cap

      *2

      Connector Case

      Using a screwdriver, remove the cap from the connector case.

      Tip:

      Tape the screwdriver tip before use.

    4. Pull the joint piece out of the connector case.

    5. Pass the rear seat No. 2 reclining control cable through the opening in the joint piece as shown in the illustration and remove it.

      B429522C02

      *1

      Joint Piece

      *2

      Opening

  39. REMOVE REAR NO. 1 SEAT HEADREST SUPPORT ASSEMBLY (for LH Side)

    1. B429501

      Detach the 12 hooks.

    2. B429502

      Detach the 8 claws to remove the 4 rear No. 1 seat headrest support assemblies.

  40. REMOVE SEPARATE TYPE REAR SEATBACK COVER WITH PAD (for LH Side)

    1. Remove the separate type rear seatback cover with pad from the rear seatback frame sub-assembly LH.

  41. REMOVE SEPARATE TYPE REAR SEATBACK COVER LH (for LH Side)

    1. B429503

      Remove the 11 hog rings to remove the separate type rear seatback cover LH from the separate type rear seatback pad LH.

  42. REMOVE REAR SEATBACK HEATER ASSEMBLY (for LH Side, w/ Seat Heater System)

  43. REMOVE REAR SEATBACK COVER LH (for LH Side)

    1. B429504

      Using a clip remover, detach the clip.

    2. Detach the claw and 4 guides to remove the rear seatback cover LH.

  44. REMOVE REAR SEATBACK COVER LH (for LH Side)

    1. B429506

      Detach the claw and 2 guides to remove the rear seatback cover LH.

  45. REMOVE REAR SEATBACK COVER RH (for LH Side)

    1. B429507

      Using a clip remover, detach the clip.

    2. Detach the claw and 4 guides to remove the rear seatback cover RH.

  46. REMOVE REAR SEATBACK COVER RH (for LH Side)

    1. B429509

      Detach the claw and 2 guides to remove the rear seatback cover RH.

  47. REMOVE RECLINING ADJUSTER INSIDE COVER LH (for LH Side)

    1. B429510

      Detach the 2 claws to remove the reclining adjuster inside cover LH.

  48. REMOVE RECLINING ADJUSTER INSIDE COVER LH (for LH Side)

    1. B377208

      Detach the 2 claws to remove the reclining adjuster inside cover LH.

  49. REMOVE REAR SEATBACK HOLDER (for LH Side)

    1. B377202

      Detach the 3 hooks to remove the rear seatback holder.