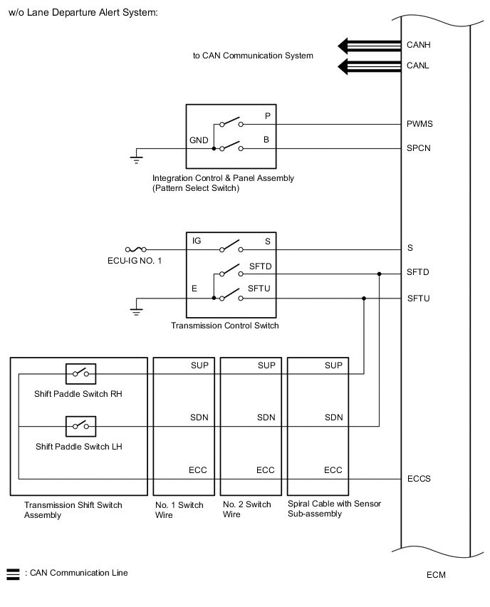
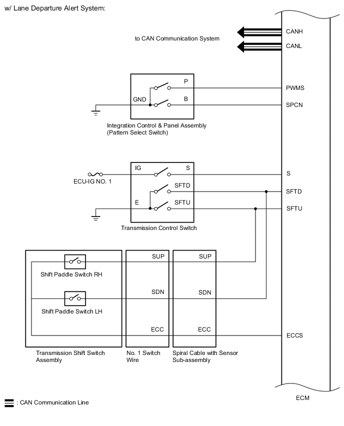
AUTOMATIC TRANSAXLE SYSTEM SYSTEM DIAGRAM

The configuration of the electronic control system in the U661F automatic transaxle is as shown in the following chart.

B005ADWE01
B005854E02
B0057JFE04
B005917E03
B0057T2E02