FUEL PUMP(w/o Canister Pump Module) DISASSEMBLY
CAUTION / NOTICE / HINT
Do not try to remove the black nylon tube as it is welded to the fuel suction tube assembly.
PROCEDURE
REMOVE NO. 1 FUEL SUB-TANK
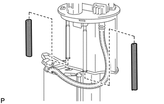
-
Disconnect the fuel pump harness connector.
-
*1
Fuel Suction Plate Sub-assembly
*2
Fuel Tank Pipe Setting Holder

Lower
Using needle nose pliers, remove the fuel tank pipe setting holder.
Tip:Slightly lower the fuel suction plate sub-assembly to remove the fuel tank pipe setting holder.
-
Remove the No. 2 fuel tank cushion and No. 3 fuel tank cushion from the fuel suction plate sub-assembly.
-
Using a screwdriver with its tip wrapped with protective tape, detach the 2 claws and remove the fuel filter assembly from the No. 1 fuel sub-tank.
-
Detach the claw of the jet pump nozzle.
-
*a
Jet Pump
*b
Protective Tape
Using a screwdriver with protective tape wrapped around it, remove the jet pump from the No. 1 fuel sub-tank.
Tip:Tape the screwdriver tip before use.
-
*1
O-Ring
*a
Jet Pump
Remove the O-ring from the jet pump.
-
REMOVE NO. 1 FUEL SUCTION SUPPORT
-
Using needle-nose pliers, detach the 2 claws and remove the No. 1 fuel suction support from the fuel filter assembly.
-
REMOVE FUEL PUMP ASSEMBLY WITH FILTER
-
*a
Fuel Main Tube
Using a screwdriver with its tip wrapped with protective tape, detach the 5 claws and remove the fuel filter assembly from the fuel pump assembly with filter.
Note:When detaching the claws, do not disconnect the fuel main tube.
-
Disconnect the fuel pump harness connector.
-
*1
O-Ring
*2
Fuel Pump Spacer
Remove the O-ring from the fuel pump assembly with filter.
Remove the fuel pump spacer from the fuel pump assembly with filter.
-