СИСТЕМА ECD


  1. FUNCTION


    1. Based on sensor signals, the ECM controls the fuel injection volume by calculating the fuel injection volume that is appropriate for the engine condition.

      B002NEIC01
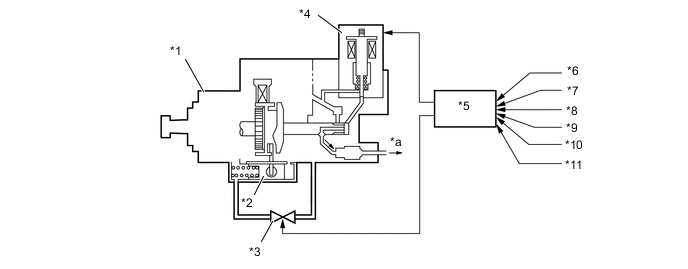
      *1 Injection Pump Assembly *2 Timer Piston
      *3 Timing Control Valve *4 Spill Control Valve
      *5 ECM *6 Engine Speed Signal
      *7 Engine Coolant Temperature Signal *8 Intake Air Temperature Signal
      *9 Intake Air Pressure Signal *10 Fuel Temperature Signal
      *11 Vehicle Speed Signal - -
      *a Fuel [to Injection Nozzle (Nozzle Holder and Nozzle Set)] - -
    2. The ECM calculates the basic injection volume based on the accelerator pedal opening and engine speed, and the maximum injection volume for the engine condition. The two injection volumes are compared, and the lesser of the two is selected. A correction value, which is obtained via the fuel pump calibration unit, is added to that injection volume, thus determining the fuel injection volume.

      Function of ECM
      Control Function
      Basic Injection Volume Determined in accordance with the throttle opening and the engine speed.
      Maximum Injection Volume General Based on the signals received from the sensors, correction values are added to the theoretically required injection volume (basic maximum injection volume) to determine the maximum injection volume during engine operation.
      Basic Maximum Injection Volume Determined in accordance with the engine speed.
      Intake Air Pressure Correction Corrects the basic maximum injection volume in accordance with the intake air pressure.
      Intake Air Temperature Correction Corrects the variance in the air-fuel ratio that is created by the difference in the density of the intake air in accordance with the intake air temperature. The higher the intake air temperature becomes, the smaller the injection volume becomes.
      Fuel Temperature Correction Corrects the variance in the injection volume that is created by the difference in the density of the fuel in accordance with the fuel temperature. The higher the fuel temperature becomes, the larger the injection volume becomes.
      Starting Injection Volume Control Determines the fuel injection volume during starting in accordance with the starting signal and the engine coolant temperature signal. When the engine is cold, the lower the engine coolant temperature becomes, the larger the injection volume becomes.