ENTRY AND START SYSTEM(for Entry Function), Diagnostic DTC:B27A8

DTC Code DTC Name
B27A8 Open in Outside Luggage Compartment Electrical Key Antenna Circuit

DESCRIPTION

When the glass hatch lock switch assembly or glass hatch opener switch assembly is pushed, the certification ECU (smart key ECU assembly) generates a request signal and transmits the signal to the No. 3 indoor electrical key antenna assembly (back door). The electrical key antenna transmits the received signal within an area of approximately 0.7 m (2.30 ft.) from the back door in order to detect the person carrying the electrical key transmitter sub-assembly. DTC B27A8 is stored by the certification ECU (smart key ECU assembly) when an open is detected between the certification ECU (smart key ECU assembly) and No. 3 indoor electrical key antenna assembly (back door) (between terminals CLG8 and ANTE8, or terminals CG8B and CLGB).

DTC No.

Detection Item

DTC Detection Condition

Trouble Area

Note

B27A8

Open in Outside Luggage Compartment Electrical Key Antenna Circuit

An open is detected in the circuit between the certification ECU (smart key ECU assembly) and No. 3 indoor electrical key antenna assembly (back door) (CLG8 - ANTE8, CG8B - CLGB) (1 trip detection logic*).

  • Wire harness or connector

  • No. 3 indoor electrical key antenna assembly (back door)

  • Certification ECU (smart key ECU assembly)

  • DTC Output Confirmation Operation:

  • Any time

  • *: Only output while a malfunction is present.

Table 1. Vehicle Condition and Fail-safe Operation when Malfunction Detected

Vehicle Condition when Malfunction Detected

Fail-safe Operation when Malfunction Detected

Entry lock/open operation cannot be performed for back door

-

Table 2. Related Data List and Active Test

DTC Code

Data List and Active Test

B27A8

Key diagnostic mode can be used to perform troubleshooting

WIRING DIAGRAM

B286267E67

CAUTION / NOTICE / HINT

Note:
  • The entry and start system (for Entry Function) uses the LIN communication system and CAN communication system. Inspect the communication function by following How to Proceed with Troubleshooting. Troubleshoot the entry and start system (for Entry Function) after confirming that the communication systems are functioning properly.

    Click here

  • When using the GTS with the engine switch off, connect the GTS to the DLC3 and turn a courtesy light switch on and off at intervals of 1.5 seconds or less until communication between the GTS and the vehicle begins. Then select Model Code "KEY REGIST" under manual mode and enter the following menus: Body Electrical / Entry&Start(CAN). While using the GTS, periodically turn a courtesy light switch on and off at intervals of 1.5 seconds or less to maintain communication between the GTS and the vehicle.

  • Before replacing the certification ECU (smart key ECU assembly), refer to entry and start system (for Entry Function) Precaution.

    Click here

  • After repair, confirm that no DTCs are output by performing "DTC Output Confirmation Operation".

  • The No. 3 indoor electrical key antenna assembly (back door) has an antenna coil between the ANTE8 and CLGB terminals.

PROCEDURE

  1. CHECK CONNECTOR CONNECTION

    1. Turn the engine switch off.

    2. Check that the connectors are properly connected to the certification ECU (smart key ECU assembly) and No. 3 indoor electrical key antenna assembly (back door).

      OK

      Connectors are properly connected.

    Result

    Proceed to

    OK

    NG

    NG

    CONNECT CONNECTORS PROPERLY

    OK
  2. CHECK HARNESS AND CONNECTOR (CERTIFICATION ECU (SMART KEY ECU ASSEMBLY) - NO. 3 INDOOR ELECTRICAL KEY ANTENNA ASSEMBLY (BACK DOOR))

    1. Disconnect the E50 certification ECU (smart key ECU assembly) connector.

    2. Disconnect the O4 No. 3 indoor electrical key antenna assembly (back door) connector.

    3. Measure the resistance according to the value(s) in the table below.

      Standard Resistance

      Tester Connection

      Condition

      Specified Condition

      E50-8 (CLG8) - O4-1 (ANTE8)

      Always

      Below 1 Ω

      E50-24 (CG8B) - O4-3 (CLGB)

      Always

      Below 1 Ω

      E50-8 (CLG8) or O4-1 (ANTE8) - Body ground

      Always

      10 kΩ or higher

      E50-24 (CG8B) or O4-3 (CLGB) - Body ground

      Always

      10 kΩ or higher

    Result

    Proceed to

    OK

    NG

    NG

    REPAIR OR REPLACE HARNESS OR CONNECTOR

    OK
  3. CHECK CERTIFICATION ECU (SMART KEY ECU ASSEMBLY) (OUTPUT TO NO. 3 INDOOR ELECTRICAL KEY ANTENNA ASSEMBLY (BACK DOOR))

    1. Reconnect the E50 certification ECU (smart key ECU assembly) connector.

    2. Measure the resistance according to the value(s) in the table below.

      Standard Resistance

      Tester Connection

      Condition

      Specified Condition

      E49-10 (E) - Body ground

      Always

      Below 1 Ω

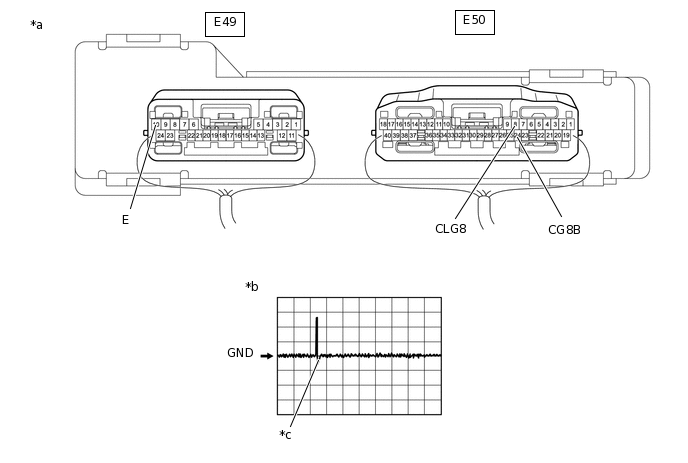
    3. Using an oscilloscope, check the waveform.

      B361610C04

      *a

      Component with harness connected

      (Certification ECU (Smart Key ECU Assembly))

      *b

      Waveform 1

      *c

      Glass hatch opener switch assembly ON

      -

      -

      OK

      Tester Connection

      Condition

      Tool Setting

      Specified Condition

      E50-8 (CLG8) - E49-10 (E)

      Procedure:

      1. Engine switch off

      2. All doors closed

      3. Glass hatch opener switch assembly off → on

      2 V/DIV., 500 ms./DIV.

      Pulse generation

      (See waveform 1)

      E50-24 (CG8B) - E49-10 (E)

      Procedure:

      1. Engine switch off

      2. All doors closed

      3. Glass hatch opener switch assembly off → on

      2 V/DIV., 500 ms./DIV.

      Pulse generation

      (See waveform 1)

    Result

    Proceed to

    OK

    NG

    NG

    REPLACE CERTIFICATION ECU (SMART KEY ECU ASSEMBLY)

    OK
  4. REPLACE NO. 3 INDOOR ELECTRICAL KEY ANTENNA ASSEMBLY (BACK DOOR)

    1. Temporarily replace the No. 3 indoor electrical key antenna assembly (back door) with a new or known good one.

      Click here

    Result

    Proceed to

    NEXT

    NEXT
  5. CLEAR DTC

    1. Clear the DTCs.

      Body Electrical > Entry&Start > Clear DTCs

    Result

    Proceed to

    NEXT

    NEXT
  6. CHECK FOR DTC

    1. Check for DTCs.

      Body Electrical > Entry&Start > Trouble Codes

      OK

      DTC B27A8 is not output.

    Result

    Proceed to

    OK

    NG

    OK

    END (NO. 3 INDOOR ELECTRICAL KEY ANTENNA ASSEMBLY (BACK DOOR) WAS DEFECTIVE)

    NG

    REPLACE CERTIFICATION ECU (SMART KEY ECU ASSEMBLY)