SMART ENTRY AND START SYSTEM(for Start Function) Immobiliser System does not Operate Properly

DESCRIPTION

The immobiliser function compares the ID code that is registered in the certification ECU (smart key ECU assembly) with the ID code of the transponder chip that is embedded in the electrical key transmitter sub-assembly.

WIRING DIAGRAM

Click here

CAUTION / NOTICE / HINT

Note


  • When using the GTS with the engine switch off, connect the GTS to the DLC3 and turn a courtesy light switch on and off at intervals of 1.5 seconds or less until communication between the GTS and the vehicle begins. Then select Model Code "KEY REGIST" under manual mode and enter the following menus: Body Electrical / Entry&Start(CAN). While using the GTS, periodically turn a courtesy light switch on and off at intervals of 1.5 seconds or less to maintain communication between the GTS and the vehicle.

  • The smart entry and start system (for Start Function) uses the LIN communication system and CAN communication system. Inspect the communication function by following How to Proceed with Troubleshooting. Troubleshoot the smart entry and start system (for Start Function) after confirming that the communication systems are functioning properly.

    Click here

  • Make sure that no DTCs are output. If any DTCs are output, proceed to Diagnostic Trouble Code Chart.

  • Before replacing the ECM, certification ECU (smart key ECU assembly) or ID code box (immobiliser code ECU)*, refer to Service Bulletin.


    • *: w/ ID Code Box

  • After repair, confirm that no DTCs are output by performing "DTC Output Confirmation Operation".

Tech Tips

If an immobiliser function or SFI system DTC is output, first perform troubleshooting for the immobiliser function or SFI system DTC.

PROCEDURE


  1. CHECK FOR DTC


    1. Check for DTCs.


      Body Electrical > Entry&Start > Trouble Codes
      Powertrain > Engine > Trouble Codes
      Powertrain > Engine and ECT > Trouble Codes
      Result
      Result Proceed to
      DTCs are not output A
      DTCs are output B

    B
    A
  2. READ VALUE USING GTS (IMMOBILISER FUEL CUT STATUS, IMMOBILISER FUEL CUT)


    1. Connect the GTS to the DLC3.

    2. Turn the engine switch on (IG).

    3. Turn the GTS on.

    4. Enter the following menus: Powertrain / Engine*1 or Engine and ECT*2 / Data List.


      • *1: except 2AR-FE

      • *2: for 2AR-FE

    5. Read the Data List according to the display on the GTS.


      Powertrain > Engine > Data List
      Tester Display Measurement Item Range Normal Condition Diagnostic Note
      Immobiliser Fuel Cut Status Status of immobiliser fuel cut OFF or ON - -

      Powertrain > Engine > Data List
      Tester Display
      Immobiliser Fuel Cut Status

      Powertrain > Engine and ECT > Data List
      Tester Display Measurement Item Range Normal Condition Diagnostic Note
      Immobiliser Fuel Cut Status of immobiliser fuel cut OFF or ON - -

      Powertrain > Engine and ECT > Data List
      Tester Display
      Immobiliser Fuel Cut
      OK
      OFF is displayed after the engine is started.
      Result
      Proceed to
      OK
      NG

    OK
    NG
  3. CHECK WHETHER ENGINE STARTS


    1. Check that the engine starts 5 seconds after the engine switch turned on (IG).

      OK
      Engine starts normally.
      Result
      Result Proceed to
      OK A
      NG (w/o ID Code Box) B
      NG (w/ ID Code Box) C

    A
    C
    B
  4. CHECK HARNESS AND CONNECTOR (CERTIFICATION ECU (SMART KEY ECU ASSEMBLY) - ECM)


    1. Disconnect the A13 certification ECU (smart key ECU assembly) connector.

    2. Disconnect the A24*1, A23*2 or A22*3 ECM connector.


      • *1: for A25A-FKS

      • *2: for 2GR-FKS

      • *3: for 2AR-FE

    3. Measure the resistance according to the value(s) in the table below.

      Standard Resistance
      for A25A-FKS
      Tester Connection Condition Specified Condition
      A13-3 (EFII) - A24-25 (IMO) Always Below 1 Ω
      A13-4 (EFIO) - A24-26 (IMI) Always Below 1 Ω
      A13-3 (EFII) or A24-25 (IMO) - Other terminals and body ground Always 10 kΩ or higher
      A13-4 (EFIO) or A24-26 (IMI) - Other terminals and body ground Always 10 kΩ or higher
      for 2GR-FKS
      Tester Connection Condition Specified Condition
      A13-3 (EFII) - A23-45 (IMO) Always Below 1 Ω
      A13-4 (EFIO) - A23-59 (IMI) Always Below 1 Ω
      A13-3 (EFII) or A23-45 (IMO) - Other terminals and body ground Always 10 kΩ or higher
      A13-4 (EFIO) or A23-59 (IMI) - Other terminals and body ground Always 10 kΩ or higher
      for 2AR-FE
      Tester Connection Condition Specified Condition
      A13-3 (EFII) - A22-45 (IMO) Always Below 1 Ω
      A13-4 (EFIO) - A22-28 (IMI) Always Below 1 Ω
      A13-3 (EFII) or A22-45 (IMO) - Other terminals and body ground Always 10 kΩ or higher
      A13-4 (EFIO) or A22-28 (IMI) - Other terminals and body ground Always 10 kΩ or higher
      Result
      Proceed to
      OK
      NG

    NG
    OK
  5. CHECK ECM (TERMINAL EFIO AND EFII)


    1. Connect the A13 certification ECU (smart key ECU assembly) connector.

    2. Connect the A24*1, A23*2 or A22*3 ECM connector.


      • *1: for A25A-FKS

      • *2: for 2GR-FKS

      • *3: for 2AR-FE

    3. Using an oscilloscope, check the waveform.

      B0083BJC01
      *a

      Component with harness connected

      (Certification ECU (Smart Key ECU Assembly))

      *b Approximately 160 ms
      *c Approximately 270 ms *d Approximately 40 ms
      *e Approximately 60 ms *f Waveform (EFII)
      *g Waveform (EFIO) *h Waveform A
      *i Waveform B *j Waveform C
      *k Waveform A (detail) - -

      Note

      The waveform shown in the illustration is an example for reference only. Noise, chattering, etc. are not shown.

      OK
      Tester Connection Condition Tool Setting Specified Condition
      A13-3 (EFII) - Body ground Within 3 seconds of engine start or within 3 seconds of engine switch turned on (IG) after battery cable disconnected and reconnected 2 V/DIV., 500 ms./DIV.

      Pulse generation

      (See waveform (EFII))

      A13-4 (EFIO) - Body ground Within 3 seconds of engine start or within 3 seconds of engine switch turned on (IG) after battery cable disconnected and reconnected 2 V/DIV., 500 ms./DIV.

      Pulse generation

      (See waveform (EFIO))

      Result
      Result Proceed to
      Normal waveform A
      Waveform A or C not output, or has abnormal wavelength or shape B
      Waveform B not output, or has abnormal wavelength or shape C

    B
    C
    A
  6. REGISTER ECU COMMUNICATION ID


    1. Register the ECU communication ID.

      Tech Tips

      Refer to Service Bulletin.

      Result
      Proceed to
      NEXT

    NEXT
  7. CHECK WHETHER ENGINE STARTS


    1. Check that the engine starts.

      OK
      Engine starts normally.
      Result
      Proceed to
      OK
      NG

    OK
    NG
  8. CHECK HARNESS AND CONNECTOR (ID CODE BOX (IMMOBILISER CODE ECU) - ECM)


    1. Disconnect the K139 ID code box (immobiliser code ECU) connector.

    2. Disconnect the A23*1, A22*2 or A78*3 ECM connector.


      • *1: for 2GR-FKS

      • *2: for 2AR-FE

      • *3: for 6AR-FSE

    3. Measure the resistance according to the value(s) in the table below.

      Standard Resistance
      for 2GR-FKS
      Tester Connection Condition Specified Condition
      K139-3 (EFII) - A23-45 (IMO) Always Below 1 Ω
      K139-4 (EFIO) - A23-59 (IMI) Always Below 1 Ω
      K139-3 (EFII) or A23-45 (IMO) - Other terminals and body ground Always 10 kΩ or higher
      K139-4 (EFIO) or A23-59 (IMI) - Other terminals and body ground Always 10 kΩ or higher
      for 2AR-FE
      Tester Connection Condition Specified Condition
      K139-3 (EFII) - A22-45 (IMO) Always Below 1 Ω
      K139-4 (EFIO) - A22-28 (IMI) Always Below 1 Ω
      K139-3 (EFII) or A22-45 (IMO) - Other terminals and body ground Always 10 kΩ or higher
      K139-4 (EFIO) or A22-28 (IMI) - Other terminals and body ground Always 10 kΩ or higher
      for 6AR-FSE
      Tester Connection Condition Specified Condition
      K139-3 (EFII) - A78-45 (IMO) Always Below 1 Ω
      K139-4 (EFIO) - A78-28 (IMI) Always Below 1 Ω
      K139-3 (EFII) or A78-45 (IMO) - Other terminals and body ground Always 10 kΩ or higher
      K139-4 (EFIO) or A78-28 (IMI) - Other terminals and body ground Always 10 kΩ or higher
      Result
      Proceed to
      OK
      NG

    NG
    OK
  9. CHECK ECM (TERMINAL EFIO AND EFII)


    1. Connect the K139 ID code box (immobiliser code ECU) connector.

    2. Connect the A23*1, A22*2 or A78*3 ECM connector.


      • *1: for 2GR-FKS

      • *2: for 2AR-FE

      • *3: for 6AR-FSE

    3. Using an oscilloscope, check the waveform.

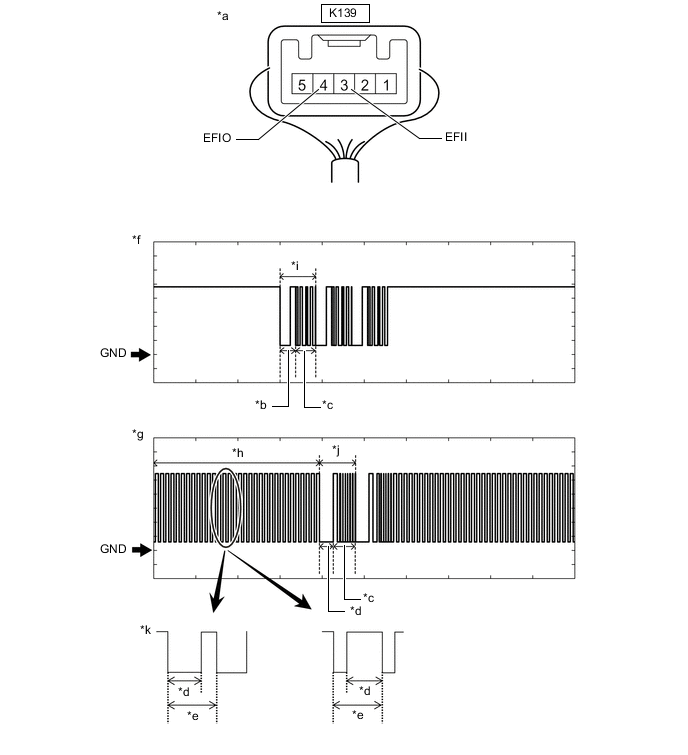
      B0089K1C08
      *a

      Component with harness connected

      (ID Code Box (Immobiliser Code ECU))

      *b Approximately 160 ms.
      *c Approximately 270 ms. *d Approximately 40 ms.
      *e Approximately 60 ms. *f Waveform (EFII)
      *g Waveform (EFIO) *h Waveform A
      *i Waveform B *j Waveform C
      *k Waveform A (detail) - -

      Note

      The waveform shown in the illustration is an example for reference only. Noise, chattering, etc. are not shown.

      OK
      Tester Connection Condition Tool Setting Specified Condition
      K139-3 (EFII) - Body ground Within 3 seconds of engine start or within 3 seconds of engine switch turned on (IG) after battery cable disconnected and reconnected 2 V/DIV., 500 ms./DIV.

      Pulse generation

      (See waveform (EFII))

      K139-4 (EFIO) - Body ground Within 3 seconds of engine start or within 3 seconds of engine switch turned on (IG) after battery cable disconnected and reconnected 2 V/DIV., 500 ms./DIV.

      Pulse generation

      (See waveform (EFIO))

      Result
      Result Proceed to
      Normal waveform A
      Waveform A or C not output, or has abnormal wavelength or shape B
      Waveform B not output, or has abnormal wavelength or shape C

    B
    C
    A
  10. REGISTER ECU COMMUNICATION ID


    1. Register the ECU communication ID.

      Tech Tips

      Refer to Service Bulletin.

      Result
      Proceed to
      NEXT

    NEXT
  11. CHECK WHETHER ENGINE STARTS


    1. Check that the engine starts.

      OK
      Engine starts normally.
      Result
      Proceed to
      OK
      NG

    OK
    NG