ДИНАМИЧЕСКАЯ СИСТЕМА ПОСТОЯННОГО ПОЛНОГО ПРИВОДА С РЕГУЛИРОВАНИЕМ КРУТЯЩЕГО МОМЕНТА СХЕМА СИСТЕМЫ

C318590E02
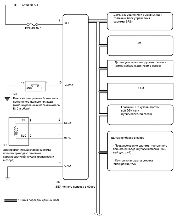
C306776E02
C306732E03
Table 1. Таблица обмена данными

Передающий ЭБУ

Принимающий ЭБУ

Сигнал

Метод передачи данных

ЭБУ системы противоскольжения (блок управления рабочими цилиндрами тормозов в сборе)

ЭБУ полного привода

  • Сигнал частоты вращения колеса

  • Сигнал выключателя стоп-сигналов

Система передачи данных CAN

ECM

ЭБУ полного привода

  • Сигнал датчика положения рычага переключения передач

  • Сигнал датчика положения дроссельной заслонки

  • Сигнал датчика положения коленчатого вала

Система передачи данных CAN

Главный ЭБУ кузова (бортовой ЭБУ сети мультиплексной связи)

ЭБУ полного привода

  • Сигнал выключателя стояночного тормоза

  • Сигнал температуры окружающего воздуха

Система передачи данных CAN

ЭБУ полного привода

Щиток приборов в сборе

  • Предупреждающий сигнал постоянного полного привода

  • Сигнал контрольной лампы режима блокировки постоянного полного привода

Система передачи данных CAN

Датчик угла поворота рулевого колеса (витой кабель с датчиком в сборе)

ЭБУ полного привода

Сигнал датчика угла поворота рулевого колеса

Система передачи данных CAN

Датчик замедления и рысканья (ЭБУ системы SRS в сборе)

ЭБУ полного привода

  • Сигнал датчика рысканья

  • Сигнал датчика ускорения

Система передачи данных CAN