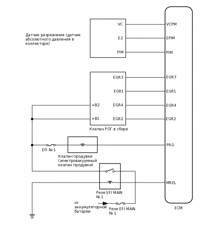
СИСТЕМА СНИЖЕНИЯ ТОКСИЧНОСТИ ОТРАБОТАВШИХ ГАЗОВ СХЕМА СИСТЕМЫ

A251871C14

*1

Пробка наливной горловины топливного бака

*2

Клапан отсечки подачи топлива

*3

Топливный бак в сборе

*4

Клапан продувки (электровакуумный клапан продувки)

*5

Угольный адсорбер (пластина топливозаборника в сборе)

*6

Воздушный фильтр

*7

Фильтр адсорбера (адсорбер (пластина топливозаборника в сборе))

*8

ECM

*a

Воздуховод

*b

Линия продувки

A413951E02