СИСТЕМА ПОДУШЕК БЕЗОПАСНОСТИ SRS, диагностические DTC: B1875/67, B1876/67, B1877/67 и B1878/67

Код DTC Наименование DTC
B1875/67 Короткое замыкание в цепи пиропатрона в подушке переднего сиденья со стороны пассажира
B1876/67 Обрыв в цепи пиропатрона в подушке переднего сиденья со стороны пассажира
B1877/67 Короткое замыкание на GND в цепи пиропатрона в подушке переднего сиденья со стороны пассажира
B1878/67 Короткое замыкание на B+ в цепи пиропатрона в подушке переднего сиденья со стороны пассажира

ОПИСАНИЕ

В цепь пиропатрона в подушке переднего сиденья со стороны пассажира входят: ЭБУ системы SRS в сборе и подушка безопасности в подушке правого переднего сиденья в сборе*1 или подушка безопасности в подушке левого переднего сиденья в сборе*2.

Центральный блок управления системы SRS использует эту цепь для развертывания подушки безопасности, когда выполняются условия развертывания.

Эти DTC сохраняются при обнаружении неисправности в цепи пиропатрона в подушке переднего сиденья со стороны пассажира.

№ DTC

Неисправность

Условие обнаружения DTC

Неисправный участок

Режим диагностики / режим проверки

B1875/67

Короткое замыкание в цепи пиропатрона в подушке переднего сиденья со стороны пассажира

  • Блок управления системы SRS обнаруживает короткое замыкание в цепи пиропатрона подушки безопасности сиденья переднего пассажира в ходе выполнения первичной проверки.

  • Неисправность пиропатрона в подушке переднего сиденья со стороны пассажира

  • Неисправность блока управления системы SRS

  • Для моделей с левосторонним рулевым управлением:

  • Напольный провод

  • Пиропатрон в подушке сиденья со стороны пассажира (подушка безопасности в подушке правого переднего сиденья в сборе)

  • Блок управления системы SRS

  • В моделях с правосторонним рулевым управлением:

  • Напольный провод № 2

  • Пиропатрон в подушке сиденья со стороны пассажира (подушка безопасности в подушке левого переднего сиденья в сборе)

  • Блок управления системы SRS

Относится к режиму проверки

B1876/67

Обрыв в цепи пиропатрона в подушке переднего сиденья со стороны пассажира

  • Блок управления системы SRS в сборе обнаруживает обрыв в цепи пиропатрона в подушке переднего сиденья со стороны пассажира.

  • Неисправность пиропатрона в подушке переднего сиденья со стороны пассажира

  • Неисправность блока управления системы SRS

  • Для моделей с левосторонним рулевым управлением:

  • Напольный провод

  • Пиропатрон в подушке сиденья со стороны пассажира (подушка безопасности в подушке правого переднего сиденья в сборе)

  • Блок управления системы SRS

  • В моделях с правосторонним рулевым управлением:

  • Напольный провод № 2

  • Пиропатрон в подушке сиденья со стороны пассажира (подушка безопасности в подушке левого переднего сиденья в сборе)

  • Блок управления системы SRS

Относится к режиму проверки

B1877/67

Короткое замыкание на GND в цепи пиропатрона в подушке переднего сиденья со стороны пассажира

  • Блок управления системы SRS в сборе обнаруживает короткое замыкание на массу в цепи пиропатрона в подушке переднего сиденья со стороны пассажира.

  • Неисправность пиропатрона в подушке переднего сиденья со стороны пассажира

  • Неисправность блока управления системы SRS

  • Для моделей с левосторонним рулевым управлением:

  • Напольный провод

  • Пиропатрон в подушке сиденья со стороны пассажира (подушка безопасности в подушке правого переднего сиденья в сборе)

  • Блок управления системы SRS

  • В моделях с правосторонним рулевым управлением:

  • Напольный провод № 2

  • Пиропатрон в подушке сиденья со стороны пассажира (подушка безопасности в подушке левого переднего сиденья в сборе)

  • Блок управления системы SRS

Относится к режиму проверки

B1878/67

Короткое замыкание на B+ в цепи пиропатрона в подушке переднего сиденья со стороны пассажира

  • Блок управления системы SRS в сборе обнаруживает короткое замыкание на B+ в цепи пиропатрона в подушке переднего сиденья со стороны пассажира.

  • Неисправность пиропатрона в подушке переднего сиденья со стороны пассажира

  • Неисправность блока управления системы SRS

  • Для моделей с левосторонним рулевым управлением:

  • Напольный провод

  • Пиропатрон в подушке сиденья со стороны пассажира (подушка безопасности в подушке правого переднего сиденья в сборе)

  • Блок управления системы SRS

  • В моделях с правосторонним рулевым управлением:

  • Напольный провод № 2

  • Пиропатрон в подушке сиденья со стороны пассажира (подушка безопасности в подушке левого переднего сиденья в сборе)

  • Блок управления системы SRS

Относится к режиму проверки

  • *1: для моделей с левосторонним рулевым управлением.

  • *2: для vмоделей с правосторонним рулевым управлением

СХЕМА ЭЛЕКТРИЧЕСКИХ СОЕДИНЕНИЙ

  1. для моделей с левосторонним рулевым управлением:

    C316539E41
  2. для моделей с правосторонним рулевым управлением:

    C316539E42

ПРЕДОСТЕРЕЖЕНИЕ / ПРИМЕЧАНИЕ / УКАЗАНИЕ

Note:

После выключения зажигания следует подождать некоторое время, прежде чем отсоединять провод от отрицательного (-) вывода аккумуляторной батареи. Поэтому, прежде чем приступать к этой работе, обязательно ознакомьтесь с примечанием относительно отсоединения провода от отрицательного (-) вывода аккумуляторной батареи.

Нажмите здесьClick hereClick hereClick here

Tip:
  • Выполните проверку с имитацией условий возникновения неисправности, выбрав на GTS режим проверки (Signal Check).

    Нажмите здесьClick here

  • Выбрав режим проверки (Signal Check), выполните проверку с имитацией условий возникновения неисправности, пошевелив каждый разъем системы подушек безопасности или совершив поездку по городским дорогам или дорогам без покрытия

    Нажмите здесьClick hereClick hereClick hereClick here

ПОРЯДОК ВЫПОЛНЕНИЯ

  1. ПРОВЕРЬТЕ СОСТОЯНИЕ АВТОМОБИЛЯ

    1. Выберите модель для проверки.

    Result

    Result

    Перейдите к

    Для моделей с левосторонним рулевым управлением

    А

    RHD

    B

    B

    ПРОВЕРЬТЕ РАЗЪЕМЫClick here

    A
  2. ПРОВЕРЬТЕ РАЗЪЕМЫ

    1. C238348C01

      *1

      Подушка безопасности в подушке правого переднего сиденья в сборе

      *2

      Центральный блок управления системы SRS

      *3

      Напольный провод

      Выключите питание.

    2. Отсоедините провод от отрицательного (-) вывода аккумуляторной батареи.

      CAUTION:

      После отсоединения провода от отрицательного (-) вывода аккумуляторной батареи подождите не менее 90 с, чтобы предотвратить срабатывание системы SRS.

    3. Проверьте правильность подключения разъемов к подушке безопасности в подушке правого переднего сиденья и центральному блоку управления системы SRS.

      OK

      Разъемы подсоединены должным образом.

      Tip:

      Если разъемы подсоединены ненадежно, подсоедините их и перейдите к следующей проверке.

    4. Отсоедините разъемы от подушки безопасности в подушке правого переднего сиденья и центрального блока управления системы SRS.

    5. Убедитесь, что контакты разъемов не деформированы и не повреждены.

      OK

      Контакты не деформированы и не повреждены.

    6. Убедитесь, что короткие пружины механизма предотвращения срабатывания в разъеме напольного провода не деформированы и не повреждены.

      OK

      Короткие пружины не деформированы и не повреждены.

    Result

    Перейти к

    OK

    НЕ СООТВ.

    НЕ СООТВ.

    ЗАМЕНИТЕ НАПОЛЬНЫЙ ПРОВОД

    СООТВ
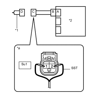
  3. ПРОВЕРЬТЕ ПРАВУЮ ПОДУШКУ БЕЗОПАСНОСТИ В ПОДУШКЕ ПЕРЕДНЕГО СИДЕНЬЯ В СБОРЕ

    1. C249370C09

      *1

      Подушка безопасности в подушке правого переднего сиденья в сборе

      *2

      Блок управления системы SRS

      *a

      Вид спереди разъема со стороны жгута проводов:

      (к подушке безопасности в подушке правого переднего сиденья в сборе)

      Подсоедините разъем к блоку управления системы SRS.

    2. Подсоедините SST (сопротивление 2,1 Ом) к разъему С.

      CAUTION:

      Никогда не подключайте для измерения диагностический прибор к подушке безопасности в подушке правого переднего сиденья в сборе, так как это может привести к серьезной травме вследствие срабатывания подушки безопасности.

      Note:
      • При подсоединении не следует вставлять SST в контакты разъема с усилием.

      • Вставляйте SST в контакты разъема по прямой.

    3. Подсоедините провод к отрицательному (-) выводу аккумуляторной батареи.

    4. Удалите коды DTC, сохраненные в памяти.

      Нажмите здесьClick here

      Body Electrical > SRS Airbag > Clear DTCs

    5. Выключите зажигание.

    6. Включите зажигание (IG) и подождите не менее 60 с.

    7. Проверьте наличие кодов DTC.

      Нажмите здесьClick here

      Body Electrical > SRS Airbag > Trouble Codes

      OK

      Код DTC B1875/67, B1876/67, B1877/67 или B1878/67 не выводится.

      Tip:

      На этом этапе могут выводиться коды, отличные от кодов DTC B1875/67, B1876/67, B1877/67 и B1878/67, однако они не связаны с данной проверкой.

    8. Выключите питание.

    9. Отсоедините провод от отрицательного (-) вывода аккумуляторной батареи.

      CAUTION:

      После отсоединения провода от отрицательного (-) вывода аккумуляторной батареи подождите не менее 90 с, чтобы предотвратить срабатывание системы SRS.

    10. Отсоедините SST от разъема С.

    09843-18061

    Результат

    Перейти к

    OK

    НЕ СООТВ.

    OK

    ЗАМЕНИТЕ ПРАВУЮ ПОДУШКУ БЕЗОПАСНОСТИ В ПОДУШКЕ ПЕРЕДНЕГО СИДЕНЬЯ В СБОРЕ

    Нажмите здесьClick hereClick here

    NG
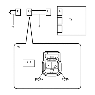
  4. ПРОВЕРЬТЕ НАПОЛЬНЫЙ ПРОВОД

    1. C249371C11

      *1

      Подушка безопасности в подушке правого переднего сиденья в сборе

      *2

      Центральный блок управления системы SRS

      *3

      Напольный провод

      *a

      Вид спереди разъема со стороны жгута проводов:

      (к подушке безопасности в подушке правого переднего сиденья в сборе)

      Отсоедините напольный провод от центрального блока управления системы SRS.

    2. Проверьте, нет ли в цепи короткого замыкания на B+.

      1. Подсоедините провод к отрицательному выводу (-) аккумуляторной батареи.

      2. Включите зажигание (IG).

      3. Измерьте напряжение в соответствии со значениями, приведенными в таблице.

        Номинальное напряжение

        Подключение диагностического прибора

        Условие

        Заданные условия

        Rr1-1 (FCP+) - масса

        Зажигание включено (IG)

        Менее 1 В

        Rr1-2 (FCP-) - масса

        Зажигание включено (IG)

        менее 1 В

      4. Выключите зажигание.

      5. Отсоедините провод от отрицательного (-) вывода аккумуляторной батареи.

        CAUTION:

        После отсоединения провода от отрицательного (-) вывода аккумуляторной батареи подождите не менее 90 с, чтобы предотвратить срабатывание системы SRS.

    3. Проверьте, нет ли в цепи обрыва.

      1. Измерьте сопротивление в соответствии со значениями, приведенными в таблице ниже.

        Номинальное сопротивление

        Подключение диагностического прибора

        Условие

        Заданные условия

        Rr1-1 (FCP+) - Rr1-2 (FCP-)

        Всегда

        Менее 1 Ом

    4. Проверьте, нет ли в цепи короткого замыкания на массу.

      1. Измерьте сопротивление в соответствии со значениями, приведенными в таблице.

        Номинальное сопротивление

        Подключение диагностического прибора

        Условие

        Заданные условия

        Rr1-1 (FCP+) - масса

        Всегда

        1 МОм или более

        Rr1-2 (FCP-) - масса

        Всегда

        1 МОм или более

    5. Проверьте, нет ли в цепи короткого замыкания.

      1. Разомкните механизм предотвращения срабатывания, встроенный в разъем B.

        Нажмите здесьClick hereClick here

      2. Измерьте сопротивление в соответствии со значениями, приведенными в таблице ниже.

        Номинальное сопротивление

        Подключение диагностического прибора

        Условие

        Заданные условия

        Rr1-1 (FCP+) - Rr1-2 (FCP-)

        Всегда

        1 МОм или более

      3. Верните механизм предотвращения срабатывания разъема B в исходное состояние.

    Result

    Перейти к

    OK

    НЕ СООТВ.

    НЕ СООТВ.

    ЗАМЕНИТЕ НАПОЛЬНЫЙ ПРОВОД

    СООТВ
  5. ПРОВЕРЬТЕ DTC

    1. C238241C01

      *1

      Подушка безопасности в подушке правого переднего сиденья в сборе

      *2

      Блок управления системы SRS

      Подсоедините разъемы к подушке безопасности в подушке правого переднего сиденья и центральному блоку управления системы SRS.

    2. Подсоедините провод к отрицательному (-) выводу аккумуляторной батареи.

    3. Удалите коды DTC, сохраненные в памяти.

      Нажмите здесьClick here

      Body Electrical > SRS Airbag > Clear DTCs

    4. Выключите зажигание.

    5. Включите зажигание (IG) и подождите не менее 60 с.

    6. Проверьте наличие кодов DTC.

      Нажмите здесьClick here

      Body Electrical > SRS Airbag > Trouble Codes

      OK

      Код DTC B1875/67, B1876/67, B1877/67 или B1878/67 не выводится.

      Tip:

      На этом этапе могут выводиться коды, отличные от кодов DTC B1875/67, B1876/67, B1877/67 и B1878/67, однако они не связаны с данной проверкой.

    Результат

    Перейти к

    OK

    НЕ СООТВ.

    OK

    ВЫПОЛНИТЕ ПРОВЕРКУ С ИМИТАЦИЕЙ УСЛОВИЙ ВОЗНИКНОВЕНИЯ НЕИСПРАВНОСТИ

    Нажмите здесьClick hereClick hereClick hereClick here

    NG

    ЗАМЕНИТЕ ЦЕНТРАЛЬНЫЙ БЛОК УПРАВЛЕНИЯ СИСТЕМЫ SRS

    Нажмите здесьClick hereClick here

  6. ПРОВЕРЬТЕ РАЗЪЕМЫ

    1. C238350C01

      *1

      Левая подушка безопасности в подушке переднего сиденья в сборе

      *2

      Центральный блок управления системы SRS

      *3

      Напольный провод № 2

      Выключите питание.

    2. Отсоедините провод от отрицательного вывода (-) аккумуляторной батареи.

      CAUTION:

      После отсоединения провода от отрицательного (-) вывода аккумуляторной батареи подождите не менее 90 с, чтобы предотвратить срабатывание системы SRS.

    3. Проверьте правильность подключения разъемов к подушке безопасности в подушке левого переднего сиденья и центральному блоку управления системы SRS.

      OK

      Разъемы подсоединены должным образом.

      Tip:

      Если разъемы подсоединены ненадежно, подсоедините их и перейдите к следующей проверке.

    4. Отсоедините разъемы от подушки безопасности в подушке левого переднего сиденья и центрального блока управления системы SRS.

    5. Убедитесь, что контакты разъемов не деформированы и не повреждены.

      OK

      Контакты не деформированы и не повреждены.

    6. Убедитесь, что короткие пружины механизма предотвращения срабатывания в разъеме напольного провода № 2 не деформированы и не повреждены.

      OK

      Короткие пружины не деформированы и не повреждены.

    Result

    Перейти к

    OK

    НЕ СООТВ.

    НЕ СООТВ.

    ЗАМЕНИТЕ НАПОЛЬНЫЙ ПРОВОД № 2

    СООТВ
  7. ПРОВЕРЬТЕ ЛЕВУЮ ПОДУШКУ БЕЗОПАСНОСТИ В ПОДУШКЕ ПЕРЕДНЕГО СИДЕНЬЯ В СБОРЕ

    1. C338143C02

      *1

      Левая подушка безопасности в подушке переднего сиденья в сборе

      *2

      Блок управления системы SRS

      *a

      Вид спереди разъема со стороны жгута проводов:

      (к подушке безопасности в подушке левого переднего сиденья в сборе)

      Подсоедините разъем к блоку управления системы SRS.

    2. Подсоедините SST (сопротивление 2,1 Ом) к разъему С.

      CAUTION:

      Никогда не подключайте для измерения диагностический прибор к подушке безопасности в подушке левого переднего сиденья в сборе, так как это может привести к серьезной травме вследствие срабатывания подушки безопасности.

      Note:
      • При подсоединении не следует вставлять SST в контакты разъема с усилием.

      • Вставляйте SST в контакты разъема по прямой.

    3. Подсоедините провод к отрицательному (-) выводу аккумуляторной батареи.

    4. Удалите коды DTC, сохраненные в памяти.

      Нажмите здесьClick here

      Body Electrical > SRS Airbag > Clear DTCs

    5. Выключите зажигание.

    6. Включите зажигание (IG) и подождите не менее 60 с.

    7. Проверьте наличие кодов DTC.

      Нажмите здесьClick here

      Body Electrical > SRS Airbag > Trouble Codes

      OK

      Код DTC B1875/67, B1876/67, B1877/67 или B1878/67 не выводится.

      Tip:

      На этом этапе могут выводиться коды, отличные от кодов DTC B1875/67, B1876/67, B1877/67 и B1878/67, однако они не связаны с данной проверкой.

    8. Выключите питание.

    9. Отсоедините провод от отрицательного (-) вывода аккумуляторной батареи.

      CAUTION:

      После отсоединения провода от отрицательного (-) вывода аккумуляторной батареи подождите не менее 90 с, чтобы предотвратить срабатывание системы SRS.

    10. Отсоедините SST от разъема С.

    09843-18061

    Результат

    Перейти к

    OK

    НЕ СООТВ.

    OK

    ЗАМЕНИТЕ ЛЕВУЮ ПОДУШКУ БЕЗОПАСНОСТИ В ПОДУШКЕ ПЕРЕДНЕГО СИДЕНЬЯ В СБОРЕ

    Нажмите здесьClick hereClick here

    NG
  8. ПРОВЕРЬТЕ НАПОЛЬНЫЙ ПРОВОД № 2

    1. C338144C02

      *1

      Левая подушка безопасности в подушке переднего сиденья в сборе

      *2

      Центральный блок управления системы SRS

      *3

      Напольный провод № 2

      *a

      Вид спереди разъема со стороны жгута проводов:

      (к подушке безопасности в подушке левого переднего сиденья в сборе)

      Отсоедините напольный провод № 2 от центрального блока управления системы SRS.

    2. Проверьте, нет ли в цепи короткого замыкания на B+.

      1. Подсоедините провод к отрицательному выводу (-) аккумуляторной батареи.

      2. Включите зажигание (IG).

      3. Измерьте напряжение в соответствии со значениями, приведенными в таблице.

        Номинальное напряжение

        Подключение диагностического прибора

        Условие

        Заданные условия

        Su1-1 (FCP+) - масса

        Зажигание включено (IG)

        Менее 1 В

        Su1-2 (FCP-) - масса

        Зажигание включено (IG)

        менее 1 В

      4. Выключите зажигание.

      5. Отсоедините провод от отрицательного (-) вывода аккумуляторной батареи.

        CAUTION:

        После отсоединения провода от отрицательного (-) вывода аккумуляторной батареи подождите не менее 90 с, чтобы предотвратить срабатывание системы SRS.

    3. Проверьте, нет ли в цепи обрыва.

      1. Измерьте сопротивление в соответствии со значениями, приведенными в таблице ниже.

        Номинальное сопротивление

        Подключение диагностического прибора

        Условие

        Заданные условия

        Su1-1 (FCP+) - Su1-2 (FCP-)

        Всегда

        Менее 1 Ом

    4. Проверьте, нет ли в цепи короткого замыкания на массу.

      1. Измерьте сопротивление в соответствии со значениями, приведенными в таблице.

        Номинальное сопротивление

        Подключение диагностического прибора

        Условие

        Заданные условия

        Su1-1 (FCP+) - масса

        Всегда

        1 МОм или более

        Su1-2 (FCP-) - масса

        Всегда

        1 МОм или более

    5. Проверьте, нет ли в цепи короткого замыкания.

      1. Разомкните механизм предотвращения срабатывания, встроенный в разъем B.

        Нажмите здесьClick hereClick here

      2. Измерьте сопротивление в соответствии со значениями, приведенными в таблице ниже.

        Номинальное сопротивление

        Подключение диагностического прибора

        Условие

        Заданные условия

        Su1-1 (FCP+) - Su1-2 (FCP-)

        Всегда

        1 МОм или более

      3. Верните механизм предотвращения срабатывания разъема B в исходное состояние.

    Result

    Перейти к

    OK

    НЕ СООТВ.

    НЕ СООТВ.

    ЗАМЕНИТЕ НАПОЛЬНЫЙ ПРОВОД № 2

    СООТВ
  9. ПРОВЕРЬТЕ DTC

    1. C238353C01

      *1

      Левая подушка безопасности в подушке переднего сиденья в сборе

      *2

      Блок управления системы SRS

      Подсоедините разъемы к подушке безопасности в подушке левого переднего сиденья и центральному блоку управления системы SRS.

    2. Подсоедините провод к отрицательному (-) выводу аккумуляторной батареи.

    3. Удалите коды DTC, сохраненные в памяти.

      Нажмите здесьClick here

      Body Electrical > SRS Airbag > Clear DTCs

    4. Выключите зажигание.

    5. Включите зажигание (IG) и подождите не менее 60 с.

    6. Проверьте наличие кодов DTC.

      Нажмите здесьClick here

      Body Electrical > SRS Airbag > Trouble Codes

      OK

      Код DTC B1875/67, B1876/67, B1877/67 или B1878/67 не выводится.

      Tip:

      На этом этапе могут выводиться коды, отличные от кодов DTC B1875/67, B1876/67, B1877/67 и B1878/67, однако они не связаны с данной проверкой.

    Результат

    Перейти к

    OK

    НЕ СООТВ.

    OK

    ВЫПОЛНИТЕ ПРОВЕРКУ С ИМИТАЦИЕЙ УСЛОВИЙ ВОЗНИКНОВЕНИЯ НЕИСПРАВНОСТИ

    Нажмите здесьClick hereClick hereClick hereClick here

    NG

    ЗАМЕНИТЕ ЦЕНТРАЛЬНЫЙ БЛОК УПРАВЛЕНИЯ СИСТЕМЫ SRS

    Нажмите здесьClick hereClick here