СИСТЕМА ОБРАБОТКИ И ПЕРЕДАЧИ ИНФОРМАЦИИ (для моделей с приемопередатчиком системы обработки и передачи информации с поддержкой G-BOOK) Цепь принятого голосового сигнала

Код DTC Наименование DTC
Цепь принятого голосового сигнала

СХЕМА ЭЛЕКТРИЧЕСКИХ СОЕДИНЕНИЙ

E284012E10

ПРЕДОСТЕРЕЖЕНИЕ / ПРИМЕЧАНИЕ / УКАЗАНИЕ

Note:
  • В зависимости от замененных деталей или операций, которые были выполнены при проверке или обслуживании автомобиля, может потребоваться инициализация, регистрация или калибровка. См. раздел "Меры предосторожности при работе с системой G-BOOK".

    Нажмите здесьЩелкните по следующей ссылке

  • Приемопередатчик системы обработки и передачи информации следует заменять исключительно новым блоком.

ПОРЯДОК ВЫПОЛНЕНИЯ

  1. ПРОВЕРЬТЕ ЖГУТ ПРОВОДОВ И РАЗЪЕМ (РАДИОПРИЕМНИК В СБОРЕ – ПРИЕМОПЕРЕДАТЧИК СИСТЕМЫ ОБРАБОТКИ И ПЕРЕДАЧИ ИНФОРМАЦИИ)

    1. Отсоедините разъем I154 радиоприемника в сборе.

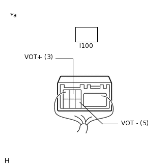
    2. Отсоедините разъем I100 приемопередатчика системы обработки и передачи информации.

    3. Измерьте сопротивление в соответствии со значениями, приведенными в таблице.

      Номинальное сопротивление

      Подключение диагностического прибора

      Условие

      Заданные условия

      I154-13 (VOR+) - I100-3 (VOT+)

      Всегда

      Менее 1 Ом

      I154-14 (VOR-) - I100-5 (VOT-)

      Всегда

      Менее 1 Ом

      I154-13 (VOR+) - масса

      Всегда

      10 кОм или более

      I154-14 (VOR-) - масса

      Всегда

      10 кОм или более

    Результат

    Перейти к

    OK

    НЕ СООТВ.

    НЕ СООТВ.

    ОТРЕМОНТИРУЙТЕ ИЛИ ЗАМЕНИТЕ ЖГУТ ПРОВОДОВ ИЛИ РАЗЪЕМ

    СООТВ
  2. ПРОВЕРЬТЕ ПРИЕМОПЕРЕДАТЧИК СИСТЕМЫ ОБРАБОТКИ И ПЕРЕДАЧИ ИНФОРМАЦИИ

    1. Снимите приемопередатчик системы обработки и передачи информации, не отсоединяя разъемы.

    2. E122091C28

      *a

      Устройство с подсоединенным жгутом проводов

      (приемопередатчик системы обработки и передачи информации)

      Проверьте наличие импульсов в соответствии со значениями, приведенными в таблице ниже.

      Номинальное положение

      Контакты для подключения диагностического прибора

      Условие

      Номинальное значение

      I100-3 (VOT+) - масса

      Вызов при использовании службы оператора

      Выводится сигнал, синхронизированный с передаваемым голосом

      I100-5 (VOT-) - масса

      Вызов при использовании службы оператора

      Выводится сигнал, синхронизированный с передаваемым голосом

    Result

    Перейти к

    OK

    НЕ СООТВ.

    OK

    ЗАМЕНИТЕ РАДИОПРИЕМНИК В СБОРЕ

    NG

    ЗАМЕНИТЕ ПРИЕМОПЕРЕДАТЧИК СИСТЕМЫ ОБРАБОТКИ И ПЕРЕДАЧИ ИНФОРМАЦИИ