КЛАПАН СБРОСА ДАВЛЕНИЯ ТОПЛИВА УЗЛЫ И ДЕТАЛИ
ИЛЛЮСТРАЦИЯ
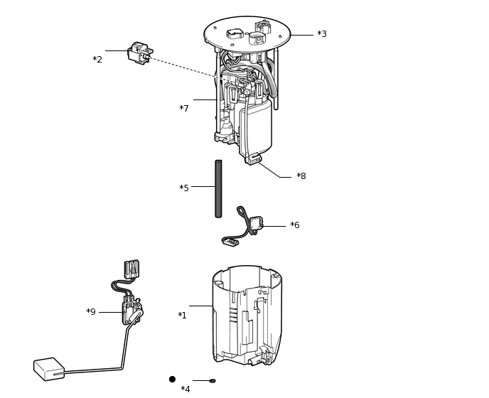
*1 |
ВСПОМОГАТЕЛЬНЫЙ ТОПЛИВНЫЙ БАК № 1 |
*2 |
КЛАПАН СБРОСА ДАВЛЕНИЯ В СБОРЕ |
*3 |
ПЛАСТИНА ТОПЛИВОЗАБОРНИКА В СБОРЕ |
*4 |
E-ОБРАЗНОЕ КОЛЬЦО |
*5 |
ПРУЖИНА |
*6 |
ЖГУТ ПРОВОДОВ ТОПЛИВНОГО НАСОСА |
*7 |
ВАЛ ПЛАСТИНЫ ТОПЛИВОЗАБОРНИКА |
*8 |
ШЛАНГ ФИЛЬТРА ТОПЛИВНОГО НАСОСА |
*9 |
ДАТЧИК УРОВНЯ ТОПЛИВА В СБОРЕ |
- |
- |
● |
Деталь однократного применения |
- |
- |