ENGINE UNIT


  1. CONSTRUCTION


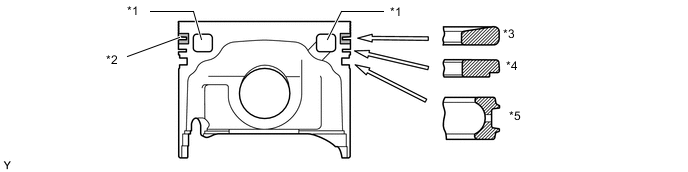
    1. The piston is made of aluminum alloy which excels in high-temperature strength. The skirt portion has been tin-plated to achieve wear resistance.

    2. A cooling channel has been provided at the upper part of the piston to improve the cooling performance.

    3. To improve the wear resistance of the top ring groove, a Fiber Reinforced Metal (FRM) ring carrier is used.

    4. The surfaces of the No. 1 and No. 2 piston rings and of the oil ring have been gas-nitrided to improve their wear resistance.

      A01SA1NC01
      *1 Cooling Channel *2 FRM Ring Carrier
      *3 No. 1 Compression Ring *4 No. 2 Compression Ring
      *5 Oil Ring - -