RELAY ON-VEHICLE INSPECTION

PROCEDURE


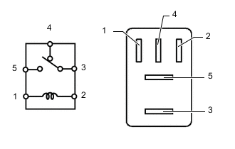
  1. FAN NO. 1 RELAY


    1. A004IYQE12

      Measure the resistance according to the value(s) in the table below.

      Standard Resistance
      Tester Connection Condition Specified Condition
      3 - 5 Battery voltage is not applied between terminals 1 and 2 10 kΩ or higher
      Battery voltage is applied between terminals 1 and 2 Below 1 Ω

      • If the result is not as specified, replace the relay.

  2. FAN NO. 2 RELAY


    1. A004JYZE28

      Measure the resistance according to the value(s) in the table below.

      Standard Resistance
      Tester Connection Condition Specified Condition
      3 - 4 Battery voltage is not applied between terminals 1 and 2 Below 1 Ω
      Battery voltage is applied between terminals 1 and 2 10 kΩ or higher
      3 - 5 Battery voltage is not applied between terminals 1 and 2 10 kΩ or higher
      Battery voltage is applied between terminals 1 and 2 Below 1 Ω

      • If the result is not as specified, replace the relay.

  3. FAN NO. 3 RELAY


    1. A004IYQE12

      Measure the resistance according to the value(s) in the table below.

      Standard Resistance
      Tester Connection Condition Specified Condition
      3 - 5 Battery voltage is not applied between terminals 1 and 2 10 kΩ or higher
      Battery voltage is applied between terminals 1 and 2 Below 1 Ω

      • If the result is not as specified, replace the relay.