СИСТЕМА КОНДИЦИОНИРОВАНИЯ


  1. КОНСТРУКЦИЯ


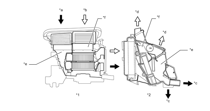
    1. Кондиционер включает в себя испаритель системы кондиционирования № 1 в сборе, блок радиатора отопителя в сборе, серводвигатели, датчик температуры испарителя (термистор системы кондиционирования № 1) и вентилятор с электродвигателем в сборе.

    2. Для уменьшения габаритных размеров и облегчения конструкции испаритель системы кондиционирования № 1 в сборе и блок радиатора отопителя в сборе устанавливаются поперечно.

    3. В соединении жгута проводов, связывающем сервопривод с блоком управления системой кондиционирования, используется шинный разъем.

      A01FJKWC01
      *1 Испаритель системы кондиционирования № 1 в сборе *2 Блок радиатора отопителя в сборе
      B004H73 Передняя сторона - -
    4. Используется двухуровневая система кондиционирования для внутреннего и наружного воздуха. Кондиционер этого типа впускает наружный воздух сверху и обеспечивает циркуляцию воздуха салона, направляя его вниз, благодаря чему предотвращается запотевание и сокращаются потери на вентиляцию.

      A01FJTIC01
      *1 Электродвигатель вентилятора с вентилятором в сборе *2 Радиатор системы кондиционирования в сборе
      *a Впуск воздуха салона *b Впуск наружного воздуха
      *c Подача воздуха салона *d Подача наружного воздуха
      *e Нижний уровень *f Верхний уровень
    5. В качестве смесительных заслонок (верхнего и нижнего уровней) и заслонки распределения потоков воздуха (верхнего уровня) применяются задвижные заслонки, что позволило сделать радиатор системы кондиционирования в сборе более компактным.

      A01FJEKC01
      *1 Смесительная заслонка (верхнего уровня) *2 Смесительная заслонка (верхнего уровня)
      *3 Заслонка распределения потоков воздуха (верхнего уровня) - -
    6. В радиатор системы кондиционирования в сборе устанавливается заслонка распределения потоков воздуха (DEF), сконструированная специально для оттаивателя, что позволяет выпускать воздух через сопло оттаивателя даже в двухуровневом режиме.

      A01FJFUC01
      *1 Заслонка распределения потоков воздуха (DEF) - -
      B004H73 К соплу оттаивателя - -