LUMBAR SWITCH INSPECTION

PROCEDURE


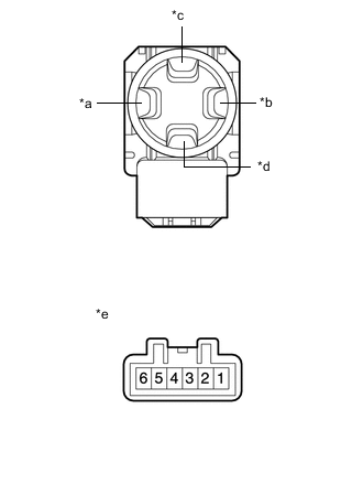
  1. INSPECT FRONT LUMBAR POWER SEAT SWITCH (DRIVER SEAT) (w/ Seat Variable Cushion Switch)


    1. A01R9I3C03
      *a
      • Hold Switch (for LHD)

      • Release Switch (for RHD)

      *b
      • Release Switch (for LHD)

      • Hold Switch (for RHD)

      *c Up Switch
      *d Down Switch
      *e

      Component without harness connected

      (Front Lumbar Power Seat Switch (Driver Seat))

      Measure the resistance according to the value(s) in the table below.

      Standard Resistance
      for LHD
      Tester Connection Condition Specified Condition
      3 - 5 Hold switch pressed Below 1 Ω
      1 - 2
      1 - 5 Release switch pressed
      2 - 3
      4 - 5 Up switch pressed
      2 - 6
      2 - 4 Down switch pressed
      5 - 6
      1 - 2 Off
      2 - 3
      2 - 4
      2 - 6
      for RHD
      Tester Connection Condition Specified Condition
      1 - 5 Hold switch pressed Below 1 Ω
      2 - 3
      1 - 2 Release switch pressed
      3 - 5
      4 - 5 Up switch pressed
      2 - 6
      2 - 4 Down switch pressed
      5 - 6
      1 - 2 Off
      2 - 3
      2 - 4
      2 - 6

      If the result is not as specified, replace the power seat switch assembly.

  2. INSPECT FRONT LUMBAR POWER SEAT SWITCH (DRIVER SEAT) (w/o Seat Variable Cushion Switch)


    1. A01RBIZC02
      *a
      • Hold Switch (for LHD)

      • Release Switch (for RHD)

      *b
      • Release Switch (for LHD)

      • Hold Switch (for RHD)

      *c

      Component without harness connected

      (Front Lumbar Power Seat Switch (Driver Seat))

      Measure the resistance according to the value(s) in the table below.

      Standard Resistance
      for LHD
      Tester Connection Condition Specified Condition
      3 - 5 Hold switch pressed Below 1 Ω
      1 - 2
      1 - 2 Off
      2 - 3
      1 - 5 Release switch pressed
      2 - 3
      for RHD
      Tester Connection Condition Specified Condition
      1 - 5 Hold switch pressed Below 1 Ω
      2 - 3
      1 - 2 Off
      2 - 3
      1 - 2 Release switch pressed
      3 - 5

      If the result is not as specified, replace the power seat switch assembly.

  3. INSPECT FRONT LUMBAR POWER SEAT SWITCH (FRONT PASSENGER SEAT) (w/ Seat Variable Cushion Switch)


    1. A01R9I3C03
      *a
      • Release Switch (for LHD)

      • Hold Switch (for RHD)

      *b
      • Hold Switch (for LHD)

      • Release Switch (for RHD)

      *c Up Switch
      *d Down Switch
      *e

      Component without harness connected

      (Front Lumbar Power Seat Switch (Front Passenger Seat))

      Measure the resistance according to the value(s) in the table below.

      Standard Resistance
      for LHD
      Tester Connection Condition Specified Condition
      1 - 5 Hold switch pressed Below 1 Ω
      2 - 3
      1 - 2 Release switch pressed
      3 - 5
      4 - 5 Up switch pressed
      2 - 6
      2 - 4 Down switch pressed
      5 - 6
      1 - 2 Off
      2 - 3
      2 - 4
      2 - 6
      for RHD
      Tester Connection Condition Specified Condition
      3 - 5 Hold switch pressed Below 1 Ω
      1 - 2
      1 - 5 Release switch pressed
      2 - 3
      4 - 5 Up switch pressed
      2 - 6
      2 - 4 Down switch pressed
      5 - 6
      1 - 2 Off
      2 - 3
      2 - 4
      2 - 6

      If the result is not as specified, replace the power seat switch assembly.

  4. INSPECT FRONT LUMBAR POWER SEAT SWITCH (FRONT PASSENGER SEAT) (w/o Seat Variable Cushion Switch)


    1. A01RBIZC02
      *a
      • Release Switch (for LHD)

      • Hold Switch (for RHD)

      *b
      • Hold Switch (for LHD)

      • Release Switch (for RHD)

      *c

      Component without harness connected

      (Front Lumbar Power Seat Switch (Front Passenger Seat))

      Measure the resistance according to the value(s) in the table below.

      Standard Resistance
      for LHD
      Tester Connection Condition Specified Condition
      1 - 5 Hold switch pressed Below 1 Ω
      2 - 3
      1 - 2 Off
      2 - 3
      1 - 2 Release switch pressed
      3 - 5
      for RHD
      Tester Connection Condition Specified Condition
      3 - 5 Hold switch pressed Below 1 Ω
      1 - 2
      1 - 2 Off
      2 - 3
      1 - 5 Release switch pressed
      2 - 3

      If the result is not as specified, replace the power seat switch assembly.