LIGHTING SYSTEM, Diagnostic DTC:B2410 and B2411

DTC Code DTC Name
B2410 Headlight Swivel Motor LH Communication Malfunction
B2411 Headlight Swivel Motor RH Communication Malfunction

DESCRIPTION

These DTCs are stored when the headlight swivel ECU detects errors in its own communication with the headlight swivel motor.

DTC No.

Detection Item

DTC Detection Condition

Trouble Area

B2410

Headlight Swivel Motor LH Communication Malfunction

The headlight swivel ECU detected errors in its own communication with the headlight swivel motor LH.

  • Headlight unit LH (swivel motor)

  • Headlight swivel ECU assembly

  • Harness or connector

B2411

Headlight Swivel Motor RH Communication Malfunction

The headlight swivel ECU detected errors in its own communication with the headlight swivel motor RH.

  • Headlight unit RH (swivel motor)

  • Headlight swivel ECU assembly

  • Harness or connector

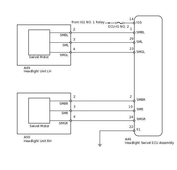
WIRING DIAGRAM

E144116E62

PROCEDURE

  1. CHECK FOR DTC

    1. Clear the DTCs.

      Click here

      Body Electrical > AFS > Clear DTCs

    2. Check for DTCs.

      Click here

      Body Electrical > AFS > Trouble Codes

      OK

      DTC B2410 or B2411 output does not occur.DTC B1244 output does not occur.

      Result

      Result

      OK

      NG

    OK

    USE SIMULATION METHOD TO CHECK

    NG
  2. CHECK HARNESS AND CONNECTOR (HEADLIGHT SWIVEL ECU ASSEMBLY - BATTERY)

    1. E131580C01

      *a

      Front view of wire harness connector

      (to Headlight Swivel ECU Assembly)

      Disconnect the A46 headlight swivel ECU connector.

    2. Measure the voltage according to the value(s) in the table below.

      Standard Voltage

      Tester Connection

      Switch Condition

      Specified Condition

      A46-14 (IGS) - Body ground

      Engine switch on (IG)

      11 to 14 V

      Result

      Result

      OK

      NG

    NG

    REPAIR OR REPLACE HARNESS OR CONNECTOR

    OK
  3. CHECK HARNESS AND CONNECTOR (HEADLIGHT SWIVEL ECU ASSEMBLY - BODY GROUND)

    1. E131580C02

      *a

      Front view of wire harness connector

      (to Headlight Swivel ECU Assembly)

      Disconnect the A46 headlight swivel ECU connector.

    2. Measure the resistance according to the value(s) in the table below.

      Standard Resistance

      Tester Connection

      Condition

      Specified Condition

      A46-22 (E1) - Body ground

      Always

      Below 1 Ω

      Result

      Result

      OK

      NG

    NG

    REPAIR OR REPLACE HARNESS OR CONNECTOR

    OK
  4. CHECK HARNESS AND CONNECTOR (HEADLIGHT SWIVEL ECU ASSEMBLY - HEADLIGHT UNIT)

    1. Disconnect the A46 headlight swivel ECU connector.

    2. Disconnect the A49*1 or A50*2 headlight connector.

      • *1: for LH

        *2: for RH

    3. Measure the resistance according to the value(s) in the table below.

      Standard Resistance

      Table 1. for LH:

      Tester Connection

      Condition

      Specified Condition

      A46-1 (SMBL) - A49-2 (SMBL)

      Always

      Below 1 Ω

      A46-29 (SML) - A49-3 (SML)

      Always

      Below 1 Ω

      A46-23 (SMGL) - A49-4 (SMGL)

      Always

      Below 1 Ω

      A46-1 (SMBL) - Body ground

      Always

      10 kΩ or higher

      A46-29 (SML) - Body ground

      Always

      10 kΩ or higher

      A46-23 (SMGL) - Body ground

      Always

      10 kΩ or higher

      Table 2. for RH:

      Tester Connection

      Condition

      Specified Condition

      A46-2 (SMBR) - A50-2 (SMBR)

      Always

      Below 1 Ω

      A46-10 (SMR) - A50-3 (SMR)

      Always

      Below 1 Ω

      A46-24 (SMGR) - A50-4 (SMGR)

      Always

      Below 1 Ω

      A46-2 (SMBR) - Body ground

      Always

      10 kΩ or higher

      A46-10 (SMR) - Body ground

      Always

      10 kΩ or higher

      A46-24 (SMGR) - Body ground

      Always

      10 kΩ or higher

    Result

    Result

    OK

    NG

    NG

    REPAIR OR REPLACE HARNESS OR CONNECTOR

    OK
  5. CHECK HEADLIGHT UNIT (OPERATION)

    1. Temporarily replace the headlight unit (swivel motor) with a new or normally functioning one.

      Click here

    2. Check for DTCs.

      Click here

      Body Electrical > Main Body > Trouble Codes

      Body Electrical > AFS > Trouble Codes

      OK

      DTC B2410 or B2411 output does not occur.

      Result

      Result

      OK

      NG

    OK

    END (REPLACE HEADLIGHT UNIT)

    NG

    REPLACE HEADLIGHT SWIVEL ECU ASSEMBLY