VEHICLE STABILITY CONTROL SYSTEM, Diagnostic DTC:C1273,C1274,C1332,C1333,C1466 and C1467

DTC Code DTC Name
C1273 Low Output Signal of Rear Speed Sensor RH (Test Mode DTC)
C1274 Low Output Signal of Rear Speed Sensor LH (Test Mode DTC)
C1332 Open in Rear Speed Sensor RH
C1333 Open in Rear Speed Sensor LH
C1466 Rear Speed Sensor RH
C1467 Rear Speed Sensor LH

DESCRIPTION

Each speed sensor detects the wheel speed and sends signals to the skid control ECU (brake actuator assembly). These signals are used by the ABS.

The speed sensor rotors have rows of alternating N and S magnetic poles. The Hall IC type speed sensors use the frequency of output pulses to detect the vehicle speed. Because the sensor outputs digital pulses, it can detect the vehicle speed even when the vehicle is nearly stationary.

DTCs C1273 and C1274 are cleared when the speed sensor sends a vehicle speed signal or when Test Mode ends. DTCs C1273 and C1274 are output only in Test Mode.

C308266E01

DTC No.

Detection Item

DTC Detection Condition

Trouble Area

Note

C1273

Low Output Signal of Rear Speed Sensor RH (Test Mode DTC)

Detected only during Test Mode.

  • Rear speed sensor RH

  • Sensor installation

  • Rear speed sensor rotor RH (rear axle hub and bearing assembly RH)

Tire pressure warning light (w/ tire pressure warning system) is off.

C1274

Low Output Signal of Rear Speed Sensor LH (Test Mode DTC)

Detected only during Test Mode.

  • Rear speed sensor LH

  • Sensor installation

  • Rear speed sensor rotor LH (rear axle hub and bearing assembly LH)

Tire pressure warning light (w/ tire pressure warning system) is off.

C1332

Open in Rear Speed Sensor RH

An open or short in the speed sensor signal circuit.

  • Rear speed sensor RH

  • Speed sensor circuit

  • Sensor installation

Tire pressure warning light (w/ tire pressure warning system) blinks for 63 seconds and then remains on.

C1333

Open in Rear Speed Sensor LH

An open or short in the speed sensor signal circuit.

  • Rear speed sensor LH

  • Speed sensor circuit

  • Sensor installation

Tire pressure warning light (w/ tire pressure warning system) blinks for 63 seconds and then remains on.

C1466

Rear Speed Sensor RH

Any of the following is detected:

  1. The vehicle speed is more than 50.4 km/h (31 mph) and pulses are not input for 0.4 seconds.

  2. After the initial start or restart and when the vehicle speed has reached 12 km/h (7 mph), a wheel speed of 0 km/h (0 mph) is detected.

  3. After the initial start or restart and when the vehicle speed has reached 20 km/h (12 mph), a rear wheel speed of 0 km/h (0 mph) is detected.

  4. The following conditions are met for 9 to 72 seconds or more (varies depending on the driving conditions):

    • The difference between the speed of the fastest wheel and the speed of the slowest wheel is 5% or more of vehicle speed. (If the speed of any wheel is less than 5 km/h (3 mph), a speed difference of up to 15% is allowable.)

    • The vehicle speed is less than 100 km/h (62 mph) and the difference between the speed of the fastest wheel and the speed of the slowest wheel is 5 km/h (3 mph) or more. (If the speed of any wheel is less than 5 km/h (3 mph), a speed difference of up to 16 km/h (10 mph) is allowable.)

    • The vehicle speed is 100 km/h (62 mph) or more and the difference between the speed of the fastest wheel and the speed of the slowest wheel is 6% or more of vehicle speed. (If the speed of any wheel is less than 5 km/h (3 mph), a speed difference of up to 15% is allowable.)

  5. Wheel speed sensor signal fluctuation is equivalent to 98 G or more, or alternates between 50 G or more and -50 G or less.

  6. An abnormal signal is received from a wheel speed sensor.

  • Rear speed sensor RH

  • Speed sensor circuit

  • Rear speed sensor rotor RH (rear axle hub and bearing assembly RH)

  • Sensor installation

  • Skid control ECU (brake actuator assembly)

Tire pressure warning light (w/ tire pressure warning system) blinks for 63 seconds and then remains on.

C1467

Rear Speed Sensor LH

Any of the following is detected:

  1. The vehicle speed is more than 50.4 km/h (31 mph) and pulses are not input for 0.4 seconds.

  2. After the initial start or restart and when the vehicle speed has reached 12 km/h (7 mph), a wheel speed of 0 km/h (0 mph) is detected.

  3. After the initial start or restart and when the vehicle speed has reached 20 km/h (12 mph), a rear wheel speed of 0 km/h (0 mph) is detected.

  4. The following conditions are met for 9 to 72 seconds or more (varies depending on the driving conditions):

    • The difference between the speed of the fastest wheel and the speed of the slowest wheel is 5% or more of vehicle speed. (If the speed of any wheel is less than 5 km/h (3 mph), a speed difference of up to 15% is allowable.)

    • The vehicle speed is less than 100 km/h (62 mph) and the difference between the speed of the fastest wheel and the speed of the slowest wheel is 5 km/h (3 mph) or more. (If the speed of any wheel is less than 5 km/h (3 mph), a speed difference of up to 16 km/h (10 mph) is allowable.)

    • The vehicle speed is 100 km/h (62 mph) or more and the difference between the speed of the fastest wheel and the speed of the slowest wheel is 6% or more of vehicle speed. (If the speed of any wheel is less than 5 km/h (3 mph), a speed difference of up to 15% is allowable.)

  5. Wheel speed sensor signal fluctuation is equivalent to 98 G or more, or alternates between 50 G or more and -50 G or less.

  6. An abnormal signal is received from a wheel speed sensor.

  • Rear speed sensor LH

  • Speed sensor circuit

  • Rear speed sensor rotor LH (rear axle hub and bearing assembly LH)

  • Sensor installation

  • Skid control ECU (brake actuator assembly)

Tire pressure warning light (w/ tire pressure warning system) blinks for 63 seconds and then remains on.

Tip:
  • DTCs C1273, C1332 and C1466 are for the rear speed sensor RH.

  • DTCs C1274, C1333 and C1467 are for the rear speed sensor LH.

WIRING DIAGRAM

C243493E35

CAUTION / NOTICE / HINT

Note:

When replacing the skid control ECU (brake actuator assembly), perform system variant learning and acceleration sensor zero point calibration.

Click hereClick here

PROCEDURE

  1. READ VALUE USING GTS (REAR SPEED SENSOR)

    1. Connect the GTS to the DLC3.

    2. Start the engine.

    3. Select the Data List using the GTS.

      Click hereClick hereClick here

      Chassis > ABS/VSC/TRC > Data List

      Tester Display

      Measurement Item

      Range

      Normal Condition

      Diagnostic Note

      RR Wheel Speed

      Rear wheel speed sensor RH reading

      Min.: 0 km/h (0 mph), Max.: 326 km/h (202 mph)

      Vehicle stopped: 0 km/h (0 mph)

      When driving at constant speed: No large fluctuations

      RL Wheel Speed

      Rear wheel speed sensor LH reading

      Min.: 0 km/h (0 mph), Max.: 326 km/h (202 mph)

      Vehicle stopped: 0 km/h (0 mph)

      When driving at constant speed: No large fluctuations

      Chassis > ABS/VSC/TRC > Data List

      Tester Display

      RR Wheel Speed

      RL Wheel Speed

    4. Check the speed value output from the speed sensor displayed on the GTS.

      Tip:

      Factors that affect the indicated vehicle speed include tire size, tire pressure, and tire wear. The speed indicated on the speedometer has an allowable margin of error. This can be tested using a speedometer tester (calibrated chassis dynamometer). For details about testing and the margin of error, see the reference chart.

      Click hereClick hereClick here

      OK

      The speed value output from the speed sensor displayed on the GTS is similar to the speed indicated on the speedometer.

    Result

    Proceed to

    OK

    NG

    NG

    CHECK REAR SPEED SENSOR INSTALLATIONClick here

    OK
  2. PERFORM TEST MODE INSPECTION (SIGNAL CHECK)

    1. Turn the ignition switch off.

    2. Perform the sensor check using the Test Mode procedure.

      Click hereClick here

      Chassis > ABS/VSC/TRC > Utility

      Tester Display

      Signal Check

      OK

      No Test Mode DTCs are output.

    Result

    Proceed to

    OK

    NG

    NG

    CHECK REAR SPEED SENSOR INSTALLATIONClick here

    OK
  3. RECONFIRM DTC

    1. Turn the ignition switch off.

    2. Clear the DTCs.

      Click hereClick here

      Chassis > ABS/VSC/TRC > Clear DTCs

    3. Turn the ignition switch off.

    4. Start the engine.

    5. Drive the vehicle at a speed of 54 km/h (34 mph) or more for at least 120 seconds.

    6. Check if the same DTC is output.

      Click hereClick here

      Chassis > ABS/VSC/TRC > Trouble Codes

    Result

    Result

    Proceed to

    DTCs C1332, C1333, C1466 and C1467 are not output.

    A

    DTCs C1332, C1333, C1466 and/or C1467 are output.

    B

    A

    USE SIMULATION METHOD TO CHECK

    B

    REPLACE REAR SPEED SENSORClick here

  4. CHECK REAR SPEED SENSOR INSTALLATION

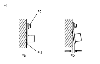
    1. C168336C12

      *1

      Rear Speed Sensor

      *a

      Correct

      *b

      Incorrect

      *c

      8.0 N*m

      *d

      No clearance

      Turn the ignition switch off.

    2. Check the speed sensor installation.

      OK

      There is no clearance between the sensor and the rear axle carrier.

      The installation bolt is tightened properly.

      Torque

      8.0 N*m (82 kgf*cm, 71 in.*lbf)

      Result

      Proceed to

      OK

      NG

    NG

    INSTALL REAR SPEED SENSOR CORRECTLY

    OK
  5. CHECK REAR SPEED SENSOR AND SENSOR ROTOR

    1. Remove the rear speed sensor and the component with the sensor rotor.

      for speed sensor:Click here

      for sensor rotor:Click here

    2. Check the speed sensor tip and speed sensor rotor.

      OK

      No scratches, oil, or foreign matter on the sensor tip and rotor.

      Note:
      • If no damage to the speed sensor tip is found during this inspection, do not replace the speed sensor.

        If there are any ferrous metal filings stuck to the rotor, this will result in a malfunction, so confirm that the rotor is not contaminated with foreign matter before replacing the sensor.

      • Check the speed sensor signal after cleaning or replacement.

        Click hereClick here

    Result

    Proceed to

    OK

    NG

    NG

    CLEAN OR REPLACE REAR SPEED SENSOR OR COMPONENT WITH SENSOR ROTOR

    OK
  6. CHECK HARNESS AND CONNECTOR (BRAKE ACTUATOR ASSEMBLY - REAR SPEED SENSOR)

    1. Install the rear speed sensor and the component with the sensor rotor.

    2. Make sure that there is no looseness at the locking part and the connecting part of the connectors.

    3. Disconnect the A39 skid control ECU (brake actuator assembly) connector and K39 or K17 rear speed sensor connector.

    4. Measure the resistance according to the value(s) in the table below.

      Standard Resistance

      Table 1. for RH:

      Tester Connection

      Condition

      Specified Condition

      A39-17 (RR+) - K39-1 (RR+)

      Always

      Below 1 Ω

      A39-17 (RR+) or K39-1 (RR+) - Body ground

      Always

      10 kΩ or higher

      A39-29 (RR-) - K39-2 (RR-)

      Always

      Below 1 Ω

      A39-29 (RR-) or K39-2 (RR-) - Body ground

      Always

      10 kΩ or higher

      Table 2. for LH:

      Tester Connection

      Condition

      Specified Condition

      A39-31 (RL+) - K17-1 (RL+)

      Always

      Below 1 Ω

      A39-31 (RL+) or K17-1 (RL+) - Body ground

      Always

      10 kΩ or higher

      A39-18 (RL-) - K17-2 (RL-)

      Always

      Below 1 Ω

      A39-18 (RL-) or K17-2 (RL-) - Body ground

      Always

      10 kΩ or higher

    Result

    Proceed to

    OK

    NG

    NG

    REPAIR OR REPLACE HARNESS OR CONNECTOR

    OK
  7. RECONFIRM DTC

    1. Reconnect the A39 skid control ECU (brake actuator assembly) connector and K39 or K17 rear speed sensor connector.

    2. Clear the DTCs.

      Click hereClick here

      Chassis > ABS/VSC/TRC > Clear DTCs

    3. Turn the ignition switch off.

    4. Start the engine.

    5. Drive the vehicle at a speed of 54 km/h (34 mph) or more for at least 120 seconds.

    6. Check if the same DTC is output.

      Click hereClick here

      Chassis > ABS/VSC/TRC > Trouble Codes

    Result

    Result

    Proceed to

    DTCs C1332, C1333, C1466 and/or C1467 are output.

    A

    DTCs C1332, C1333, C1466 and C1467 are not output.

    B

    B

    USE SIMULATION METHOD TO CHECK

    A
  8. REPLACE REAR SPEED SENSOR

    1. Turn the ignition switch off.

    2. Replace the rear speed sensor.

      Click here

      Note:

      Check the speed sensor signal after replacement.

      Click hereClick here

    Result

    Proceed to

    NEXT

    NEXT
  9. RECONFIRM DTC

    1. Clear the DTCs.

      Click hereClick here

      Chassis > ABS/VSC/TRC > Clear DTCs

    2. Turn the ignition switch off.

    3. Start the engine.

    4. Drive the vehicle at a speed of 54 km/h (34 mph) or more for at least 120 seconds.

    5. Check if the same DTC is output.

      Click hereClick here

      Chassis > ABS/VSC/TRC > Trouble Codes

      Result

      Result

      Proceed to

      DTCs C1332, C1333, C1466 and/or C1467 are output.

      A

      DTCs C1332, C1333, C1466 and C1467 are not output.

      B

    B

    END

    A
  10. REPLACE REAR AXLE HUB AND BEARING ASSEMBLY

    1. Turn the ignition switch off.

    2. Replace the rear speed sensor rotor (rear axle hub and bearing assembly).

      Click here

      Tip:

      The rear speed sensor rotor is incorporated into the rear axle hub and bearing assembly.

      If the rear speed sensor rotor needs to be replaced, replace the rear axle hub and bearing assembly.

      Note:

      Check the speed sensor signal after replacement.

      Click hereClick here

    Result

    Proceed to

    NEXT

    NEXT
  11. RECONFIRM DTC

    1. Clear the DTCs.

      Click hereClick here

      Chassis > ABS/VSC/TRC > Clear DTCs

    2. Turn the ignition switch off.

    3. Start the engine.

    4. Drive the vehicle at a speed of 54 km/h (34 mph) or more for at least 120 seconds.

    5. Check if the same DTC is output.

      Click hereClick here

      Chassis > ABS/VSC/TRC > Trouble Codes

      Result

      Result

      Proceed to

      DTCs C1332, C1333, C1466 and C1467 are not output.

      A

      DTCs C1332, C1333, C1466 and/or C1467 are output.

      B

      Tip:

      If troubleshooting has been carried out according to Problem Symptoms Table, refer back to the table and proceed to the next step before replacing parts.

      Click hereClick here

    A

    END

    B

    REPLACE BRAKE ACTUATOR ASSEMBLY