CYLINDER HEAD GASKET COMPONENTS
ILLUSTRATION
*A |
w/ EGR System |
- |
- |
*1 |
EGR COOLER ASSEMBLY |
*2 |
EGR VALVE ASSEMBLY |
*3 |
FUEL DELIVERY PIPE |
*4 |
INJECTOR VIBRATION INSULATOR |
*5 |
INTAKE MANIFOLD |
*6 |
NO. 1 EGR PIPE |
*7 |
NO. 1 WATER BY-PASS HOSE |
*8 |
NO. 3 WATER BY-PASS HOSE |
*9 |
THROTTLE WITH MOTOR BODY ASSEMBLY |
*10 |
WATER BY-PASS PIPE |
*11 |
NO. 1 FUEL DELIVERY SPACER |
*12 |
FUEL HOSE BRACKET |
*13 |
PURGE LINE HOSE |
*14 |
NO. 2 PCV HOSE |
*15 |
FUEL TUBE SUB-ASSEMBLY |
*16 |
GASKET |
*17 |
NO. 2 WATER BY-PASS HOSE |
*18 |
NO. 1 INTAKE MANIFOLD TO HEAD GASKET |
![]() |
N*m (kgf*cm, ft.*lbf): Specified torque |
● |
Non-reusable part |
ILLUSTRATION
*A |
w/o EGR System |
- |
- |
*1 |
FUEL DELIVERY PIPE |
*2 |
INJECTOR VIBRATION INSULATOR |
*3 |
INTAKE MANIFOLD |
*4 |
NO. 1 WATER BY-PASS PIPE |
*5 |
NO. 3 WATER BY-PASS HOSE |
*6 |
NO. 3 WATER BY-PASS PIPE |
*7 |
NO. 5 WATER BY-PASS HOSE |
*8 |
THROTTLE WITH MOTOR BODY ASSEMBLY |
*9 |
NO. 1 FUEL DELIVERY SPACER |
*10 |
FUEL HOSE BRACKET |
*11 |
PURGE LINE HOSE |
*12 |
NO. 2 PCV HOSE |
*13 |
FUEL TUBE SUB-ASSEMBLY |
*14 |
GASKET |
*15 |
NO. 1 WATER BY-PASS HOSE |
*16 |
NO. 1 INTAKE MANIFOLD TO HEAD GASKET |
![]() |
N*m (kgf*cm, ft.*lbf): Specified torque |
● |
Non-reusable part |
ILLUSTRATION
*1 |
CAMSHAFT |
*2 |
CAMSHAFT HOUSING SUB-ASSEMBLY |
*3 |
CAMSHAFT TIMING GEAR ASSEMBLY |
*4 |
CAMSHAFT TIMING SPROCKET |
*5 |
CHAIN SUB-ASSEMBLY |
*6 |
CHAIN TENSIONER SLIPPER |
*7 |
NO. 1 CAMSHAFT BEARING |
*8 |
NO. 1 CHAIN TENSIONER ASSEMBLY |
*9 |
NO. 1 CHAIN VIBRATION DAMPER |
*10 |
NO. 1 VALVE ROCKER ARM SUB-ASSEMBLY |
*11 |
NO. 2 CAMSHAFT |
*12 |
NO. 2 CAMSHAFT BEARING |
*13 |
OIL CONTROL VALVE FILTER |
*14 |
TIMING CHAIN GUIDE |
*15 |
VALVE LASH ADJUSTER ASSEMBLY |
*16 |
NO. 1 CAMSHAFT BEARING CAP |
*17 |
NO. 2 CAMSHAFT BEARING CAP |
*18 |
NO. 3 CAMSHAFT BEARING CAP |
*19 |
GASKET |
- |
- |
![]() |
N*m (kgf*cm, ft.*lbf): Specified torque |
● |
Non-reusable part |
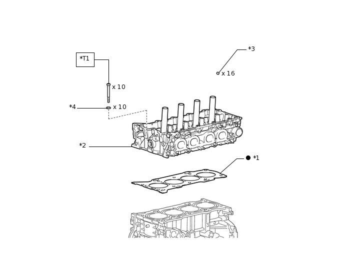
ILLUSTRATION
*1 |
CYLINDER HEAD GASKET |
*2 |
CYLINDER HEAD SUB-ASSEMBLY |
*3 |
VALVE STEM CAP |
*4 |
PLATE WASHER |
![]() |
N*m (kgf*cm, ft.*lbf): Specified torque |
● |
Non-reusable part |
*T1 |
1st: 36 N*m (367 kgf*cm, 27 ft.*lbf) 2nd: 36 N*m (367 kgf*cm, 27 ft.*lbf) 3rd: Turn 90° 4th: Turn 90° |
- |
- |
