AIRBAG SYSTEM, Diagnostic DTC:B1622/81, B1623/81, B1632/81, B1633/81, B1642/81

DTC Code DTC Name
B1622/81 Lost communication with Side Airbag Sensor RH
B1623/81 Side Airbag Sensor Assembly RH Initialization Incomplete
B1632/81 Lost Communication with Rear Airbag Sensor RH
B1633/81 Rear Airbag Sensor Assembly RH Initialization Incomplete
B1642/81 Lost Communication with Side Satellite Sensor Bus RH

DESCRIPTION

The side collision sensor RH circuit (to determine deployment of the front seat airbag assembly RH, curtain shield airbag assembly RH and front seat outer belt assembly RH) is composed of the airbag ECU assembly, side airbag sensor assembly RH and side No. 2 airbag sensor assembly RH.

The side airbag sensor assembly RH and side No. 2 airbag sensor assembly RH detect impacts to the vehicle and send signals to the airbag ECU assembly to determine if the airbag and pretensioner should be deployed.

These DTCs are stored when a malfunction is detected for the side collision sensor RH circuit.

DTC No. DTC Detection Condition Trouble Area

B1622/81

B1623/81

B1632/81

B1633/81

B1642/81


  • The airbag ECU assembly receives a line short circuit signal, an open circuit signal, a short circuit to ground signal or a short circuit to B+ signal in the side collision sensor RH circuit.

  • Side airbag sensor assembly RH malfunction

  • Side No. 2 airbag sensor assembly RH malfunction

  • Airbag ECU assembly malfunction


  • No. 2 floor wire

  • Side airbag sensor assembly RH

  • Side No. 2 airbag sensor assembly RH

  • Airbag ECU assembly

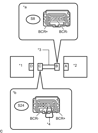
WIRING DIAGRAM

A005AH7E98
*a Side Airbag Sensor Assembly RH
*b Side No. 2 Airbag Sensor Assembly RH
*c Airbag ECU Assembly

CAUTION / NOTICE / HINT

Note

After turning the power switch off, waiting time may be required before disconnecting the cable from the negative (-) auxiliary battery terminal. Therefore, make sure to read the disconnecting the cable from the negative (-) auxiliary battery terminal notices before proceeding with work Click here.

PROCEDURE


  1. CHECK CURRENT DTC


    1. Check for current DTCs Click here.

      Result
      Result Proceed to
      Current DTC B1642 or 81 is output. A
      Current DTC B1623 is output. B
      Current DTC B1632 or B1633 is output. C
      Current DTC B1622 is output. D
      Current DTCs B1622, B1623, B1632, B1633, B1642 and 81 are not output. E

      Tech Tips


      • DTCs indicating communication errors will be changed to DTCs indicating errors in initialization by turning the power switch off and then on (IG) again.

      • Codes other than current DTCs B1622, B1623, B1632, B1633, B1642 and 81 may be output at this time, but they are not related to this check.


    B
    C
    D
    E
    A
  2. CHECK CONNECTORS


    1. Turn the power switch off.

    2. Disconnect the cable from the negative (-) auxiliary battery terminal.

      CAUTION:

      Wait at least 90 seconds after disconnecting the cable from the negative (-) auxiliary battery terminal to disable the SRS system.

    3. Check that the connectors are properly connected to the airbag ECU assembly, side airbag sensor assembly RH and side No. 2 airbag sensor assembly RH.

      OK
      The connectors are properly connected.

      Tech Tips

      If the connectors are not connected securely, reconnect the connectors and proceed to the next inspection.

    4. Disconnect the connectors from the airbag ECU assembly, side airbag sensor assembly RH and side No. 2 airbag sensor assembly RH.

    5. Check that the terminals of the connectors are not damaged.

      OK
      The terminals are not deformed or damaged.

    NG
    OK
  3. CHECK NO. 2 FLOOR WIRE (OPEN)


    1. A005ATBE02
      Text in Illustration
      *1 Side Airbag Sensor Assembly RH
      *2 Airbag ECU Assembly
      *3 No. 2 Floor Wire
      *4 Service Wire
      *a

      Front view of wire harness connector

      (to Airbag ECU Assembly)

      *b

      Front view of wire harness connector

      (to Side Airbag Sensor Assembly RH)

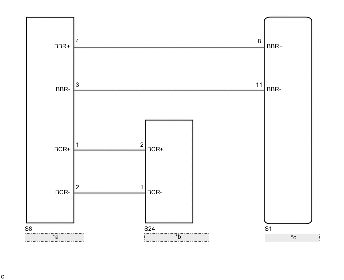
      Using a service wire, connect terminals 8 (BBR+) and 11 (BBR-) of connector B.

      Note

      Do not forcibly insert the service wire into the terminals of the connector when connecting the wire.

    2. Measure the resistance according to the value(s) in the table below.

      Standard Resistance
      Tester Connection Condition Specified Condition
      S8-4 (BBR+) - S8-3 (BBR-) Always Below 1 Ω
    3. Disconnect the service wire from connector B.


    NG
    OK
  4. CHECK NO. 2 FLOOR WIRE (SHORT)


    1. A005EOLE01
      Text in Illustration
      *1 Side Airbag Sensor Assembly RH
      *2 Airbag ECU Assembly
      *3 No. 2 Floor Wire
      *a

      Front view of wire harness connector

      (to Side Airbag Sensor Assembly RH)

      Measure the resistance according to the value(s) in the table below.

      Standard Resistance
      Tester Connection Condition Specified Condition
      S8-4 (BBR+) - S8-3 (BBR-) Always 1 MΩ or higher

    NG
    OK
  5. CHECK NO. 2 FLOOR WIRE (SHORT TO B+)


    1. A005EOLE01
      Text in Illustration
      *1 Side Airbag Sensor Assembly RH
      *2 Airbag ECU Assembly
      *3 No. 2 Floor Wire
      *a

      Front view of wire harness connector

      (to Side Airbag Sensor Assembly RH)

      Connect the cable to the negative (-) auxiliary battery terminal.

    2. Turn the power switch on (IG).

    3. Measure the voltage according to the value(s) in the table below.

      Standard Voltage
      Tester Connection Condition Specified Condition
      S8-4 (BBR+) - Body ground Power switch on (IG) Below 1 V
      S8-3 (BBR-) - Body ground Power switch on (IG) Below 1 V
    4. Turn the power switch off.

    5. Disconnect the cable from the negative (-) auxiliary battery terminal.

      CAUTION:

      Wait at least 90 seconds after disconnecting the cable from the negative (-) auxiliary battery terminal to disable the SRS system.


    NG
    OK
  6. CHECK NO. 2 FLOOR WIRE (SHORT TO GROUND)


    1. A005EOLE01
      Text in Illustration
      *1 Side Airbag Sensor Assembly RH
      *2 Airbag ECU Assembly
      *3 No. 2 Floor Wire
      *a

      Front view of wire harness connector

      (to Side Airbag Sensor Assembly RH)

      Measure the resistance according to the value(s) in the table below.

      Standard Resistance
      Tester Connection Condition Specified Condition
      S8-4 (BBR+) - Body ground Always 1 MΩ or higher
      S8-3 (BBR-) - Body ground Always 1 MΩ or higher

    NG
    OK
  7. CHECK NO. 2 FLOOR WIRE (OPEN)


    1. A005C0XE02
      Text in Illustration
      *1 Side No. 2 Airbag Sensor Assembly RH
      *2 Side Airbag Sensor Assembly RH
      *3 No. 2 Floor Wire
      *4 Service Wire
      *a

      Front view of wire harness connector

      (to Side Airbag Sensor Assembly RH)

      *b

      Front view of wire harness connector

      (to Side No. 2 Airbag Sensor Assembly RH)

      Using a service wire, connect terminals 2 (BCR+) and 1 (BCR-) of connector C.

      Note

      Do not forcibly insert the service wire into the terminals of the connector when connecting the wire.

    2. Measure the resistance according to the value(s) in the table below.

      Standard Resistance
      Tester Connection Condition Specified Condition
      S8-1 (BCR+) - S8-2 (BCR-) Always Below 1 Ω
    3. Disconnect the service wire from connector C.


    NG
    OK
  8. CHECK NO. 2 FLOOR WIRE (SHORT)


    1. A005E68E01
      Text in Illustration
      *1 Side No. 2 Airbag Sensor Assembly RH
      *2 Side Airbag Sensor Assembly RH
      *3 No. 2 Floor Wire
      *a

      Front view of wire harness connector

      (to Side Airbag Sensor Assembly RH)

      Measure the resistance according to the value(s) in the table below.

      Standard Resistance
      Tester Connection Condition Specified Condition
      S8-1 (BCR+) - S8-2 (BCR-) Always 1 MΩ or higher

    NG
    OK
  9. CHECK NO. 2 FLOOR WIRE (SHORT TO B+)


    1. A005E68E01
      Text in Illustration
      *1 Side No. 2 Airbag Sensor Assembly RH
      *2 Side Airbag Sensor Assembly RH
      *3 No. 2 Floor Wire
      *a

      Front view of wire harness connector

      (to Side Airbag Sensor Assembly RH)

      Connect the cable to the negative (-) auxiliary battery terminal.

    2. Turn the power switch on (IG).

    3. Measure the voltage according to the value(s) in the table below.

      Standard Voltage
      Tester Connection Condition Specified Condition
      S8-1 (BCR+) - Body ground Power switch on (IG) Below 1 V
      S8-2 (BCR-) - Body ground Power switch on (IG) Below 1 V
    4. Turn the power switch off.

    5. Disconnect the cable from the negative (-) auxiliary battery terminal.

      CAUTION:

      Wait at least 90 seconds after disconnecting the cable from the negative (-) auxiliary battery terminal to disable the SRS system.


    NG
    OK
  10. CHECK NO. 2 FLOOR WIRE (SHORT TO GROUND)


    1. A005E68E01
      Text in Illustration
      *1 Side No. 2 Airbag Sensor Assembly RH
      *2 Side Airbag Sensor Assembly RH
      *3 No. 2 Floor Wire
      *a

      Front view of wire harness connector

      (to Side Airbag Sensor Assembly RH)

      Measure the resistance according to the value(s) in the table below.

      Standard Resistance
      Tester Connection Condition Specified Condition
      S8-1 (BCR+) - Body ground Always 1 MΩ or higher
      S8-2 (BCR-) - Body ground Always 1 MΩ or higher

    NG
    OK
  11. CHECK SIDE AIRBAG SENSOR ASSEMBLY RH


    1. A005BPJE01
      Text in Illustration
      *1 Side Airbag Sensor Assembly LH
      *2 Airbag ECU Assembly

      Connect the connectors to the side No. 2 airbag sensor assembly RH and airbag ECU assembly.

    2. Interchange the side airbag sensor assembly RH with LH and connect the connectors.

    3. Connect the cable to the negative (-) auxiliary battery terminal.

    4. Clear the DTCs stored in memory Click here.

    5. Turn the power switch off.

    6. Turn the power switch on (IG), and wait for at least 60 seconds.

    7. Check for DTCs Click here.

      Result
      Result Proceed to
      DTC B1642 or 81 is output. A
      DTC B1647 or 82 is output. B
      DTCs B1642, B1647, 81 and 82 are not output. C

      Tech Tips

      Codes other than DTCs B1642, B1647, 81 and 82 may be output at this time, but they are not related to this check.

    8. Turn the power switch off.

    9. Disconnect the cable from the negative (-) auxiliary battery terminal.

      CAUTION:

      Wait at least 90 seconds after disconnecting the cable from the negative (-) auxiliary battery terminal to disable the SRS system.

    10. Return the side airbag sensor assembly RH and LH to their original positions and connect the connectors.


    B
    C
    A
  12. CHECK SIDE NO. 2 AIRBAG SENSOR ASSEMBLY RH


    1. A005BBUE01
      Text in Illustration
      *1 Side No. 2 Airbag Sensor Assembly LH
      *2 Side Airbag Sensor Assembly RH

      Interchange the side No. 2 airbag sensor assembly RH with LH and connect the connectors.

    2. Connect the cable to the negative (-) auxiliary battery terminal.

    3. Clear the DTCs stored in memory Click here.

    4. Turn the power switch off.

    5. Turn the power switch on (IG), and wait for at least 60 seconds.

    6. Check for DTCs Click here.

      Result
      Result Proceed to
      DTCs B1642, B1647, 81 and 82 are not output. A
      DTC B1642 or 81 is output. B
      DTC B1647 or 82 is output. C

      Tech Tips

      Codes other than DTCs B1642, B1647, 81 and 82 may be output at this time, but they are not related to this check.

    7. Turn the power switch off.

    8. Disconnect the cable from the negative (-) auxiliary battery terminal.

      CAUTION:

      Wait at least 90 seconds after disconnecting the cable from the negative (-) auxiliary battery terminal to disable the SRS system.

    9. Return the side No. 2 airbag sensor assembly RH and LH to their original positions and connect the connectors.


    A
    B
    C
  13. CHECK HISTORY DTC


    1. Check for history DTCs Click here.

      Result
      Result Proceed to
      History DTC B1622 is not output. A
      History DTC B1622 is output. B

      Tech Tips

      Codes other than history DTC B1622 may be output at this time, but they are not related to this check.


    B
    A
  14. CHECK CONNECTORS


    1. Turn the power switch off.

    2. Disconnect the cable from the negative (-) auxiliary battery terminal.

      CAUTION:

      Wait at least 90 seconds after disconnecting the cable from the negative (-) auxiliary battery terminal to disable the SRS system.

    3. Check that the connectors are properly connected to the airbag ECU assembly and side airbag sensor assembly RH.

      OK
      The connectors are properly connected.

      Tech Tips

      If the connectors are not connected securely, reconnect the connectors and proceed to the next inspection.

    4. Disconnect the connectors from the airbag ECU assembly and side airbag sensor assembly RH.

    5. Check that the terminals of the connectors are not damaged.

      OK
      The terminals are not deformed or damaged.

    NG
    OK
  15. CHECK NO. 2 FLOOR WIRE (OPEN)


    1. A005BK7E02
      Text in Illustration
      *1 Side Airbag Sensor Assembly RH
      *2 Airbag ECU Assembly
      *3 No. 2 Floor Wire
      *4 Service Wire
      *a

      Front view of wire harness connector

      (to Airbag ECU Assembly)

      *b

      Front view of wire harness connector

      (to Side Airbag Sensor Assembly RH)

      Using a service wire, connect terminals 8 (BBR+) and 11 (BBR-) of connector B.

      Note

      Do not forcibly insert the service wire into the terminals of the connector when connecting the wire.

    2. Measure the resistance according to the value(s) in the table below.

      Standard Resistance
      Tester Connection Condition Specified Condition
      S8-4 (BBR+) - S8-3 (BBR-) Always Below 1 Ω
    3. Disconnect the service wire from connector B.


    NG
    OK
  16. CHECK NO. 2 FLOOR WIRE (SHORT)


    1. A005EOLE01
      Text in Illustration
      *1 Side Airbag Sensor Assembly RH
      *2 Airbag ECU Assembly
      *3 No. 2 Floor Wire
      *a

      Front view of wire harness connector

      (to Side Airbag Sensor Assembly RH)

      Measure the resistance according to the value(s) in the table below.

      Standard Resistance
      Tester Connection Condition Specified Condition
      S8-4 (BBR+) - S8-3 (BBR-) Always 1 MΩ or higher

    NG
    OK
  17. CHECK NO. 2 FLOOR WIRE (SHORT TO B+)


    1. A005EOLE01
      Text in Illustration
      *1 Side Airbag Sensor Assembly RH
      *2 Airbag ECU Assembly
      *3 No. 2 Floor Wire
      *a

      Front view of wire harness connector

      (to Side Airbag Sensor Assembly RH)

      Connect the cable to the negative (-) auxiliary battery terminal.

    2. Turn the power switch on (IG).

    3. Measure the voltage according to the value(s) in the table below.

      Standard Voltage
      Tester Connection Condition Specified Condition
      S8-4 (BBR+) - Body ground Power switch on (IG) Below 1 V
      S8-3 (BBR-) - Body ground Power switch on (IG) Below 1 V
    4. Turn the power switch off.

    5. Disconnect the cable from the negative (-) auxiliary battery terminal.

      CAUTION:

      Wait at least 90 seconds after disconnecting the cable from the negative (-) auxiliary battery terminal to disable the SRS system.


    NG
    OK
  18. CHECK NO. 2 FLOOR WIRE (SHORT TO GROUND)


    1. A005EOLE01
      Text in Illustration
      *1 Side Airbag Sensor Assembly RH
      *2 Airbag ECU Assembly
      *3 No. 2 Floor Wire
      *a

      Front view of wire harness connector

      (to Side Airbag Sensor Assembly RH)

      Measure the resistance according to the value(s) in the table below.

      Standard Resistance
      Tester Connection Condition Specified Condition
      S8-4 (BBR+) - Body ground Always 1 MΩ or higher
      S8-3 (BBR-) - Body ground Always 1 MΩ or higher

    NG
    OK
  19. CHECK SIDE AIRBAG SENSOR ASSEMBLY RH


    1. A005BPJE01
      Text in Illustration
      *1 Side Airbag Sensor Assembly LH
      *2 Airbag ECU Assembly

      Connect the connector to the airbag ECU assembly.

    2. Interchange the side airbag sensor assembly RH with LH and connect the connectors.

    3. Connect the cable to the negative (-) auxiliary battery terminal.

    4. Clear the DTCs stored in memory Click here.

    5. Turn the power switch off.

    6. Turn the power switch on (IG), and wait for at least 60 seconds.

    7. Check for DTCs Click here.

      Result
      Result Proceed to
      DTCs B1623 and B1628 are not output. A
      DTC B1623 is output. B
      DTC B1628 is output. C

      Tech Tips

      Codes other than DTCs B1623 and B1628 may be output at this time, but they are not related to this check.

    8. Turn the power switch off.

    9. Disconnect the cable from the negative (-) auxiliary battery terminal.

      CAUTION:

      Wait at least 90 seconds after disconnecting the cable from the negative (-) auxiliary battery terminal to disable the SRS system.

    10. Return the side airbag sensor assembly RH and LH to their original positions and connect the connectors.


    A
    B
    C
  20. CHECK CONNECTORS


    1. Turn the power switch off.

    2. Disconnect the cable from the negative (-) auxiliary battery terminal.

      CAUTION:

      Wait at least 90 seconds after disconnecting the cable from the negative (-) auxiliary battery terminal to disable the SRS system.

    3. Check that the connectors are properly connected to the side airbag sensor assembly RH and side No. 2 airbag sensor assembly RH.

      OK
      The connectors are properly connected.

      Tech Tips

      If the connectors are not connected securely, reconnect the connectors and proceed to the next inspection.

    4. Disconnect the connectors from the side airbag sensor assembly RH and side No. 2 airbag sensor assembly RH.

    5. Check that the terminals of the connectors are not damaged.

      OK
      The terminals are not deformed or damaged.

    NG
    OK
  21. CHECK NO. 2 FLOOR WIRE (OPEN)


    1. A005C0XE02
      Text in Illustration
      *1 Side No. 2 Airbag Sensor Assembly RH
      *2 Side Airbag Sensor Assembly RH
      *3 No. 2 Floor Wire
      *4 Service Wire
      *a

      Front view of wire harness connector

      (to Side Airbag Sensor Assembly RH)

      *b

      Front view of wire harness connector

      (to Side No. 2 Airbag Sensor Assembly RH)

      Using a service wire, connect terminals 2 (BCR+) and 1 (BCR-) of connector C.

      Note

      Do not forcibly insert the service wire into the terminals of the connector when connecting the wire.

    2. Measure the resistance according to the value(s) in the table below.

      Standard Resistance
      Tester Connection Condition Specified Condition
      S8-1 (BCR+) - S8-2 (BCR-) Always Below 1 Ω
    3. Disconnect the service wire from connector C.


    NG
    OK
  22. CHECK NO. 2 FLOOR WIRE (SHORT)


    1. A005E68E01
      Text in Illustration
      *1 Side No. 2 Airbag Sensor Assembly RH
      *2 Side Airbag Sensor Assembly RH
      *3 No. 2 Floor Wire
      *a

      Front view of wire harness connector

      (to Side Airbag Sensor Assembly RH)

      Measure the resistance according to the value(s) in the table below.

      Standard Resistance
      Tester Connection Condition Specified Condition
      S8-1 (BCR+) - S8-2 (BCR-) Always 1 MΩ or higher

    NG
    OK
  23. CHECK NO. 2 FLOOR WIRE (SHORT TO B+)


    1. A005E68E01
      Text in Illustration
      *1 Side No. 2 Airbag Sensor Assembly RH
      *2 Side Airbag Sensor Assembly RH
      *3 No. 2 Floor Wire
      *a

      Front view of wire harness connector

      (to Side Airbag Sensor Assembly RH)

      Connect the cable to the negative (-) auxiliary battery terminal.

    2. Turn the power switch on (IG).

    3. Measure the voltage according to the value(s) in the table below.

      Standard Voltage
      Tester Connection Condition Specified Condition
      S8-1 (BCR+) - Body ground Power switch on (IG) Below 1 V
      S8-2 (BCR-) - Body ground Power switch on (IG) Below 1 V
    4. Turn the power switch off.

    5. Disconnect the cable from the negative (-) auxiliary battery terminal.

      CAUTION:

      Wait at least 90 seconds after disconnecting the cable from the negative (-) auxiliary battery terminal to disable the SRS system.


    NG
    OK
  24. CHECK NO. 2 FLOOR WIRE (SHORT TO GROUND)


    1. A005E68E01
      Text in Illustration
      *1 Side No. 2 Airbag Sensor Assembly RH
      *2 Side Airbag Sensor Assembly RH
      *3 No. 2 Floor Wire
      *a

      Front view of wire harness connector

      (to Side Airbag Sensor Assembly RH)

      Measure the resistance according to the value(s) in the table below.

      Standard Resistance
      Tester Connection Condition Specified Condition
      S8-1 (BCR+) - Body ground Always 1 MΩ or higher
      S8-2 (BCR-) - Body ground Always 1 MΩ or higher

    NG
    OK
  25. CHECK SIDE AIRBAG SENSOR ASSEMBLY RH


    1. A005BPJE01
      Text in Illustration
      *1 Side Airbag Sensor Assembly LH
      *2 Airbag ECU Assembly

      Connect the connector to the side No. 2 airbag sensor assembly RH.

    2. Interchange the side airbag sensor assembly RH with LH and connect the connectors.

    3. Connect the cable to the negative (-) auxiliary battery terminal.

    4. Clear the DTCs stored in memory Click here.

    5. Turn the power switch off.

    6. Turn the power switch on (IG), and wait for at least 60 seconds.

    7. Check for DTCs Click here.

      Result
      Result Proceed to
      DTC B1632 or B1633 is output. A
      DTC B1637 or B1638 is output. B
      DTCs B1632, B1633, B1637 and B1638 are not output. C

      Tech Tips

      Codes other than DTCs B1632, B1633, B1637 and B1638 may be output at this time, but they are not related to this check.

    8. Turn the power switch off.

    9. Disconnect the cable from the negative (-) auxiliary battery terminal.

      CAUTION:

      Wait at least 90 seconds after disconnecting the cable from the negative (-) auxiliary battery terminal to disable the SRS system.

    10. Return the side airbag sensor assembly RH and LH to their original positions and connect the connectors.


    B
    C
    A
  26. CHECK SIDE NO. 2 AIRBAG SENSOR ASSEMBLY RH


    1. A005BBUE01
      Text in Illustration
      *1 Side No. 2 Airbag Sensor Assembly LH
      *2 Side Airbag Sensor Assembly RH

      Interchange the side No. 2 airbag sensor assembly RH with LH and connect the connectors.

    2. Connect the cable to the negative (-) auxiliary battery terminal.

    3. Clear the DTCs stored in memory Click here.

    4. Turn the power switch off.

    5. Turn the power switch on (IG), and wait for at least 60 seconds.

    6. Check for DTCs Click here.

      Result
      Result Proceed to
      DTCs B1632, B1633, B1637 and B1638 are not output. A
      DTC B1632 or B1633 is output. B
      DTC B1637 or B1638 is output. C

      Tech Tips

      Codes other than DTCs B1632, B1633, B1637 and B1638 may be output at this time, but they are not related to this check.

    7. Turn the power switch off.

    8. Disconnect the cable from the negative (-) auxiliary battery terminal.

      CAUTION:

      Wait at least 90 seconds after disconnecting the cable from the negative (-) auxiliary battery terminal to disable the SRS system.

    9. Return the side No. 2 airbag sensor assembly RH and LH to their original positions and connect the connectors.


    A
    B
    C
  27. CHECK SIDE AIRBAG SENSOR ASSEMBLY RH


    1. A005BPJE01
      Text in Illustration
      *1 Side Airbag Sensor Assembly LH
      *2 Airbag ECU Assembly

      Turn the power switch off.

    2. Disconnect the cable from the negative (-) auxiliary battery terminal.

      CAUTION:

      Wait at least 90 seconds after disconnecting the cable from the negative (-) auxiliary battery terminal to disable the SRS system.

    3. Interchange the side airbag sensor assembly RH with LH and connect the connectors.

    4. Connect the cable to the negative (-) auxiliary battery terminal.

    5. Clear the DTCs stored in memory Click here.

    6. Turn the power switch off.

    7. Turn the power switch on (IG), and wait for at least 60 seconds.

    8. Check for DTCs Click here.

      Result
      Result Proceed to
      DTCs B1622 and B1627 are not output. A
      DTC B1622 is output. B
      DTC B1627 is output. C

      Tech Tips

      Codes other than DTCs B1622 and B1627 may be output at this time, but they are not related to this check.

    9. Turn the power switch off.

    10. Disconnect the cable from the negative (-) auxiliary battery terminal.

      CAUTION:

      Wait at least 90 seconds after disconnecting the cable from the negative (-) auxiliary battery terminal to disable the SRS system.

    11. Return the side airbag sensor assembly RH and LH to their original positions and connect the connectors.


    A
    B
    C