СИСТЕМА ПОДУШЕК БЕЗОПАСНОСТИ SRS, диагностические DTC: B1925/78, B1926/78, B1927/78 и B1928/78

Код DTC Наименование DTC
B1925/78 Короткое замыкание в цепи пиропатрона левого заднего преднатяжителя
B1926/78 Обрыв в цепи пиропатрона левого заднего преднатяжителя
B1927/78 Короткое замыкание на GND в цепи пиропатрона левого заднего преднатяжителя
B1928/78 Короткое замыкание на B+ в цепи пиропатрона левого заднего преднатяжителя

ОПИСАНИЕ

Цепь пиропатрона левого заднего преднатяжителя включает ЭБУ системы SRS и ремень безопасности левого заднего сиденья № 1 с катушкой и преднатяжителем в сборе.

Центральный блок управления системы SRS использует эту цепь для приведения в действие преднатяжителя, когда выполняются условия развертывания.

Данные коды DTC регистрируются при обнаружении неисправности в цепи пиропатрона левого заднего преднатяжителя.

№ DTC

Неисправность

Условие обнаружения DTC

Неисправный участок

Режим диагностики / режим проверки

B1925/78

Короткое замыкание в цепи пиропатрона левого заднего преднатяжителя

  • Блок управления системы SRS обнаруживает короткое замыкание в цепи пиропатрона левого заднего преднатяжителя в ходе выполнения первичной проверки.

  • Неисправность пиропатрона левого заднего преднатяжителя

  • Неисправность блока управления системы SRS

  • Напольный провод № 2

  • Пиропатрон левого заднего преднатяжителя (ремень безопасности левого заднего сиденья № 1 с катушкой и преднатяжителем в сборе)

  • Блок управления системы SRS

Относится к режиму проверки

B1926/78

Обрыв в цепи пиропатрона левого заднего преднатяжителя

  • Центральный блок управления системы SRS обнаруживает сигнал обрыва в цепи пиропатрона левого заднего преднатяжителя.

  • Неисправность пиропатрона левого заднего преднатяжителя

  • Неисправность блока управления системы SRS

  • Напольный провод № 2

  • Пиропатрон левого заднего преднатяжителя (ремень безопасности левого заднего сиденья № 1 с катушкой и преднатяжителем в сборе)

  • Блок управления системы SRS

Относится к режиму проверки

B1927/78

Короткое замыкание на GND в цепи пиропатрона левого заднего преднатяжителя

  • Блок управления системы SRS обнаруживает короткое замыкание на массу в цепи пиропатрона левого заднего бокового преднатяжителя.

  • Неисправность пиропатрона левого заднего преднатяжителя

  • Неисправность блока управления системы SRS

  • Напольный провод № 2

  • Пиропатрон левого заднего преднатяжителя (ремень безопасности левого заднего сиденья № 1 с катушкой и преднатяжителем в сборе)

  • Блок управления системы SRS

Относится к режиму проверки

B1928/78

Короткое замыкание на B+ в цепи пиропатрона левого заднего преднатяжителя

  • Блок управления системы SRS обнаруживает короткое замыкание на B+ в цепи пиропатрона левого заднего преднатяжителя.

  • Неисправность пиропатрона левого заднего преднатяжителя

  • Неисправность блока управления системы SRS

  • Напольный провод № 2

  • Пиропатрон левого заднего преднатяжителя (ремень безопасности левого заднего сиденья № 1 с катушкой и преднатяжителем в сборе)

  • Блок управления системы SRS

Относится к режиму проверки

СХЕМА ЭЛЕКТРИЧЕСКИХ СОЕДИНЕНИЙ

C316539E44

ПРЕДОСТЕРЕЖЕНИЕ / ПРИМЕЧАНИЕ / УКАЗАНИЕ

Note:

После выключения зажигания следует подождать некоторое время, прежде чем отсоединять провод от отрицательного (-) вывода вспомогательной аккумуляторной батареи. Поэтому, прежде чем приступать к этой работе, обязательно ознакомьтесь с примечанием относительно отсоединения провода от отрицательного (-) вывода вспомогательной аккумуляторной батареи.

Нажмите здесьClick here

Tip:
  • Выполните проверку с имитацией условий возникновения неисправности, выбрав на GTS режим проверки (Signal Check).

    Нажмите здесьClick here

  • Выбрав режим проверки (Signal Check), выполните проверку с имитацией условий возникновения неисправности, пошевелив каждый разъем системы подушек безопасности или совершив поездку по городским дорогам или дорогам без покрытия

    Нажмите здесьClick here

ПОРЯДОК ВЫПОЛНЕНИЯ

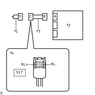
  1. ПРОВЕРЬТЕ РАЗЪЕМЫ

    1. C238350C01

      *1

      Левый задний ремень № 1 в сборе

      *2

      Центральный блок управления системы SRS

      *3

      Напольный провод № 2

      Выключите питание.

    2. Отсоедините провод от отрицательного (-) вывода вспомогательной аккумуляторной батареи.

      CAUTION:

      После отсоединения провода от отрицательного (-) вывода вспомогательной аккумуляторной батареи подождите не менее 90 с, чтобы предотвратить срабатывание системы SRS.

    3. Проверьте правильность подсоединения разъемов к ремню безопасности левого заднего сиденья № 1 с катушкой и преднатяжителем в сборе и ЭБУ системы SRS в сборе.

      OK

      Разъемы подсоединены должным образом.

      Tip:

      Если разъемы подсоединены ненадежно, подсоедините их и перейдите к следующей проверке.

    4. Отсоедините разъемы от ремня безопасности левого заднего сиденья № 1 с катушкой и преднатяжителем в сборе и ЭБУ системы SRS в сборе.

    5. Убедитесь, что контакты разъемов не деформированы и не повреждены.

      OK

      Контакты не деформированы и не повреждены.

    6. Убедитесь, что разъем напольного провода № 2 (со стороны ремня безопасности левого заднего сиденья № 1 с катушкой и преднатяжителем в сборе) не ослаблен, не деформирован и не поврежден.

      OK

      Кнопка блокировки разъема не освобождена либо защелка замка не деформирована и не повреждена.

    7. Убедитесь, что короткие пружины механизма предотвращения срабатывания в разъеме напольного провода № 2 не деформированы и не повреждены.

      OK

      Короткие пружины не деформированы и не повреждены.

    Result

    Перейти к

    OK

    НЕ СООТВ.

    НЕ СООТВ.

    ЗАМЕНИТЕ НАПОЛЬНЫЙ ПРОВОД № 2

    СООТВ
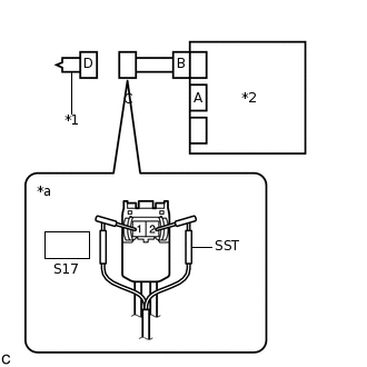
  2. ПРОВЕРЬТЕ ЛЕВЫЙ ЗАДНИЙ РЕМЕНЬ № 1 В СБОРЕ

    1. C238359C14

      *1

      Левый задний ремень № 1 в сборе

      *2

      Блок управления системы SRS

      *a

      Вид спереди разъема со стороны жгута проводов:

      (к левому заднему ремню безопасности с катушкой и преднатяжителем № 1 в сборе)

      Подсоедините разъем к блоку управления системы SRS.

    2. Подсоедините SST (сопротивление 2,1 Ом) к разъему С.

      CAUTION:

      Никогда не подключайте для измерения портативный диагностический прибор к левому заднему ремню безопасности с катушкой и преднатяжителем № 1 в сборе, так как это может привести к серьезной травме вследствие срабатывания преднатяжителя.

      Note:
      • При подсоединении не следует вставлять SST в контакты разъема с усилием.

      • Вставляйте SST в контакты разъема по прямой.

    3. Подсоедините провод к отрицательному (-) выводу вспомогательной аккумуляторной батареи.

    4. Удалите коды DTC, сохраненные в памяти.

      Нажмите здесьClick here

      Body Electrical > SRS Airbag > Clear DTCs

    5. Выключите питание.

    6. Включите питание (IG) и подождите не менее 60 с.

    7. Проверьте наличие кодов DTC.

      Нажмите здесьClick here

      Body Electrical > SRS Airbag > Trouble Codes

      OK

      Код DTC B1925/78, B1926/78, B1927/78 или B1928/78 не выводится.

      Tip:

      На этом этапе могут выводиться коды, отличные от кодов DTC B1925/78, B1926/78, B1927/78 и B1928/78, однако они не связаны с данной проверкой.

    8. Выключите зажигание.

    9. Отсоедините провод от отрицательного (-) вывода вспомогательной аккумуляторной батареи.

      CAUTION:

      После отсоединения провода от отрицательного (-) вывода вспомогательной аккумуляторной батареи подождите не менее 90 с, чтобы предотвратить срабатывание системы SRS.

    10. Отсоедините SST от разъема С.

    09843-18061

    Результат

    Перейти к

    OK

    НЕ СООТВ.

    OK

    ЗАМЕНИТЕ ЛЕВЫЙ ЗАДНИЙ РЕМЕНЬ БЕЗОПАСНОСТИ № 1 С КАТУШКОЙ И ПРЕДНАТЯЖИТЕЛЕМ В СБОРЕ

    Для моделей без заднего сиденья № 2: Нажмите здесьClick here

    Для моделей с задним сиденьем № 2: Нажмите здесьClick here

    НЕ СООТВ.
  3. ПРОВЕРЬТЕ НАПОЛЬНЫЙ ПРОВОД № 2

    1. C238360C14

      *1

      Левый задний ремень № 1 в сборе

      *2

      Центральный блок управления системы SRS

      *3

      Напольный провод № 2

      *a

      Вид спереди разъема со стороны жгута проводов:

      (к левому заднему ремню безопасности с катушкой и преднатяжителем № 1 в сборе)

      Отсоедините напольный провод № 2 от центрального блока управления системы SRS.

    2. Проверьте, нет ли в цепи короткого замыкания на B+.

      1. Подсоедините провод к отрицательному (-) выводу вспомогательной аккумуляторной батареи.

      2. Включите питание (IG).

      3. Измерьте напряжение в соответствии со значениями, приведенными в таблице.

        Номинальное напряжение

        Подключение диагностического прибора

        Условие

        Заданные условия

        S17-1 (RL+) - масса

        Питание включено (IG)

        Менее 1 В

        S17-2 (RL-) - масса

        Питание включено (IG)

        Менее 1 В

      4. Выключите питание.

      5. Отсоедините провод от отрицательного (-) вывода вспомогательной аккумуляторной батареи.

        CAUTION:

        После отсоединения провода от отрицательного (-) вывода вспомогательной аккумуляторной батареи подождите не менее 90 с, чтобы предотвратить срабатывание системы SRS.

    3. Проверьте, нет ли в цепи обрыва.

      1. Измерьте сопротивление в соответствии со значениями, приведенными в таблице ниже.

        Номинальное сопротивление

        Подключение диагностического прибора

        Условие

        Заданные условия

        S17-1 (RL+) - S17-2 (RL-)

        Всегда

        Менее 1 Ом

    4. Проверьте, нет ли в цепи короткого замыкания на массу.

      1. Измерьте сопротивление в соответствии со значениями, приведенными в таблице.

        Номинальное сопротивление

        Подключение диагностического прибора

        Условие

        Заданные условия

        S17-1 (RL+) - масса

        Всегда

        1 МОм или более

        S17-2 (RL-) - масса

        Всегда

        1 МОм или более

    5. Проверьте, нет ли в цепи короткого замыкания.

      1. Разомкните механизм предотвращения срабатывания, встроенный в разъем B.

        Нажмите здесьClick here

      2. Измерьте сопротивление в соответствии со значениями, приведенными в таблице ниже.

        Номинальное сопротивление

        Подключение диагностического прибора

        Условие

        Заданные условия

        S17-1 (RL+) - S17-2 (RL-)

        Всегда

        1 МОм или более

      3. Верните механизм предотвращения срабатывания разъема B в исходное состояние.

    Result

    Перейти к

    OK

    НЕ СООТВ.

    НЕ СООТВ.

    ЗАМЕНИТЕ НАПОЛЬНЫЙ ПРОВОД № 2

    СООТВ
  4. ПРОВЕРЬТЕ DTC

    1. C238353C17

      *1

      Левый задний ремень № 1 в сборе

      *2

      Центральный блок управления системы SRS

      Подсоедините разъемы к левому заднему ремню безопасности с катушкой и преднатяжителем № 1 в сборе и блок управления системы SRS.

    2. Подсоедините провод к отрицательному (-) выводу вспомогательной аккумуляторной батареи.

    3. Удалите коды DTC, сохраненные в памяти.

      Нажмите здесьClick here

      Body Electrical > SRS Airbag > Clear DTCs

    4. Выключите питание.

    5. Включите питание (IG) и подождите не менее 60 с.

    6. Проверьте наличие кодов DTC.

      Нажмите здесьClick here

      Body Electrical > SRS Airbag > Trouble Codes

      OK

      Код DTC B1925/78, B1926/78, B1927/78 или B1928/78 не выводится.

      Tip:

      На этом этапе могут выводиться коды, отличные от кодов DTC B1925/78, B1926/78, B1927/78 и B1928/78, однако они не связаны с данной проверкой.

    Result

    Перейти к

    OK

    НЕ СООТВ.

    OK

    ВЫПОЛНИТЕ ПРОВЕРКУ С ИМИТАЦИЕЙ УСЛОВИЙ ВОЗНИКНОВЕНИЯ НЕИСПРАВНОСТИ

    Нажмите здесьClick here

    NG

    ЗАМЕНИТЕ ЦЕНТРАЛЬНЫЙ БЛОК УПРАВЛЕНИЯ СИСТЕМЫ SRS

    Нажмите здесьClick here