ENGINE UNIT


  1. CONSTRUCTION


    1. An aluminum cylinder block with a 7 mm (0.276 in.) distance between the cylinder bores is used to achieve a compact and lightweight configuration.

    2. An oil separator is provided in the blowby gas passage inside the cylinder block. This separates the engine oil from the blowby gas in order to reduce the degradation and consumption of volume of the engine oil.

    3. It is not possible to bore the block with this liner. The liners are the spiny type, which have been manufactured so that their casting exteriors form a large irregular surface in order to enhance the adhesion between the liners and the aluminum cylinder block. The enhanced adhesion helps heat dissipation, resulting in a lower overall temperature and reduced heat deformation of the cylinder bores.

      A01GG8QC01
      *1 Cylinder Block *2 Oil Separator
      *3 Oil Separator Cover - -
      *a Spiny-type Liner (Irregularly Shaped Outer Casting Surface of Liner) - -
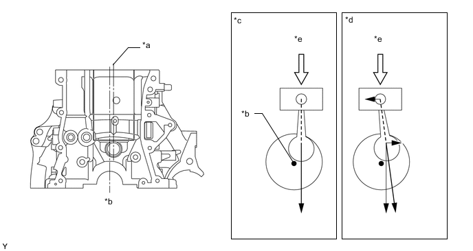
    4. Through the use of the offset crankshaft, the bore center is shifted 8 mm (0.315 in.) towards the intake, in relation to the crankshaft center. Thus, the side force to cylinder wall is reduced when the maximum pressure is applied, which contributes to fuel economy.

      A01GGPLC01
      *a Bore Center *b Crankshaft Center
      *c Offset Crankshaft *d Center Crankshaft
      *e Maximum Pressure - -