AIR CONDITIONING SYSTEM, Diagnostic DTC:B1498/98

DTC Code DTC Name
B1498/98 Communication Malfunction (A/C Inverter Local)

DESCRIPTION

The power management control ECU and compressor with motor assembly transmit information to one another via a communication line. Compressor control is stopped and this DTC is stored if communication information is cut off or abnormal information occurs.

This DTC is also detected if high-voltage power supplied from the inverter with converter assembly to the compressor control circuit is shut off.

The output DTC is memorized as a history DTC.

DTC No. DTC Detection Condition Trouble Area
B1498/98
  • Communication line error or open between the power management control ECU and compressor with motor assembly.


  • High-voltage power source is shut off.


  • Harness or connector between power management control ECU, compressor with motor assembly and body ground

  • Power management control ECU

  • Compressor with motor assembly

  • No. 2 engine wire (harness or connector between compressor with motor assembly and inverter with converter assembly)

  • Electric vehicle fuse

  • CAN communication system

  • Hybrid control system

WIRING DIAGRAM

A005A91E05

CAUTION / NOTICE / HINT

CAUTION:


  • Wear insulated gloves and pull out the service plug grip before inspection as procedures may require disconnecting high-voltage connectors. Carry the removed service plug in your pocket to prevent other technicians from accidentally reconnecting it while you are servicing the vehicle.

  • Do not touch the high-voltage connectors or terminals for 10 minutes after the service plug grip is removed.

Note


  • After turning the power switch off, waiting time may be required before disconnecting the cable from the negative (-) auxiliary battery terminal. Therefore, make sure to read the disconnecting the cable from the negative (-) auxiliary battery terminal notices before proceeding with work Click here.

  • The hybrid control system and air conditioning system output DTCs separately. Inspect DTCs following the flow chart for the hybrid control system first if any DTCs from those systems are output simultaneously.

  • Depending on the timing of the power supply to the 12 V power supply circuit and high-voltage circuit when the power switch is turned on (READY), an abnormal information signal may be output, causing this DTC to be stored. If the output DTC is a code that was memorized in the past, check the fuses and wire harnesses. If there is no malfunction, clear the DTC.

  • Inspect the fuses for circuits related to this system before performing the following inspection procedure.

PROCEDURE


  1. CHECK CAN COMMUNICATION SYSTEM


    1. Use the GTS to check if the CAN communication system is functioning normally.

      Result
      Result Proceed to
      CAN DTC is not output A
      CAN DTC is output B

    B
    A
  2. CHECK DIAGNOSTIC TROUBLE CODE


    1. Check if DTCs for the hybrid control system are output using the GTS.

      Result
      Result Proceed to
      DTC for hybrid control system is not output A
      DTC P3108 is output A
      DTCs for hybrid control system other than P3108 are output B

    B
    A
  3. CHECK HARNESS AND CONNECTOR (COMPRESSOR WITH MOTOR ASSEMBLY - BODY GROUND)

    CAUTION:

    Do not disconnect the connector on the high-voltage side.


    1. Disconnect the D12 compressor with motor assembly connector.

    2. Measure the resistance according to the value(s) in the table below.

      Standard Resistance
      Tester Connection Condition Specified Condition
      D12-5 (GND) - Body ground Always Below 1 Ω

    NG
    OK
  4. CHECK HARNESS AND CONNECTOR (COMPRESSOR WITH MOTOR ASSEMBLY - AUXILIARY BATTERY, GROUND)


    1. Turn the power switch on (IG).

    2. Measure the voltage according to the value(s) in the table below.

      Standard Voltage
      Tester Connection Condition Specified Condition
      D12-6 (IG1) - D12-5 (GND) Power switch on (IG) 11 to 14 V
      D12-6 (IG1) - D12-5 (GND) Power switch off Below 1 V

    NG
    OK
  5. CHECK HARNESS AND CONNECTOR (POWER MANAGEMENT CONTROL ECU - COMPRESSOR WITH MOTOR ASSEMBLY)


    1. Disconnect the A21 power management control ECU connector.

    2. Measure the resistance according to the value(s) in the table below.

      Standard Resistance
      Tester Connection Condition Specified Condition
      D12-1 (CLK) - A21-19 (CLK) Always Below 1 Ω
      D12-2 (DIN) - A21-31 (ITE) Always Below 1 Ω
      D12-3 (DOUT) - A21-30 (ETI) Always Below 1 Ω
      D12-1 (CLK) - Body ground Always 10 kΩ or higher
      D12-2 (DIN) - Body ground Always 10 kΩ or higher
      D12-3 (DOUT) - Body ground Always 10 kΩ or higher

    NG
    OK
  6. INSPECT ELECTRIC VEHICLE FUSE

    CAUTION:

    Be sure to wear insulated gloves.


    1. Turn the power switch off.

    2. Remove the service plug grip Click here.

      CAUTION:

      Do not touch the high-voltage connectors or terminals for 10 minutes after the service plug grip is removed.

      Note

      After removing the service plug grip, turning the power switch on (READY) may cause a malfunction. Do not turn the power switch on (READY) with the service plug grip removed.

    3. Remove the inverter terminal cover Click here.

      Note

      Be sure to prevent foreign objects or water from entering the inverter with converter assembly.

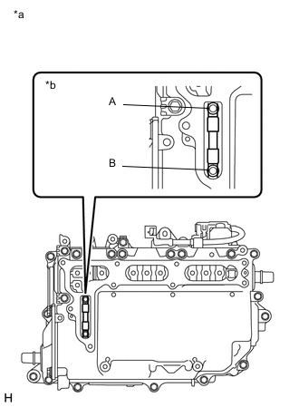
    4. A005EZ8E10
      Text in Illustration
      *a Inverter with Converter Assembly
      *b Electric Vehicle Fuse

      Check that bolts A and B are tightened securely.

    5. Measure the resistance according to the value(s) in the table below.

      Standard Resistance

      Tester Item

      (Tester Connection)

      Condition Specified Condition

      Electric vehicle fuse

      (A - B)

      Always Below 1 Ω

    NG
    OK
  7. INSPECT NO. 2 ENGINE WIRE

    CAUTION:

    Be sure to wear insulated gloves.


    1. Disconnect the No. 2 engine wire connector.

    2. Measure the resistance according to the value(s) in the table below.

      Standard Resistance
      Tester Connection Condition Specified Condition
      E1-1 (PE) - E3-2 (ACPE) Always Below 1 Ω
      E1-2 (PB) - E3-1 (ACPB) Always Below 1 Ω
      E1-1 (PE) - Body ground Always 10 kΩ or higher
      E1-2 (PB) - Body ground Always 10 kΩ or higher

    NG
    OK
  8. REPLACE COMPRESSOR WITH MOTOR ASSEMBLY


    1. Replace the compressor with motor assembly Click here.

      Tech Tips

      Since the compressor with motor assembly cannot be inspected while it is removed from the vehicle, replace the compressor with motor assembly with a new or known good one and check that the condition returns to normal.

    2. Check for the DTC.

      Result
      Result Proceed to
      DTC B1498/98 is not output A
      DTC B1498/98 is output B

    A
    B