FRONT AIRBAG SENSOR REMOVAL

CAUTION / NOTICE / HINT

Tip:
  • Use the same procedure for the RH and LH sides.

  • The procedure listed below is for the LH side.

PROCEDURE

  1. REMOVE DECK BOARD ASSEMBLY

  2. REMOVE BATTERY SERVICE COVER

  3. PRECAUTION

    Note:

    After turning the power switch off, waiting time may be required before disconnecting the cable from the auxiliary battery negative (-) terminal. Therefore, make sure to read the disconnecting the cable from the auxiliary battery negative (-) terminal notice before proceeding with work.

    Click hereClick hereClick hereClick here

  4. DISCONNECT CABLE FROM AUXILIARY BATTERY NEGATIVE TERMINAL

    CAUTION:

    Wait at least 90 seconds after disconnecting the cable from the auxiliary battery negative (-) terminal to disable the SRS system.

    Note:

    When disconnecting the cable, some systems need to be initialized after the cable is reconnected.

    Click hereClick hereClick here

  5. REMOVE FRONT AIRBAG SENSOR LH

    1. Check that the power switch is off.

    2. Check that the cable is disconnected from the auxiliary battery negative (-) terminal.

      CAUTION:

      Wait at least 90 seconds after disconnecting the cable from the auxiliary battery negative (-) terminal to disable the SRS system.

    3. Disconnect the connector from the front airbag sensor.

      Note:

      When disconnecting any airbag connector, take care not to damage the airbag wire harness.

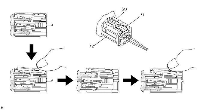
      1. Push the housing lock and slide the outer housing. (At this time, the connector cannot be disconnected yet.)

        B340847C01

        *1

        Housing Lock

        *2

        Outer Housing

      2. Push the housing lock again and disconnect the connector.

        Note:

        Do not push the connector housing part (A) when disconnecting the sensor connector.

      3. After disconnecting the connector, check that the position of the housing lock is correct as shown in the illustration.

        B340848C01

        *a

        Incorrect

        *b

        Correct

    4. B339276

      Remove the bolt and front airbag sensor LH.

      Note:

      Loosen the bolt while holding the front airbag sensor because the front airbag sensor pin (stopper) is easily damaged.