VEHICLE STABILITY CONTROL SYSTEM, Diagnostic DTC:C1234,C1472 and C1474

DTC Code DTC Name
C1234 Yaw Rate Sensor
C1472 Acceleration Sensor
C1474 Forward and Rearward G Sensor

DESCRIPTION

The skid control ECU (brake actuator assembly) receives signals from the yaw rate and acceleration sensor (airbag sensor assembly) via CAN communication.

Tip:

If there is a malfunction in the bus lines between the yaw rate and acceleration sensor (airbag sensor assembly) and the CAN communication system, DTC U0123 (Lost Communication with Yaw Rate Sensor Module) is output. When U0123 is output together with C1234, C1472 and/or C1474, inspect and repair the trouble areas indicated by U0123 first.

These DTCs may be stored if one of the following occurs:

  • Yaw rate and acceleration sensor circuit malfunction.

  • Yaw rate and acceleration sensor (airbag sensor assembly) installation abnormality.

  • Yaw rate and acceleration sensor signal malfunction.

DTC No.

Detection Item

DTC Detection Condition

Trouble Area

Note

C1234

Yaw Rate Sensor

Any of the following is detected:

  1. The yaw rate sensor offset value is estimated as less than -5.25 deg/s or more than 5.25 deg/s based on offset correction performed when the vehicle is stopped and then the vehicle starts off.

  2. The offset correction did not complete with the vehicle stopped, and the yaw rate sensor offset value is estimated as less than -15 deg/s or more than 15 deg/s based on the offset correction performed while the vehicle is being driven.

  3. The offset correction completed with the vehicle stopped and the yaw rate sensor offset value is less than -7.5 deg/s or more than 7.5 deg/s.

  4. The yaw rate sensor offset value is estimated as less than -7.5 deg/s or more than 7.5 deg/s based on the offset correction performed while the vehicle is being driven.

  5. After the VSC system has started, but before the vehicle starts off, the yaw rate sensor value is less than -30 deg/s or more than 30 deg/s for 5 seconds or more when the vehicle is stopped.

  6. After the VSC system has started, but before the vehicle starts off, the yaw rate sensor value is less than -30 deg/s or more than 30 deg/s for 0.5 seconds or more when the vehicle starts off.

  7. After the VSC system has started, but before the vehicle has started off, as the vehicle starts off, the yaw rate sensor value is less than -30 deg/s or more than 30 deg/s for 0.5 seconds or more.

  8. The yaw rate sensor value is less than -94.75 deg/s or more than 94.75 deg/s for 0.8 seconds or more.

  9. The change of the yaw rate sensor value within 0.04 seconds is abnormal.

  10. The value from the yaw rate sensor is judged as abnormal based on the skid control ECU (brake actuator assembly) estimation.

  • Sensor installation

  • Yaw rate sensor (airbag sensor assembly)

  • Yaw rate sensor circuit

Tire pressure warning light (w/ tire pressure warning system) blinks for 63 seconds and then remains on.

C1472

Acceleration Sensor

Any of the following is detected:

  1. With the vehicle stopped, the internal acceleration value is less than -7 m/s2 or more than 7 m/s2 for 0.4 seconds or more.

  2. The acceleration sensor offset value is estimated as less than -2.25 m/s2 or more than 2.25 m/s2 based on the offset correction performed while the vehicle is being driven.

  3. The acceleration sensor value is less than -14.6 m/s2 or more than 14.6 m/s2 for 0.8 seconds or more.

  • Sensor installation

  • Acceleration sensor (airbag sensor assembly)

  • Acceleration sensor circuit

Tire pressure warning light (w/ tire pressure warning system) blinks for 63 seconds and then remains on.

C1474

Forward and Rearward G Sensor

Any of the following is detected:

  1. The acceleration sensor offset value is estimated as less than -2.25 m/s2 or more than 2.25 m/s2 based on the offset correction performed while the vehicle is being driven.

  2. The acceleration sensor value is less than -14.6 m/s2 or more than 14.6 m/s2 for 3 seconds or more.

  • Sensor installation

  • Acceleration sensor (airbag sensor assembly)

  • Acceleration sensor circuit

Tire pressure warning light (w/ tire pressure warning system) blinks for 63 seconds and then remains on.

WIRING DIAGRAM

C304732E01

CAUTION / NOTICE / HINT

Note:
  • When replacing the yaw rate and acceleration sensor (airbag sensor assembly), perform acceleration sensor zero point calibration.

    Click hereClick here

  • Inspect the fuses for circuits related to this system before performing the following procedure.

Tip:

When U0123 and/or U0126 is output together with C1234, C1472 and/or C1474, inspect and repair the trouble areas indicated by U0123 and/or U0126 first.

Click hereClick here

PROCEDURE

  1. CHECK DTC

    1. Clear the DTCs.

      Click hereClick here

      Chassis > ABS/VSC/TRC > Clear DTCs

    2. Turn the ignition switch off.

    3. Start the engine.

    4. At a speed of 30 km/h (18 mph) or more, drive the vehicle, turn the steering wheel, and decelerate (depress the brake pedal) the vehicle.

    5. Turn the ignition switch off.

    6. Turn the ignition switch to ON again and check that no CAN communication system DTCs are output.

      Click hereClick hereClick here

    Result

    Result

    Proceed to

    CAN communication system DTCs are not output.

    A

    CAN communication system DTCs are output.

    B

    B

    INSPECT CAN COMMUNICATION SYSTEM

    A
  2. CHECK AIRBAG SENSOR ASSEMBLY INSTALLATION

    1. Turn the ignition switch off.

    2. Check that the yaw rate and acceleration sensor (airbag sensor assembly) has been installed properly.

      Click here

      OK

      The airbag sensor assembly is tightened to the specified torque.

      The airbag sensor assembly is not tilted.

    Result

    Proceed to

    OK

    NG

    NG

    INSTALL AIRBAG SENSOR ASSEMBLY CORRECTLY

    OK
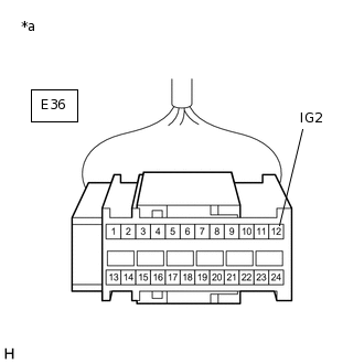
  3. CHECK HARNESS AND CONNECTOR (POWER SOURCE TERMINAL)

    1. C303815C01

      *a

      Front view of wire harness connector

      (to Yaw Rate and Acceleration Sensor (Airbag Sensor Assembly))

      Make sure that there is no looseness at the locking part and the connecting part of the connector.

    2. Disconnect the E36 yaw rate and acceleration sensor (airbag sensor assembly) connector.

    3. Turn the ignition switch to ON.

    4. Measure the voltage according to the value(s) in the table below.

      Standard Voltage

      Tester Connection

      Condition

      Specified Condition

      E36-12 (IG2) - Body ground

      Ignition switch ON

      11 to 14 V

    Result

    Proceed to

    OK

    NG

    NG

    REPAIR OR REPLACE HARNESS OR CONNECTOR (POWER SOURCE CIRCUIT)

    OK
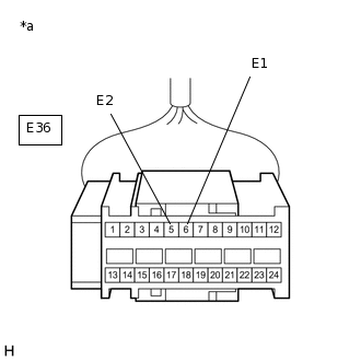
  4. CHECK HARNESS AND CONNECTOR (GROUND TERMINAL)

    1. C303815C02

      *a

      Front view of wire harness connector

      (to Yaw Rate and Acceleration Sensor (Airbag Sensor Assembly))

      Turn the ignition switch off.

    2. Measure the resistance according to the value(s) in the table below.

      Standard Resistance

      Tester Connection

      Condition

      Specified Condition

      E36-5 (E2) - Body ground

      Always

      Below 1 Ω

      E36-6 (E1) - Body ground

      Always

      Below 1 Ω

      Tip:

      If troubleshooting has been carried out according to Problem Symptoms Table, refer back to the table and proceed to the next step before replacing parts.

      Click hereClick here

    Result

    Proceed to

    OK

    NG

    OK

    REPLACE AIRBAG SENSOR ASSEMBLY

    NG

    REPAIR OR REPLACE HARNESS OR CONNECTOR (GROUND CIRCUIT)