CLUTCH STROKE SENSOR(for EC65A) INSTALLATION

PROCEDURE

  1. INSTALL CLUTCH STROKE SENSOR

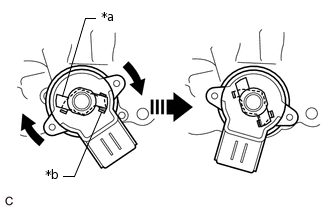
    1. C274887C01

      *a

      Sensor Arm (Clutch Stroke Sensor Side)

      *b

      Sensor Arm (Clutch Actuator Assembly Side)

      Apply MP grease to a new O-ring.

    2. Install the new O-ring to the clutch stroke sensor.

    3. Set the clutch stroke sensor so that the clutch stroke sensor side and the clutch actuator assembly side arms are in the positions shown in the illustration.

    4. Turn the clutch stroke sensor clockwise and install it with the 2 screws.

      1.96 N*m

      20 kgf*cm

      17 in.*lbf

    5. Connect the connector to the clutch stroke sensor.

  2. INSTALL NO. 1 ENGINE UNDER COVER (for Half Cover Type)

  3. INSTALL NO. 1 ENGINE UNDER COVER (for Full Cover Type)

  4. PERFORM INITIALIZATION OF MULTI-MODE MANUAL TRANSMISSION SYSTEM

  5. PERFORM LEARNING OF MULTI-MODE MANUAL TRANSMISSION SYSTEM