ENTRY AND START SYSTEM(for Entry Function) Room Oscillator does not Recognize Key

DESCRIPTION

If code verification cannot be performed in the vehicle interior, there may be problems with the communication between the vehicle (indoor electrical key antenna assembly (front floor), (rear floor) or (inside luggage)) and electrical key transmitter sub-assembly, or the certification ECU (smart key ECU assembly) may be malfunctioning. When the electrical key transmitter sub-assembly is brought into the vehicle, verification of the key ID code transmitted from the electrical key transmitter sub-assembly and the key ID code stored in the certification ECU (smart key ECU assembly) is performed. If verification cannot be performed or the codes do not match, the power switch cannot be turned on (IG) and the hybrid system cannot be started.

When a door is unlocked and the electrical key transmitter sub-assembly is brought into the vehicle, the certification ECU (smart key ECU assembly) activates the indoor electrical key antenna assembly which transmits radio waves to detect the electrical key transmitter sub-assembly. If the electrical key transmitter sub-assembly recognizes that it is in the detection area, it responds with the key ID code. This information is received by the indoor electrical key antenna and then sent to the certification ECU (smart key ECU assembly).

WIRING DIAGRAM

B005YCIE29
*a No. 1 Indoor Electrical Key Antenna Assembly (Front Floor)
*b No. 3 Indoor Electrical Key Antenna Assembly (Rear Floor)
*c No. 2 Indoor Electrical Key Antenna Assembly (Inside Luggage)
*d Certification ECU (Smart Key ECU Assembly)

CAUTION / NOTICE / HINT

Note


  • The entry and start system (for Entry Function) uses a multiplex communication system (LIN communication system) and the CAN communication system. Inspect the communication function by following How to Proceed with Troubleshooting Click here. Troubleshoot the entry and start system (for Entry Function) after confirming that the communication systems are functioning properly.

  • When using the GTS with the power switch off, connect the GTS to the DLC3 and turn a courtesy light switch on and off at intervals of 1.5 seconds or less until communication between the GTS and the vehicle begins. Then select Model Code "KEY REGIST" under manual mode and enter the following menus: Body Electrical / Entry&Start (CAN). While using the GTS, periodically turn a courtesy light switch on and off at intervals of 1.5 seconds or less to maintain communication between the GTS and the vehicle.

  • Before replacing the certification ECU (smart key ECU assembly), refer to the entry and start system (for Entry Function) precaution Click here.

  • After repair, confirm that no DTCs are output by performing the "DTC Output Confirmation Operation".

  • The indoor electrical key antenna assemblies have an antenna coil between each two CLG terminals.

  • The door control receiver is also related to interior verification.

PROCEDURE


  1. CHECK ENTRY DOOR LOCK OPERATION


    1. Check that the entry lock and unlock functions operate for each door Click here.

      OK
      All door entry lock and unlock functions operate normally.

      Tech Tips

      If the door control receiver is defective, code verification does not begin in the cabin and the entry functions do not operate.


    NG
    OK
  2. CHECK PUSH START FUNCTION


    1. B005Y2PE06
      Text in Illustration
      *1 Power Switch
      *2 Electrical Key Transmitter Sub-assembly

      Remove the transmitter battery of the electrical key transmitter sub-assembly Click here.

    2. With the brake pedal depressed, face the logo side of the electrical transmitter sub-assembly towards the power switch, hold the transmitter near the power switch and then press the power switch.

    3. When operating the power switch, check whether the hybrid system starts.

      Tech Tips


      • When the electrical key transmitter sub-assembly cannot be verified even though it is inside the detection area, the hybrid system start check can be performed by removing the transmitter battery from the electrical key transmitter sub-assembly and holding the electrical key transmitter sub-assembly near the power switch.

      • If the hybrid system cannot be started when performing this inspection, the certification ECU (smart key ECU assembly), transmission control ECU assembly or ID code box (immobiliser code ECU) may be malfunctioning.

      OK
      Hybrid system starts.

    NG
    OK
  3. CHECK WAVE ENVIRONMENT


    1. Install the transmitter battery to the electrical key transmitter sub-assembly Click here.

    2. Bring the electrical key transmitter sub-assembly near the No. 1 indoor electrical key antenna assembly (front floor) and perform a entry and start system check Click here.

      Note

      Communication may not be possible if the electrical key transmitter sub-assembly is within 0.2 m (0.656 ft.) of the No. 1 indoor electrical key antenna assembly (front floor).

    3. Bring the electrical key transmitter sub-assembly near the No. 3 indoor electrical key antenna assembly (rear floor) and perform a entry and start system check Click here

      Tech Tips

      Check that the customize status of the "Ignition Available Area" has been "All".

      Note

      Communication may not be possible if the electrical key transmitter sub-assembly is within 0.2 m (0.656 ft.) of the No. 3 indoor electrical key antenna assembly (rear floor).

    4. Bring the electrical key transmitter sub-assembly near the No. 2 indoor electrical key antenna assembly (inside luggage) and perform a entry and start system check Click here

      Tech Tips

      Check that the customize status of the "Ignition Available Area" has been "All".

      Note

      Communication may not be possible if the electrical key transmitter sub-assembly is within 0.2 m (0.656 ft.) of the No. 2 indoor electrical key antenna assembly (inside luggage).

      Tech Tips


      • As the effect of wave interference decreases by moving the electrical key transmitter sub-assembly close to the each indoor electrical key antenna assembly, it may be possible to check whether wave interference is the cause of the problem.

      • If the problem only occurs in specific places or at specific times, wave interference may be the cause of the problem. Also, the vehicle may be have the effects of wave interference with the parts installed by the dealer. As a result, when parts have been installed by the dealer, it may be necessary to remove those parts before inspecting the vehicle.

      • There may be wave interference if the vehicle is near broadcasting antennas, large video displays, wireless garage door opener systems, wireless security cameras, home security systems, etc. In this case, move the vehicle to a different location and check if there is any improvement.

      • If a tool for checking electric waves, such as a signal strength meter, is available, move around the area while observing both the LF band (used by the vehicle antenna to form the detection area) and RF band (used by the electrical key transmitter sub-assembly for transmission) to check for locations where there is wave interference.

      Result
      Result Proceed to
      System cannot be operated A
      System can be operated B

    B
    A
  4. CHECK KEY DIAGNOSTIC MODE


    1. Check the following antennas in the key diagnostic mode Click here.

      Tech Tips

      If the buzzer sounds with [CH1] displayed but not with [CH2], the electrical key transmitter cannot be detected by channel 2 due to a malfunction, such as wave interference.


      1. B005Y1AE01
        Text in Illustration
        *a Inspection Point

        Check the No. 1 indoor electrical key antenna assembly (front floor).

        When the electrical key transmitter sub-assembly is at the inspection point, check that the wireless door lock buzzer sounds.

      2. B005XTDE01
        Text in Illustration
        *a Inspection Point

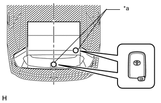
        Check the No. 3 indoor electrical key antenna (rear floor):

        When the electrical key transmitter sub-assembly is at the inspection point, check that the wireless door lock buzzer sounds.

      3. B005Z03E01
        Text in Illustration
        *a Inspection Point

        Check the No. 2 indoor electrical key antenna assembly (inside luggage).

        When the electrical key transmitter sub-assembly is at the inspection point, check that the wireless door lock buzzer sounds.

        Tech Tips


        • If the buzzer sounds, it can be determined that the vehicle interior transmitters are operating normally.

        • It is possible to check which indoor electrical key antenna assembly (front floor, rear floor or inside luggage) is operating by the sounding of the buzzer.

        • If the buzzer does not sound for any indoor electrical key antenna assemblies, the certification ECU (smart key ECU assembly) circuit may have a malfunction.

        OK
        Wireless door lock buzzer sounds.
        Result
        Result Proceed to
        Front floor operation check fails A
        Rear floor operation check fails B
        Inside luggage operation check fails C
        All operation checks are normal D

    B
    C
    D
    A
  5. CHECK HARNESS AND CONNECTOR (NO. 1 INDOOR ELECTRICAL KEY ANTENNA ASSEMBLY - CERTIFICATION ECU)


    1. Disconnect the L11 No. 1 indoor electrical key antenna assembly (front floor) connector.

    2. Disconnect the L197 certification ECU (smart key ECU assembly) connector.

    3. Measure the resistance according to the value(s) in the table below.

      Standard Resistance
      Tester Connection Condition Specified Condition
      L11-1 (ANTE5) - L197-3 (CLG5) Always Below 1 Ω
      L11-3 (CLGB) - L197-2 (CG5B) Always Below 1 Ω
      L11-1 (ANTE5) or L197-3 (CLG5) - Body ground Always 10 kΩ or higher
      L11-3 (CLGB) or L197-2 (CG5B) - Body ground Always 10 kΩ or higher

    NG
    OK
  6. CHECK CERTIFICATION ECU (SMART KEY ECU ASSEMBLY) (OUTPUT TO NO. 1 INDOOR ELECTRICAL KEY ANTENNA)


    1. B005Z6EE02
      Text in Illustration
      *1 Waveform
      *a

      Front view of wire harness connector

      (to No. 1 Indoor Electrical Key Antenna [Front Floor])

      *b Within approximately 30 seconds from when the door is closed
      *c After approximately 30 seconds from when the door is closed

      Disconnect the L11 No. 1 indoor electrical key antenna assembly (front floor) connector.

    2. Connect the L197 certification ECU (smart key ECU assembly) connector.

    3. Using an oscilloscope, check the waveform.

      OK
      Tester Connection Condition Tool Setting Specified Condition
      L11-1 (ANTE5) - L11-3 (CLGB)

      Procedure:


      1. Power switch off

      2. Electrical key transmitter sub-assembly not inside vehicle

      3. Door is open

      4. Door is closed

      5. Within 30 seconds

      2 V/DIV., 500 ms/DIV. Pulse generation (See waveform)

    NG
    OK
  7. REPLACE NO. 1 INDOOR ELECTRICAL KEY ANTENNA ASSEMBLY (FRONT FLOOR)


    1. Temporarily replace the No. 1 indoor electrical key antenna assembly (front floor) with a new or known good one Click here.


    NEXT
  8. CHECK KEY DIAGNOSTIC MODE


    1. Check the following antenna in the key diagnostic mode Click here.

      Tech Tips

      If the buzzer sounds with [CH1] displayed but not with [CH2], the electrical key transmitter cannot be detected by channel 2 due to a malfunction, such as wave interference.


      1. B005Y1AE01
        Text in Illustration
        *a Inspection Point

        Check the No. 1 indoor electrical key antenna assembly (front floor).

        When the electrical key transmitter sub-assembly is at the inspection point, check that the wireless door lock buzzer sounds.

        OK
        Wireless door lock buzzer sounds.

    OK
    NG
  9. CHECK HARNESS AND CONNECTOR (NO. 3 INDOOR ELECTRICAL KEY ANTENNA ASSEMBLY - CERTIFICATION ECU)


    1. Disconnect the R10 No. 3 indoor electrical key antenna assembly (rear floor) connector.

    2. Disconnect the L196 certification ECU (smart key ECU assembly) connector.

    3. Measure the resistance according to the value(s) in the table below.

      Standard Resistance
      Tester Connection Condition Specified Condition
      R10-1 (ANTE6) - L196-11 (CLG6) Always Below 1 Ω
      R10-3 (CLGB) - L196-10 (CG6B) Always Below 1 Ω
      R10-1 (ANTE6) or L196-11 (CLG6) - Body ground Always 10 kΩ or higher
      R10-3 (CLGB) or L196-10 (CG6B) - Body ground Always 10 kΩ or higher

    NG
    OK
  10. CHECK CERTIFICATION ECU (SMART KEY ECU ASSEMBLY) (OUTPUT TO NO. 3 INDOOR ELECTRICAL KEY ANTENNA)


    1. B005Z66E02
      Text in Illustration
      *1 Waveform
      *a

      Front view of wire harness connector

      (to No. 3 Indoor Electrical Key Antenna (Rear Floor))

      *b Within approximately 30 seconds from when the door is closed
      *c After approximately 30 seconds from when the door is closed

      Disconnect the R10 No. 3 indoor electrical key antenna assembly (rear floor) connector.

    2. Connect the L196 certification ECU (smart key ECU assembly) connector.

    3. Using an oscilloscope, check the waveform.

      OK
      Tester Connection Condition Tool Setting Specified Condition
      R10-1 (ANTE6) - R10-3 (CLGB)

      Procedure:


      1. Power switch off

      2. Electrical key transmitter sub-assembly not inside vehicle

      3. Door is open

      4. Door is closed

      5. Within 30 seconds

      2 V/DIV., 500 ms/DIV. Pulse generation (See waveform)

    NG
    OK
  11. REPLACE NO. 3 INDOOR ELECTRICAL KEY ANTENNA ASSEMBLY (REAR FLOOR)


    1. Temporarily replace the No. 3 indoor electrical key antenna assembly (rear floor) with a new or known good one Click here.


    NEXT
  12. CHECK KEY DIAGNOSTIC MODE


    1. Check the following antenna in the key diagnostic mode Click here.

      Tech Tips

      If the buzzer sounds with [CH1] displayed but not with [CH2], the electrical key transmitter cannot be detected by channel 2 due to a malfunction, such as wave interference.


      1. B005XTDE01
        Text in Illustration
        *a Inspection Point

        Check the No. 3 indoor electrical key antenna assembly (rear floor).

        When the electrical key transmitter sub-assembly is at the inspection point, check that the wireless door lock buzzer sounds.

        OK
        Wireless door lock buzzer sounds.

    OK
    NG
  13. CHECK HARNESS AND CONNECTOR (NO. 2 INDOOR ELECTRICAL KEY ANTENNA ASSEMBLY - CERTIFICATION ECU)


    1. Disconnect the S26 No. 2 indoor electrical key antenna assembly (inside luggage) connector.

    2. Disconnect the L196 certification ECU (smart key ECU assembly) connector.

    3. Measure the resistance according to the value(s) in the table below.

      Standard Resistance
      Tester Connection Condition Specified Condition
      S26-1 (ANTE7) - L196-9 (CLG7) Always Below 1 Ω
      S26-3 (CLGB) - L196-8 (CG7B) Always Below 1 Ω
      S26-1 (ANTE7) or L196-9 (CLG7) - Body ground Always 10 kΩ or higher
      S26-3 (CLGB) or L196-8 (CG7B) - Body ground Always 10 kΩ or higher

    NG
    OK
  14. CHECK CERTIFICATION ECU (SMART KEY ECU ASSEMBLY) (OUTPUT TO NO. 2 INDOOR ELECTRICAL KEY ANTENNA)


    1. B005Z62E02
      Text in Illustration
      *1 Waveform
      *a

      Front view of wire harness connector

      (to No. 2 Indoor Electrical Key Antenna (Inside Luggage))

      *b Within approximately 30 seconds from when the door is closed
      *c After approximately 30 seconds from when the door is closed

      Disconnect the S26 No. 2 indoor electrical key antenna assembly (inside luggage) connector.

    2. Connect the L196 certification ECU (smart key ECU assembly) connector.

    3. Using an oscilloscope, check the waveform.

      OK
      Tester Connection Condition Tool Setting Specified Condition
      S26-1 (ANTE7) - S26-3 (CLGB)

      Procedure:


      1. Power switch off

      2. Electrical key transmitter sub-assembly not inside vehicle

      3. Door is open

      4. Door is closed

      5. Within 30 seconds

      2 V/DIV., 500 ms/DIV. Pulse generation (See waveform)

    NG
    OK
  15. REPLACE NO. 2 INDOOR ELECTRICAL KEY ANTENNA ASSEMBLY (INSIDE LUGGAGE)


    1. Temporarily replace the No. 2 indoor electrical key antenna assembly (inside luggage) with a new or known good one Click here.


    NEXT
  16. CHECK KEY DIAGNOSTIC MODE


    1. Check the following antenna in the key diagnostic mode Click here.


      1. B005XTDE01
        Text in Illustration
        *a Inspection Point

        Check the No. 2 indoor electrical key antenna assembly (inside luggage).

        When the electrical key transmitter sub-assembly is at the inspection point, check that the wireless door lock buzzer sounds.

        OK
        Wireless door lock buzzer sounds.

    OK
    NG