RADIATOR ON-VEHICLE INSPECTION

CAUTION / NOTICE / HINT

CAUTION:

Do not remove the radiator cap sub-assembly, cylinder block water drain cock plug or radiator drain cock plug while the engine and radiator assembly are still hot. Pressurized, hot engine coolant and steam may be released and cause serious burns.

B0069BK

PROCEDURE


  1. INSPECT RADIATOR CAP SUB-ASSEMBLY

    CAUTION:

    Do not remove the radiator cap sub-assembly while the engine and radiator assembly are still hot. Pressurized, hot engine coolant and steam may be released and cause serious burns.


    1. Measure the valve opening pressure.


      1. A01SBTHN01

        If there are water stains or foreign matter on rubber packing 1, 2 or 3, clean it by using water and finger scouring.

      2. Check that rubber packing 1, 2 and 3 are not deformed, cracked or swollen.

      3. Check that rubber packing 3 and 4 are not stuck together.

      4. Apply engine coolant to rubber packing 2 and 3.

      5. A01SC9WC04
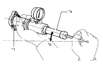
        *1 Radiator Cap Sub-assembly
        *a Radiator Cap Tester
        *b 30° or more

        When using the radiator cap tester, tilt it 30° or more.

      6. Pump the radiator cap tester several times and check the maximum pressure.*1

        Pumping speed
        1 pump per second

        Tech Tips

        *1: Even if the cap cannot maintain the maximum pressure, it is not necessarily defective.

        Standard Judgment Criterion
        Item Specified Condition

        Standard Value

        (for Brand-new Cap)

        93 to 123 kPa (1.0 to 1.3 kgf/cm2, 13.5 to 18 psi)

        Minimum Standard Value

        (for Used Cap)

        79 kPa (0.8 kgf/cm2, 11.4 psi)

        If the maximum pressure is less than the minimum standard value, replace the radiator cap sub-assembly.

  2. INSPECT FINS FOR BLOCKAGE


    1. If the fins are clogged, wash them with water or a steam cleaner and dry them with compressed air.

      Note


      • To avoid damaging the fins, the injection direction should be at right angles to the core surface.

      • If the steam cleaner is too close to the core, there is a possibility of damaging the fins, so keep the following injection distances.

        Standard Injection Distance
        Injection Pressure Specified Condition

        2942 to 4903 kPa

        (30.0 to 50.0 kgf/cm2, 427 to 711 psi)

        300 mm (11.8 in.)

        4903 to 7845 kPa

        (50.0 to 80.0 kgf/cm2, 711 to 1138 psi)

        500 mm (19.7 in.)
      • If the fins are bent, straighten them with a screwdriver or pliers.

      • Do not expose electronic components to water.

    2. Dry the fins with compressed air.