ТОПЛИВНАЯ СИСТЕМА ОПИСАНИЕ ТОПЛИВНОГО НАСОСА

  1. КОНСТРУКЦИЯ

    1. Используется компактный топливный насос (низкого давления) используется. К основным узлам относятся топливный насос, топливный фильтр, 2 главных топливных клапана в сборе и датчик уровня топлива в сборе.

    2. Топливный насос (низкого давления) расположен в топливном баке в сборе. Данный топливный насос подает топливо из топливного бака в сборе в топливный насос высокого давления и топливную систему низкого давления.

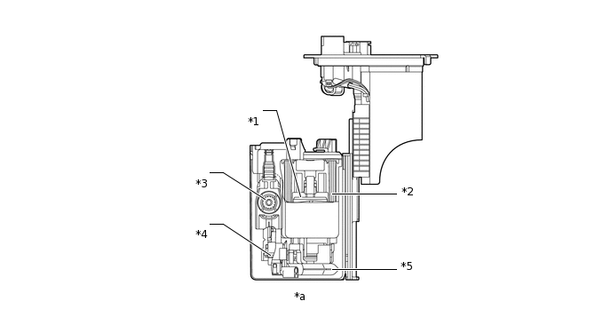
      Figure 1. Для моделей без модуля насоса адсорбера
      W136633C01

      *1

      Топливный насос (со стороны низкого давления)

      *2

      Топливный фильтр

      *3

      Главный топливный клапан в сборе (в контуре высокого давления)

      *4

      Главный топливный клапан в сборе (в контуре низкого давления)

      *5

      Топливный фильтр

      -

      -

      *a

      Поперечное сечение

      -

      -

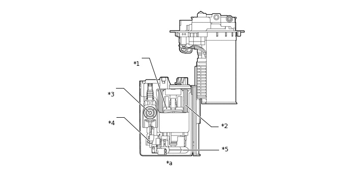
      Figure 2. Для моделей с модулем насоса адсорбера
      W135860C01

      *1

      Топливный насос (со стороны низкого давления)

      *2

      Топливный фильтр

      *3

      Главный топливный клапан в сборе (в контуре высокого давления)

      *4

      Главный топливный клапан в сборе (в контуре низкого давления)

      *5

      Топливный фильтр

      -

      -

      *a

      Поперечное сечение

      -

      -